LEMON Manuals: Even more car manuals for everyone
Home >> Jeep >> 2007 >> Commander Base, 4.7 P, AWD >> Repair and Diagnosis (Single Page) >> Transmission >> Transfer Case >> (Transfer Case - Electrical Diagnostics) >> Transfer Case - Electrical Diagnostics >> DTC Troubleshooting >> C140A-Transfer Case Motor Performance >> Diagnostic Test

Diagnostic Test

  1. 1) CHECK DTC CONDITIONS 
    NOTE: If both DTCs C140A and C1415 are present, check the FDCM fuse and B(+) supply to the Integrated Power Module (IPM) before continuing with diagnosis.

    Ignition on, engine not running.

    With the scan tool, read DTCs in the Final Drive Control Module.

    Pick the answer that best describes DTC condition? 

    If DTCs C140A and C1415 are both present, 

    1. Go to  2).

    If DTC C140A is active, 

    1. Go to  4).

    If DTC C140A is stored (not active), 

    1. Go to  10).
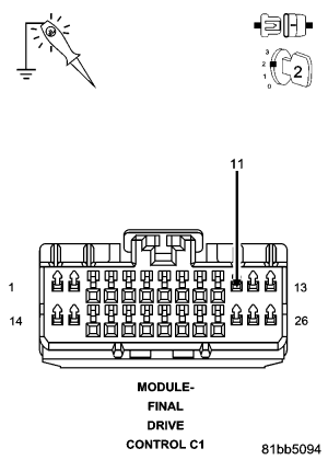
  2. 2) (A909) FUSED B(+) CIRCUIT FOR VOLTAGE 
    Fig 1: Checking Fused B(+) Circuit For Voltage
    GC0058615Courtesy of CHRYSLER LLC

    Turn the ignition off to the lock position

    Disconnect the FDCM C1 harness connector.

    Ignition on, engine not running.

    Using a 12-volt test light connected to ground, check the (A909) Fused B(+) circuit in the FDCM harness connector.

    NOTE: The test light must illuminate brightly. Compare the brightness to that of a direct connection to the battery.

    Does the test light illuminate brightly? 

    Yes 

    1. Go to  4).

    No 

    1. Go to  3).
  3. 3) (A909) FUSED B(+) CIRCUIT FOR AN OPEN 
    Fig 2: Measuring Resistance Of Fused B(+) Circuit
    GC0058616Courtesy of CHRYSLER LLC

    Turn the ignition off to the lock position

    Disconnect the IPM C1 harness connector.

    Measure the resistance of the (A909) Fused B(+) circuit between the IPM C1 harness connector and the FDCM C1 harness connector.

    Is the resistance above 5.0 ohms? 

    Yes 

    1. Repair the (A909) Fused B(+) circuit for an open.
    2. Perform TRANSFER CASE VERIFICATION TEST .

    No 

    1. Replace the Integrated Power Module in accordance with the Service Information.
    2. Perform TRANSFER CASE VERIFICATION TEST .
  4. 4) (T315) SHIFT MOTOR CONTROL A CIRCUIT SHORTED TO VOLTAGE 
    Fig 3: Checking Shift Motor Control A Circuit For Short To Voltage
    GC0027393Courtesy of CHRYSLER LLC

    Turn the ignition off to the lock position

    Disconnect the Transfer Case Motor harness connector.

    Ignition on, engine not running.

    Measure the voltage of the (T315) Shift Motor Control A circuit.

    Is there any voltage present? 

    Yes 

    1. Repair the (T315) Shift Motor Control A circuit for a short to voltage.
    2. Perform TRANSFER CASE VERIFICATION TEST .

    No 

    1. Go to  5).
  5. 5) (T316) SHIFT MOTOR CONTROL B CIRCUIT SHORTED TO VOLTAGE 
    Fig 4: Checking Shift Motor Control B Circuit For Short To Voltage
    GC0027394Courtesy of CHRYSLER LLC

    Measure the voltage of the (T316) Shift Motor Control B circuit.

    Is there any voltage present? 

    Yes 

    1. Repair the (T316) Shift Motor Control B circuit for a short to voltage.
    2. Perform TRANSFER CASE VERIFICATION TEST .

    No 

    1. Go to  6).
  6. 6) (T315) SHIFT MOTOR CONTROL A CIRCUIT SHORTED TO GROUND 
    Fig 5: Checking Shift Motor Control A Circuit For Short To Ground
    GC0027395Courtesy of CHRYSLER LLC

    Measure the resistance between ground and the (T315) Shift Motor Control A circuit.

    Is the resistance below 5.0 ohms? 

    Yes 

    1. Repair the (T315) Shift Motor Control A circuit for a short to ground.
    2. Perform TRANSFER CASE VERIFICATION TEST .

    No 

    1. Go to  7).
  7. 7) (T316) SHIFT MOTOR CONTROL B CIRCUIT SHORTED TO GROUND 
    Fig 6: Checking Shift Motor Control B Circuit For Short To Ground
    GC0027396Courtesy of CHRYSLER LLC

    Measure the resistance between ground and the (T316) Shift Motor Control B circuit.

    Is the resistance below 5.0 ohms? 

    Yes 

    1. Repair the (T316) Shift Motor Control B circuit for a short to ground.
    2. Perform TRANSFER CASE VERIFICATION TEST .

    No 

    1. Go to  8).
  8. 8) (T315) SHIFT MOTOR CONTROL A CIRCUIT SHORTED TO (T316) SHIFT MOTOR CONTROL B CIRCUIT 
    Fig 7: Checking Shift Motor Control A Circuit For Short To Shift Motor Control B Circuit
    GC0027397Courtesy of CHRYSLER LLC

    Measure the resistance between the (T315) Shift Motor Control A circuit and the (T316) Shift Motor Control B circuit at the Transfer Case Motor harness connector.

    Is the resistance below 5.0 ohms? 

    Yes 

    1. Repair the (T315) Shift Motor Control A circuit for a short to the (T316) Shift Motor Control B circuit.
    2. Perform TRANSFER CASE VERIFICATION TEST .

    No 

    1. Go to  9).
  9. 9) TRANSFER CASE MOTOR 

    At the Transfer Case Motor, measure the resistance between the (T315) Shift Motor Control A circuit and the (T316) Shift Motor Control B circuit.

    Is the resistance below 5.0 ohms? 

    Yes 

    1. Replace the shorted Transfer Case Motor in accordance with the Service Information.
    2. Perform TRANSFER CASE VERIFICATION TEST .

    No 

    1. Replace the Final Drive Control Module in accordance with the Service Information.
    2. Perform TRANSFER CASE VERIFICATION TEST .
  10. 10) INTERMITTENT WIRING AND CONNECTORS 

    The conditions necessary to set this DTC are not present at this time.

    Using the wiring diagram/schematic as a guide, inspect the wiring and connectors.

    While monitoring the scan tool data relative to this circuit, wiggle test the wiring and connectors.

    Look for the data to change or for the DTC to reset during the wiggle test.

    Were any problems found? 

    Yes 

    1. Repair as necessary.
    2. Perform TRANSFER CASE VERIFICATION TEST .

    No 

    1. Test complete.