LEMON Manuals: Even more car manuals for everyone
Home >> Jeep >> 2007 >> Commander Base, 4.7 P, AWD >> Repair and Diagnosis (Single Page) >> Engine Performance >> System >> DTCS P0503 To P0580 >> P0579-Speed Control Switch 1 Performance >> Diagnostic Test

Diagnostic Test

  1. 1) ACTIVE DTC 

    Start the engine and allow it to idle for at least 60 seconds.

    WARNING: When the engine is operating, do not stand in direct line with the fan. Do not put your hands near the pulleys, belts, or fan. Do not wear loose clothing. Failure to follow these instructions can result in personal injury or death.
    NOTE: It may be necessary to test drive the vehicle and operate the speed control in order for this DTC to set.

    With a scan tool, select View DTCs.

    Is the DTC Active at this time? 

    Yes 

    1. Go to  2).

    No 

    1. Refer to INTERMITTENT CONDITION Diagnostic Procedure.
  2. 2) SPEED CONTROL SWITCH 

    Turn the ignition off.

    Remove and disconnect the Speed Control Switches from the steering wheel per Service Information.

    Measure the resistance across each Speed Control Switch.

    Monitor the ohmmeter while pressing each function button on each switch.

    The following resistance specs are taken between terminals (V371) S/C Switch No. 1 Signal and (V397) S/C Switch Return circuits of the Switch when holding the switch button in the following position

    Not pressing any switch - 20.5 kohms

    On/Off - 0.47 kohms

    Set - 5.49 kohms

    Coast - 2.94 kohms

    Cancel - 1.24 kohms

    Resume/Accel - 15.4 kohms

    Does the function on the Speed Control Switches have the correct resistance value? 

    Yes 

    1. Go to  3).

    No 

    1. Replace the Speed Control Switch that had the incorrect resistance value.
    2. Perform POWERTRAIN VERIFICATION TEST .
  3. 3) (V371) S/C SWITCH NO. 1 SIGNAL CIRCUIT SHORTED TO BATTERY VOLTAGE 
    Fig 1: Checking Speed Control Switch No. 1 Signal Circuit Shorted To Battery Voltage
    GC0027151Courtesy of CHRYSLER LLC

    Disconnect the C3 PCM harness connector.

    Disconnect the C3 Steering Column Control Module harness connector.

    Ignition on, engine not running.

    Measure the voltage on the (V371) S/C Switch No. 1 Signal circuit in the S/C Switch harness connectors.

    Is the voltage above 0 volts? 

    Yes 

    1. Repair the short to battery voltage in the (V371) S/C Switch No. 1 Signal circuit.
    2. Perform POWERTRAIN VERIFICATION TEST .

    No 

    1. Go to  4).
  4. 4) (V71) S/C SWITCH NO. 1 SIGNAL CIRCUIT SHORTED TO BATTERY VOLTAGE 
    Fig 2: Checking Speed Control Switch No. 1 Signal Circuit
    GC0027152Courtesy of CHRYSLER LLC

    Disconnect the C1 Steering Column Control Module harness connector per Service Information.

    Ignition on, engine not running.

    Measure the voltage on the (V71) S/C Switch No. 1 Signal circuit in the C1 SCCM harness connector.

    Is the voltage above 0 volts? 

    Yes 

    1. Repair the short to battery voltage in the (V71) S/C Switch No. 1 Signal circuit.
    2. Perform POWERTRAIN VERIFICATION TEST .

    No 

    1. Go to  5).
  5. 5) STEERING COLUMN CONTROL MODULE 

    Turn the ignition off.

    Measure the resistance of the (V371), (V71) S/C Switch No. 1 Signal circuit between the C1 and C3 SCCM connections.

    Measure the resistance of the (V397), (V937) Switch Return circuit between the C1 and C3 SCCM connections.

    Is the resistance above 5.0 ohms for either reading? 

    Yes 

    1. Replace the Steering Column Control Module per Service Information.
    2. Perform POWERTRAIN VERIFICATION TEST .

    No 

    1. Go to  6).
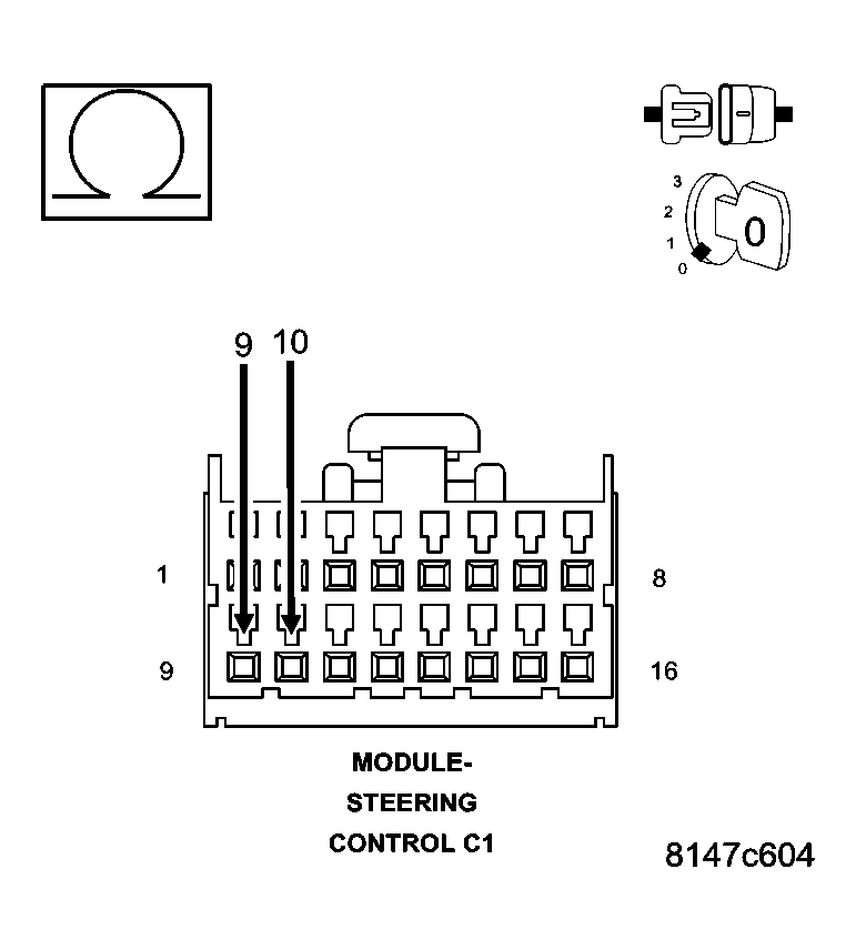
  6. 6) (V371) S/C SWITCH NO. 1 SIGNAL CIRCUIT OPEN 
    Fig 3: Checking Speed Control Switch No. 1 Signal Circuit
    GC0027153Courtesy of CHRYSLER LLC
    NOTE: The measurement must be taken from both Speed Control Switch harness connectors.

    Measure the resistance of the (V371) S/C Switch No. 1 Signal circuit from the Speed Control Switches to the C3 SCCM harness connector.

    Is the resistance below 5.0 ohms for each measurement? 

    Yes 

    1. Go to  7).

    No 

    1. Repair the open in the (V371) S/C Switch No. 1 Signal circuit.
    2. Perform POWERTRAIN VERIFICATION TEST .
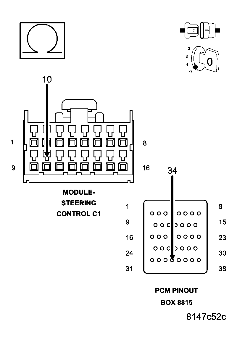
  7. 7) (V71) S/C SWITCH NO. 1 SIGNAL CIRCUIT OPEN 
    Fig 4: Checking Speed Control Switch No. 1 Signal Circuit
    GC0027154Courtesy of CHRYSLER LLC
    CAUTION: Do not probe the PCM harness connectors. Probing the PCM harness connectors will damage the PCM terminals resulting in poor terminal to pin connection. Install Miller Special Tool #8815 to perform diagnosis.

    Measure the resistance of the (V71) S/C Switch No. 1 Signal circuit from the C1 SCCM harness connector to the appropriate terminal of special tool #8815.

    Is the resistance below 5.0 ohms for both measurements? 

    Yes 

    1. Go to  8).

    No 

    1. Repair the open in the (V71) S/C Switch No. 1 Signal circuit.
    2. Perform POWERTRAIN VERIFICATION TEST .
  8. 8) (V397) SWITCH RETURN CIRCUIT OPEN 
    Fig 5: Checking Speed Control Switch Return Circuit
    GC0027155Courtesy of CHRYSLER LLC
    NOTE: The measurement must be taken from both Speed Control Switch harness connectors.

    Measure the resistance of the (V397) Switch Return circuit from the S/C Switch harness connectors to the C3 SCCM harness connector.

    Is the resistance below 5.0 ohms for each measurement? 

    Yes 

    1. Go to  9).

    No 

    1. Repair the open in the (V397) Switch Return circuit.
    2. Perform POWERTRAIN VERIFICATION TEST .
  9. 9) (V937) SWITCH RETURN CIRCUIT OPEN 
    Fig 6: Checking Speed Control Switch Return Circuit
    GC0027156Courtesy of CHRYSLER LLC

    Measure the resistance of the (V937) Switch Return circuit from the C1 SCCM harness connector to the appropriate terminal of special tool #8815.

    Is the resistance below 5.0 ohms for both measurements? 

    Yes 

    1. Go to  10).

    No 

    1. Repair the open in the (V937) Switch Return circuit.
    2. Perform POWERTRAIN VERIFICATION TEST .
  10. 10) (V71) S/C NO. 1 SWITCH SIGNAL CIRCUIT SHORTED TO GROUND 
    Fig 7: Checking Speed Control Switch No. 1 Signal Circuit
    GC0027158Courtesy of CHRYSLER LLC

    Measure the resistance between ground and the (V71) S/C Switch No. 1 Signal circuit in the C1 SCCM harness connector.

    Is the resistance below 100 ohms? 

    Yes 

    1. Repair the short to ground in the (V71) S/C Switch No. 1 Signal circuit.
    2. Perform POWERTRAIN VERIFICATION TEST .

    No 

    1. Go to  11).
  11. 11) (V371) S/C NO. 1 SWITCH SIGNAL CIRCUIT SHORTED TO GROUND 
    Fig 8: Checking Speed Control Switch No. 1 Signal Circuit Shorted To Ground
    GC0027157Courtesy of CHRYSLER LLC

    Measure the resistance between ground and the (V371) S/C Switch No. 1 Signal circuit in the S/C Switch harness connectors.

    Is the resistance below 100 ohms? 

    Yes 

    1. Repair the short to ground in the (V371) S/C Switch No. 1 Signal circuit.
    2. Perform POWERTRAIN VERIFICATION TEST .

    No 

    1. Go to  12).
  12. 12) (V371) S/C SWITCH NO. 1 SIGNAL CIRCUIT SHORTED TO THE (V397) S/C SWITCH RETURN CIRCUIT 
    Fig 9: Checking Speed Control Switch No. 1 Signal Circuit Shorted To Return Circuit
    GC0027159Courtesy of CHRYSLER LLC

    Measure the resistance between the (V371) S/C Switch No. 1 Signal circuit and the (V397) S/C Switch Return circuit in the S/C Switch harness connectors.

    Is the resistance below 5.0 ohms? 

    Yes 

    1. Repair the short between the (V371) S/C Switch No. 1 Signal circuit and the (V397) Switch Return circuit.
    2. Perform POWERTRAIN VERIFICATION TEST .

    No 

    1. Go to  13).
  13. 13) (V71) S/C SWITCH NO. 1 SIGNAL CIRCUIT SHORTED TO THE (V937) S/C SWITCH RETURN CIRCUIT 
    Fig 10: Checking Speed Control Switch No. 1 Signal Circuit & Return Circuit
    GC0027160Courtesy of CHRYSLER LLC

    Measure the resistance between the (V71) S/C Switch No. 1 Signal circuit and the (V937) S/C Switch Return circuit in the C1 SCCM harness connector.

    Is the resistance below 5.0 ohms? 

    Yes 

    1. Repair the short between the (V71) S/C Switch No. 1 Signal circuit and the (V937) Switch Return circuit.
    2. Perform POWERTRAIN VERIFICATION TEST .

    No 

    1. Go to  14).
  14. 14) SPEED CONTROL SWITCH VOLTAGE VALUES 
    CAUTION: Do not probe the PCM harness connectors. Probing the PCM harness connectors will damage the PCM terminals resulting in poor terminal to pin connection. Install Miller Special Tool #8815 and #8815-1 to perform diagnosis.

    Using a voltmeter check the voltage on the (V37) S/C Switch No. 1 Signal circuit and the (V38) S/C Switch No. 2 Signal circuit at the appropriate terminals of the special tool #8815.

    WARNING: When the engine is operating, do not stand in direct line with the fan. Do not put your hands near the pulleys, belts, or fan. Do not wear loose clothing. Failure to follow these instructions can result in personal injury or death.

    Start the engine and allow it to reach normal operating temperature.

    Monitor the voltmeter.

    Allow the engine to idle.

    With a scan tool, monitor the S/C Switch voltage readings.

    SWITCH POSITION  SWITCH No. 1 VOLTAGE VALUE  SWITCH No. 2 VOLTAGE VALUE 
    NO SWITCHES PRESSED 4.31 to 4.78 volts 4.31 to 4.78 volts
    ON/OFF PRESSED 0.59 to 1.13 volts 3.53 to 3.92 volts
    RES/ACCEL PRESSED 3.88 to 4.17 volts 2.04 to 2.47 volts
    SET PRESSED 3.16 to 3.56 volts 1.17 to 1.56 volts
    COAST PRESSED 2.57 to 2.94 volts 0.77 to 1.09 volts
    CANCEL PRESSED 1.59 to 1.99 volts 2.84 to 3.25 volts

    Compare the voltage readings on the voltmeter to what the scan tool displayed.

    Are the voltage readings out of the listed specification and is there less than a 0.2 of a volt difference between the voltmeter switch values and the scan tool switch value? 

    Yes 

    1. Replace the Speed Control Switch.
    2. Perform POWERTRAIN VERIFICATION TEST .

    No 

    1. Go to  15).
  15. 15) PCM 
    NOTE: Before continuing, check the PCM harness connector terminals for corrosion, damage, or terminal push out. Repair as necessary.

    Using the schematics as a guide, inspect the wire harness and connectors. Pay particular attention to all Power and Ground circuits.

    Were there any problems found? 

    Yes 

    1. Repair as necessary.
    2. Perform POWERTRAIN VERIFICATION TEST .

    No 

    1. Replace and program the Powertrain Control Module per Service Information.
    2. Perform POWERTRAIN VERIFICATION TEST .