LEMON Manuals: Even more car manuals for everyone
Home >> Jeep >> 2007 >> Commander Base, 4.7 P, AWD >> Repair and Diagnosis (Single Page) >> Engine Performance >> System >> DTCS P0016 To P0122, Pre-Diagnostic Troubleshooting Procedure, Intermittent Condition >> P0113-Intake Air Temperature Sensor Circuit High >> Diagnostic Test

Diagnostic Test

  1. 1) ACTIVE DTC 

    Start the engine and allow it to reach normal operating temperature.

    WARNING: When the engine is operating, do not stand in direct line with the fan. Do not put your hands near the pulleys, belts, or fan. Do not wear loose clothing. Failure to follow these instructions can result in personal injury or death.
    NOTE: Diagnose and repair any system voltage DTCs before continuing with this test.

    With a scan tool, select View DTCs.

    Is the DTC Active at this time? 

    Yes 

    1. Go to  2).

    No 

    1. Refer to INTERMITTENT CONDITION .
  2. 2) IAT SENSOR 
    Fig 1: Checking Intake Air Temperature Sensor Signal Circuit & Ground Circuit
    GC0002657Courtesy of CHRYSLER LLC

    Turn the ignition off.

    Disconnect the Intake Air Temperature Sensor harness connector.

    Ignition on, engine not running.

    With a scan tool, read the IAT Sensor voltage.

    Connect a jumper wire between the (K21) IAT Signal circuit and the (K900) Sensor ground circuit in the IAT Sensor harness connector.

    NOTE: The sensor voltage should be approximately 0.0 volts (plus or minus .1 volt) with the jumper wire in place.

    Does the scan tool display the voltage as described above? 

    Yes 

    1. Verify that there is good pin to terminal contact in the IAT Sensor and Powertrain Control Module connectors. If OK, replace the IAT Sensor.
    2. Perform POWERTRAIN VERIFICATION TEST .

    No 

    1. Go to  3).
      NOTE: Remove the jumper wire before continuing.
  3. 3) (K21) IAT SIGNAL CIRCUIT SHORTED TO VOLTAGE 
    Fig 2: Checking Intake Air Temperature Sensor Signal Circuit
    GC0044744Courtesy of CHRYSLER LLC

    Turn the ignition off.

    Disconnect the C2 PCM harness connector.

    Ignition on, engine not running.

    Measure the voltage on the (K21) IAT Signal circuit in the IAT Sensor harness connector.

    Is there any voltage present? 

    Yes 

    1. Repair the short to voltage in the (K21) IAT Signal circuit.
    2. Perform POWERTRAIN VERIFICATION TEST .

    No 

    1. Go to  4).
  4. 4) (K21) IAT SIGNAL CIRCUIT OPEN 
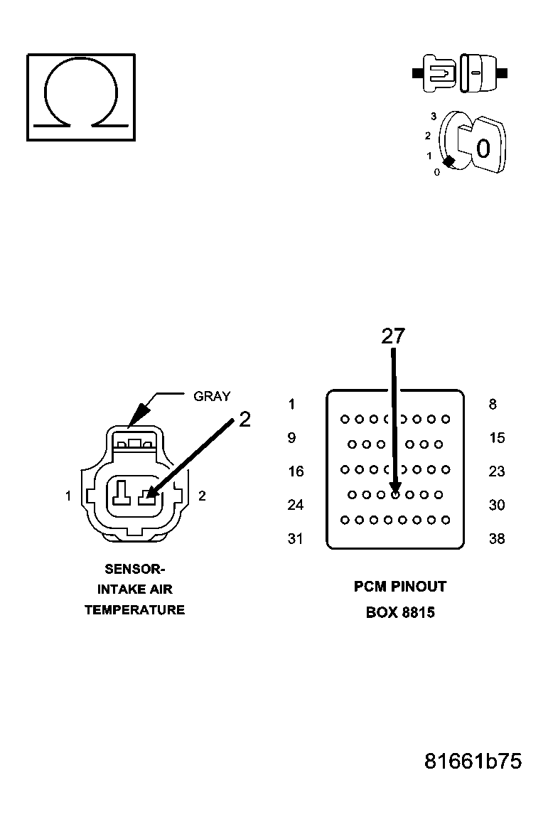
    Fig 3: Checking Intake Air Temperature Sensor Signal Circuit
    GC0044745Courtesy of CHRYSLER LLC

    Turn the ignition off.

    CAUTION: Do not probe the PCM harness connectors. Probing the PCM harness connectors will damage the PCM terminals resulting in poor terminal to pin connection. Install Miller Special Tool #8815 to perform diagnosis.

    Measure the resistance of the (K21) IAT Signal circuit from the IAT Sensor harness connector to the appropriate terminal of special tool #8815.

    Is the resistance below 5.0 ohms? 

    Yes 

    1. Go to  5).

    No 

    1. Repair the open in the (K21) IAT Signal circuit.
    2. Perform POWERTRAIN VERIFICATION TEST .
  5. 5) (K900) SENSOR GROUND CIRCUIT OPEN 
    Fig 4: Checking Intake Air Temperature Sensor Ground Circuit
    GC0044746Courtesy of CHRYSLER LLC

    Measure the resistance of the (K900) Sensor ground circuit from the IAT Sensor harness connector to the appropriate terminal of special tool #8815.

    Is the resistance below 5.0 ohms? 

    Yes 

    1. Go to  6).

    No 

    1. Repair the open in the (K900) Sensor ground circuit.
    2. Perform POWERTRAIN VERIFICATION TEST .
  6. 6) POWERTRAIN CONTROL MODULE (PCM) 

    Using the wiring diagram/schematic as a guide, inspect the wiring and connectors between the IAT Sensor and the Powertrain Control Module (PCM).

    Look for any chafed, pierced, pinched, or partially broken wires.

    Look for broken, bent, pushed out or corroded terminals. Verify that there is good pin to terminal contact in the IAT Sensor and Powertrain Control Module connectors.

    Refer to any Technical Service Bulletins that may apply.

    Were there any problems found? 

    Yes 

    1. Repair as necessary.
    2. Perform POWERTRAIN VERIFICATION TEST .

    No 

    1. Replace and program the Powertrain Control Module per Service Information.
    2. Perform POWERTRAIN VERIFICATION TEST .