LEMON Manuals: Even more car manuals for everyone
Home >> Jeep >> 2007 >> Commander Base, 4.7 P, AWD >> Repair and Diagnosis (Single Page) >> Brakes >> Traction Control >> Anti-Lock Brake System - Electrical Diagnostics >> Abs - Electrical Diagnostics >> DTC Troubleshooting >> Esp/TCS Switch Circuit >> Diagnostic Test

Diagnostic Test

  1. 1) ESP/TCS SWITCH CIRCUIT 
    NOTE: If any other DTCs are present they must be repaired before continuing.

    Turn the ignition on.

    Turn the ESP/TCS switch on then off.

    Check for car icon on solid in cluster and pressing ESP/TCS switch does not change state.

    With the scan tool, read the switch state for the ESP/TCS switch without pressing the switch, read and record DTCs.

    Does the scan tool display switch state indicating pressed? 

    Yes 

    1. Go to step  2).

    No 

    1. The condition that caused the symptom is currently not present. Inspect the related wiring for a possible intermittent condition. Look for any chafed, pierced, pinched, or partially broken wires.
    2. Refer to ABS-INTERMITTENT CONDITION TEST .
  2. 2) (Z906) OPEN CIRCUIT 
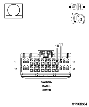
    Fig 1: Checking Ground Circuit With 12-Volt Test Light
    GC0053090Courtesy of CHRYSLER LLC

    Turn the ignition off.

    Disconnect the ESP/TCS switch.

    Using a 12-volt test light connected to 12-volts, check the (Z906) ground circuit.

    Does the test light illuminate brightly? 

    Yes 

    1. Go to step  3).

    No 

    1. Repair (Z906) ground circuit for an open circuit or high resistance.
    2. Perform ABS VERIFICATION TEST .
  3. 3) CHECK FOR A STUCK ESP/TCS SWITCH 
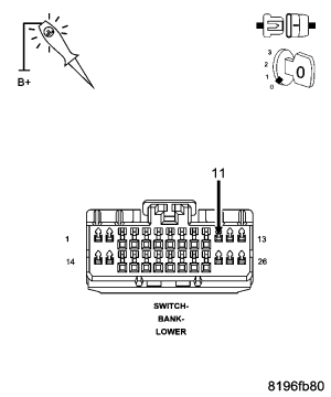
    Fig 2: Measuring Internal Resistance Of ESP/TCS Switch Between ESP/TCS Control Circuit & Ground Circuit
    GC0053091Courtesy of CHRYSLER LLC

    Turn the ignition off.

    Measure the internal resistance of the ESP/TCS Switch between the (B46) ESP/TCS control circuit and (Z906) Ground circuit.

    Is the resistance below 5.0 ohms? 

    Yes 

    1. Replace the ESP/TCS Switch in accordance with the Service Information.
    2. Perform ABS VERIFICATION TEST .

    No 

    1. Go to step  4).
  4. 4) ESP/TCS CONTROL CIRCUIT 
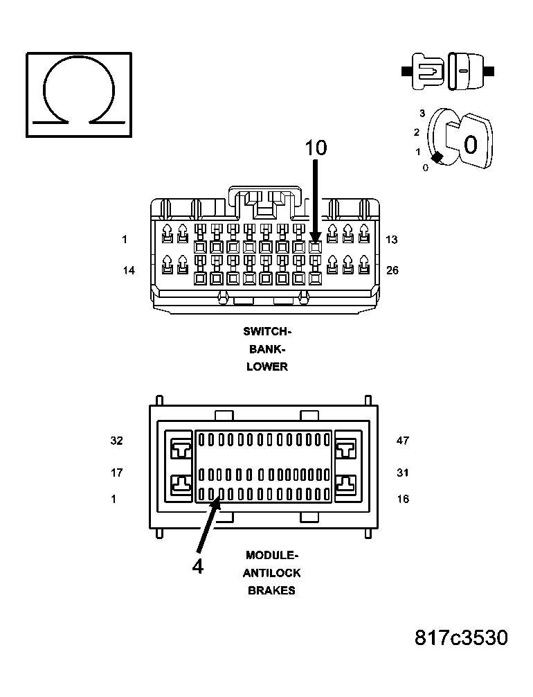
    Fig 3: Checking Resistance In ESP/TCS Control Circuit
    GC0044729Courtesy of CHRYSLER LLC

    Turn the ignition off.

    Disconnect the ESP/TCS Switch.

    Disconnect the Anti-Lock Brake Module harness connector.

    Measure the resistance of the (B46) ESP/TCS control circuit to ground.

    Is the resistance below 5.0 ohms? 

    Yes 

    1. Repair the (B46) ESP/TCS control circuit for a short to ground.
    2. Perform ABS VERIFICATION TEST .

    No 

    1. Replace the Anti-Lock Brake Module in accordance with the Service Information.
    2. Perform ABS VERIFICATION TEST .