LEMON Manuals: Even more car manuals for everyone
Home >> Jeep >> 2007 >> Commander Base, 4.7 P, AWD >> Repair and Diagnosis (Single Page) >> Accessories & Equipment >> Communication Devices >> Electronic Control Modules - Electrical Diagnostics >> Electronic Control Modules - Electrical Diagnostics >> DTC Troubleshooting >> *No Response From FCM (Front Control Module) >> Diagnostic Test

Diagnostic Test

  1. 1) TEST FOR INTERMITTENT CONDITION 

    Turn the ignition on.

    NOTE: Ensure the IOD fuse is installed and battery voltage is between 10.0 and 16.0 volts.
    NOTE: Ensure the scan tool is updated to the latest software.
    NOTE: If the scan tool displays any error messages involving the CAN C Diagnostic circuits, diagnose and repair the error message before proceeding. Refer to DIAGNOSTIC CODE INDEX  table.
    NOTE: A loss of communication with the FCM can cause the ECU View button on the scan tool to be inoperative (not highlighted).

    With the scan tool, attempt to select ECU view.

    Can the scan tool communicate with the FCM? 

    Yes 

    1. The no response condition is not present at this time. Using the wiring diagram/schematic as a guide, inspect the wiring for chafed, pierced, pinched, and partially broken wires and the wiring harness connectors for broken, bent, pushed out, and corroded terminals.

    No 

    1. Go to step  2).
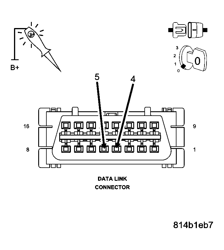
  2. 2) (A108) FUSED B(+) CIRCUIT OPEN AT DLC 
    Fig 1: Checking Fused B(+) Circuit
    GC0027519Courtesy of CHRYSLER LLC

    Turn the ignition off.

    Disconnect the scan tool from the DLC.

    Using a 12-volt test light connected to ground, check the (A108) Fused B(+) circuit.

    Does the test light illuminate brightly? 

    Yes 

    1. Go to step  3).

    No 

    1. Repair the (A108) Fused B(+) circuit for an open or short.
    2. Perform BODY VERIFICATION TEST .
  3. 3) (Z11) (Z111) GROUND CIRCUIT OPEN AT DLC 
    Fig 2: Checking Ground Circuit
    GC0027520Courtesy of CHRYSLER LLC

    Using a 12-volt test light connected to 12-volts, check the (Z11) and (Z111) ground circuits.

    Does the test light illuminate brightly for each circuit? 

    Yes 

    1. Go to step  4).

    No 

    1. Repair the ground circuit for an open.
    2. Perform BODY VERIFICATION TEST .
  4. 4) GROUND CIRCUITS OPEN AT FCM C1 CONNECTOR 
    Fig 3: Checking Ground Circuits
    GC0027521Courtesy of CHRYSLER LLC

    Disconnect the FCM C1 harness connector.

    Using a 12-volt test light connected to 12-volts, check each ground circuit.

    Does the test light illuminate brightly for each circuit? 

    Yes 

    1. Go to step  5).

    No 

    1. Repair the ground circuit for an open. Inspect the connector for damage.
    2. Perform BODY VERIFICATION TEST .
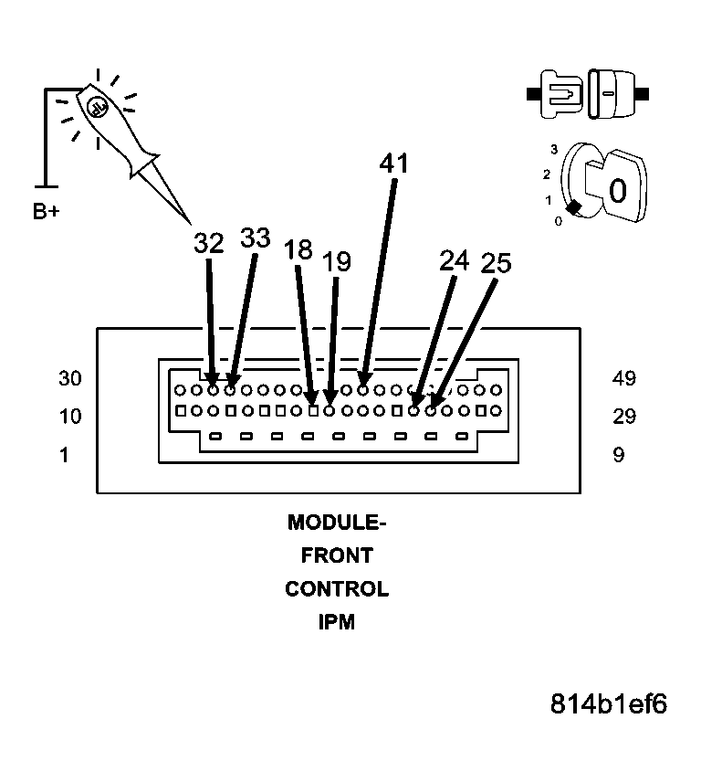
  5. 5) GROUND CIRCUITS OPEN AT FCM IPM CONNECTOR 
    Fig 4: Checking Ground Circuits
    GC0027522Courtesy of CHRYSLER LLC

    Remove the FCM from the IPM.

    Using a 12-volt test light connected to 12-volts, check each ground circuit.

    Does the test light illuminate brightly for each circuit? 

    Yes 

    1. Go to step  6).

    No 

    1. Repair the ground circuit for an open. Inspect the connector for damage.
    2. Perform BODY VERIFICATION TEST .
  6. 6) FUSED B(+) CIRCUITS OPEN AT FCM IPM CONNECTOR 
    Fig 5: Checking Fused B(+) Circuits
    GC0027523Courtesy of CHRYSLER LLC

    Using a 12-volt test light connected to ground, check each Fused B(+) circuit.

    Does the test light illuminate brightly for each circuit? 

    Yes 

    1. Replace and program the Front Control Module in accordance with the service information.
    2. Perform BODY VERIFICATION TEST .

    No 

    1. Repair the Fused B(+) circuit for an open. Inspect the connector for damage.
    2. Perform BODY VERIFICATION TEST .