LEMON Manuals: Even more car manuals for everyone
Home >> Jeep >> 2007 >> Commander Base, 4.7 P, AWD >> Repair and Diagnosis (Single Page) >> Accessories & Equipment >> Communication Devices >> Electronic Control Modules - Electrical Diagnostics >> Electronic Control Modules - Electrical Diagnostics >> DTC Troubleshooting >> *No Response From ECM (Engine Control Module) - Diesel >> Diagnostic Test

Diagnostic Test

  1. 1) TEST FOR INTERMITTENT CONDITION 

    Turn the ignition on.

    NOTE: Ensure the IOD fuse is installed and battery voltage is between 10.0 and 16.0 volts.

    With the scan tool, select ECU view.

    NOTE: A red X will be next to the module that is not communicating, indicating that the module is not active on the Bus network. A green check indicates that the module is active on the Bus network.
    NOTE: Check the FCM for any active CAN C hardware and any ignition related DTCs, perform DTCs before proceeding.

    Does the scan tool display a red X next to the module? 

    Yes 

    1. Go to step  2).

    No 

    1. The no response condition is not present at this time. Using the wiring diagram/schematic as a guide, inspect the wiring for chafed, pierced, pinched, and partially broken wires and the wiring harness connectors for broken, bent, pushed out, and corroded terminals.
  2. 2) CHECK ECM POWER AND GROUND 

    Check the ECM power and ground circuits.

    Were any problems found? 

    Yes 

    1. Repair as necessary.
    2. Perform ECM VERIFICATION TEST.

    No 

    1. Go to step  3).
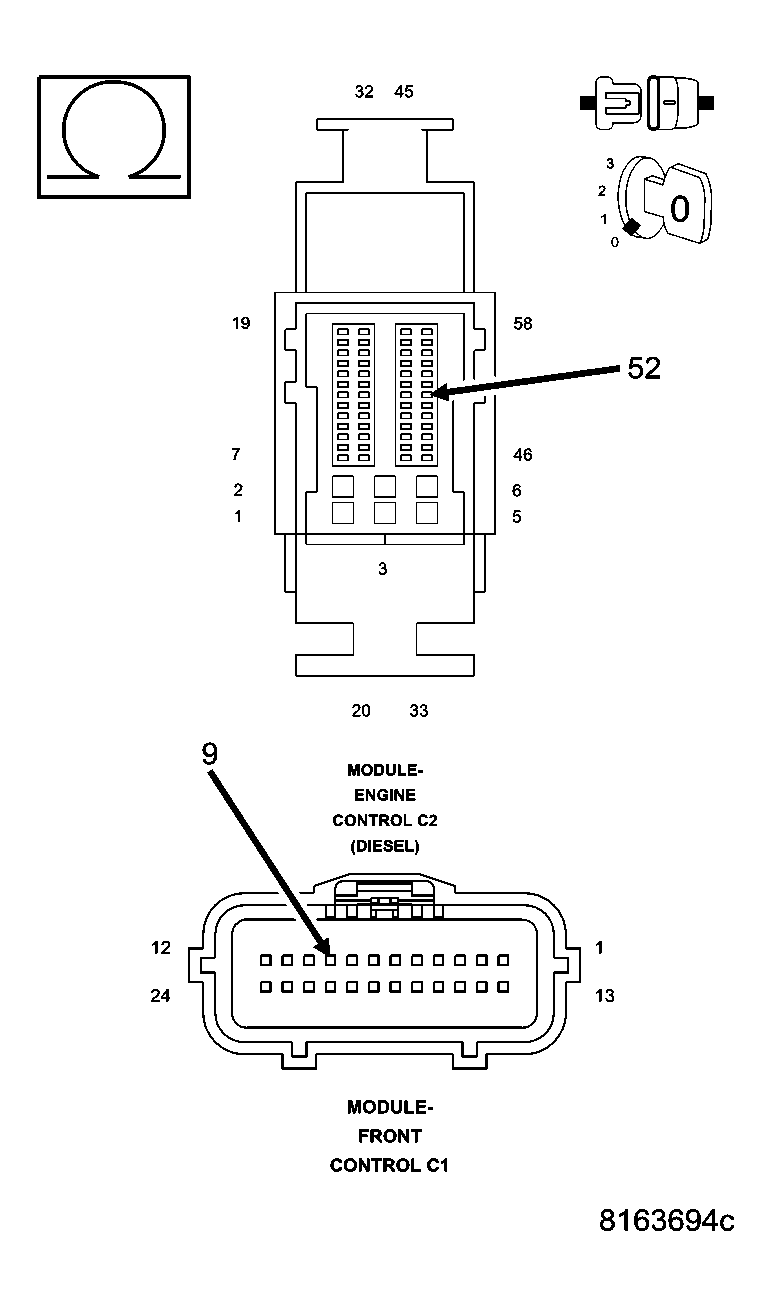
  3. 3) (D65) CAN C BUS (+) CIRCUIT OPEN 
    Fig 1: Checking CAN C BUS (+) Circuit
    GC0045363Courtesy of CHRYSLER LLC

    Turn the ignition off.

    Disconnect the FCM C1 harness connector.

    Disconnect the ECM C2 harness connector.

    Measure the resistance of the (D65) CAN C Bus (+) circuit between the FCM connector and the ECM connector.

    Is resistance below 5.0 ohms? 

    Yes 

    1. Go to step  4).

    No 

    1. Repair the (D65) CAN C Bus (+) circuit for an open.
    2. Perform ECM VERIFICATION TEST.
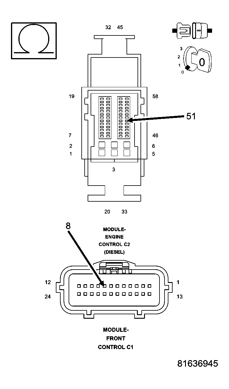
  4. 4) (D64) CAN C BUS (-) CIRCUIT OPEN 
    Fig 2: Checking CAN C BUS (-) Circuit
    GC0045364Courtesy of CHRYSLER LLC

    Measure the resistance of the (D64) CAN C Bus (-) circuit between the FCM connector and the ECM connector.

    Is resistance below 5.0 ohms? 

    Yes 

    1. Replace and program the Engine Control Module in accordance with the service information.
    2. Perform ECM VERIFICATION TEST.

    No 

    1. Repair the (D64) CAN C Bus (-) circuit for an open.
    2. Perform ECM VERIFICATION TEST.