LEMON Manuals: Even more car manuals for everyone
Home >> Jeep >> 2007 >> Commander Base, 4.7 P, AWD >> Repair and Diagnosis (Single Page) >> Accessories & Equipment >> Anti-Theft Systems >> Power Liftgate System - Electrical Diagnostics >> Power Liftgate - Electrical Diagnostics >> DTC Troubleshooting >> B194F-Power Liftgate Temperature Sensor Circuit Performance >> Diagnostic Test

Diagnostic Test

  1. 1) CHECK FOR DTCS 

    With the scan tool, record DTCs and any liftgate inhibitors.

    Erase DTCs.

    Turn the ignition off, wait 10 seconds, then turn the ignition on.

    With the scan tool, read DTCs.

    Does the scan tool display B194F-POWER LIFTGATE TEMPERATURE SENSOR CIRCUIT PERFORMANCE? 

    Yes 

    1. Go to  2).

    No 

    1. Using the wiring diagram/schematic as a guide, inspect the wiring and connectors for an intermittent condition.
    2. Perform BODY VERIFICATION TEST .
  2. 2) CHECK FOR OTHER PINCH SENSOR DTCS 

    With the scan tool, read other Power Liftgate DTCs.

    Are there any other Pinch Sensor DTCs? 

    Yes 

    1. Repair the other Liftgate Pinch Sensor DTCs before proceeding.

    No 

    1. Go to  3).
  3. 3) CHECK THE LIFTGATE AMBIENT TEMPERATURE SENSOR 
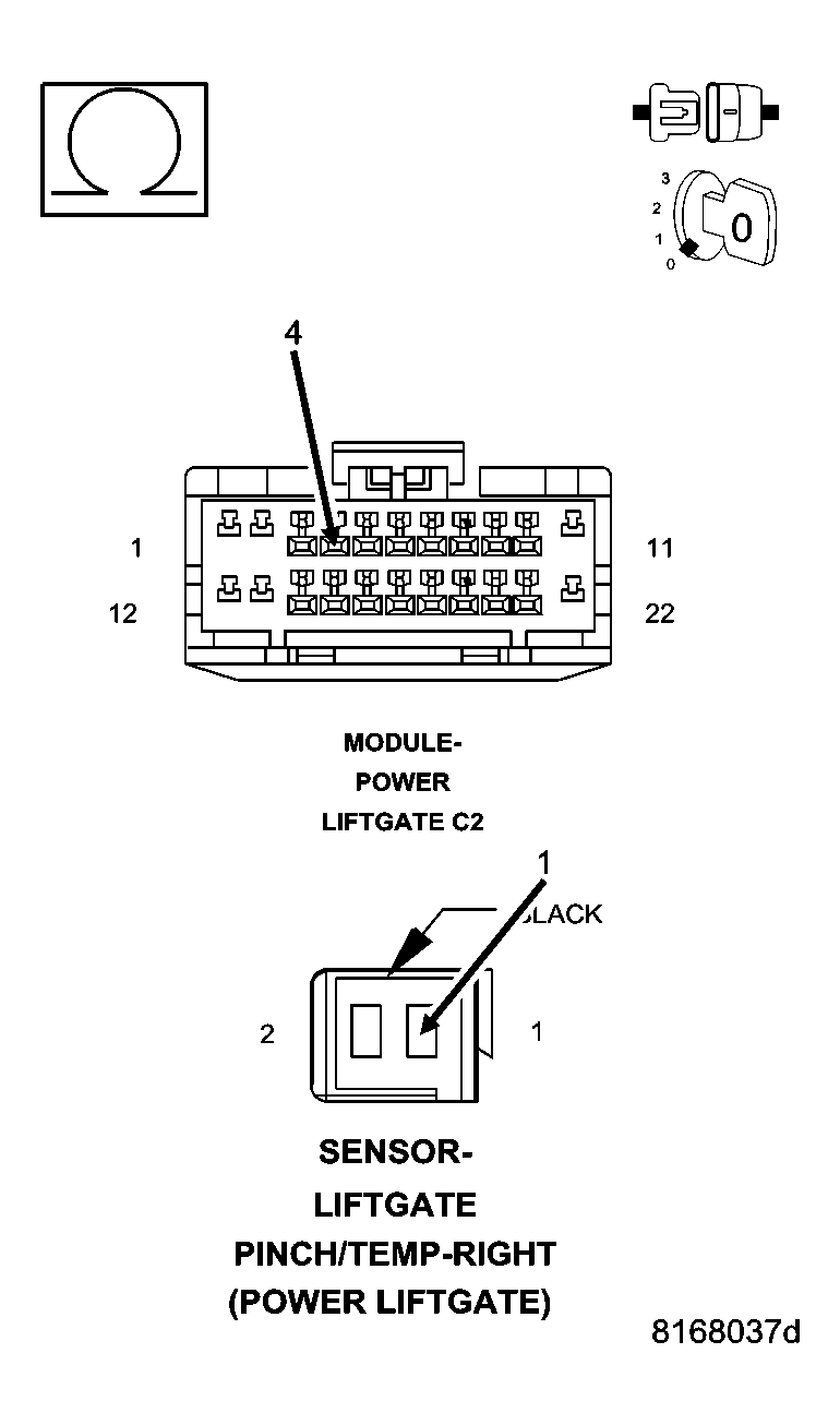
    Fig 1: Checking Right Liftgate Pinch/Temp Sensor Connector
    GC0044198Courtesy of CHRYSLER LLC
    NOTE: The vehicle must be in a warm environment of approximately 70 degrees Fahrenheit for the results of this next step to be valid.

    Turn the ignition off.

    Open the liftgate.

    Allow the vehicle to stabilize in the warm environment for at least one hour.

    Disconnect the Right Liftgate Pinch/Temp Sensor harness connector.

    Measure the resistance between the (Q901) Logic Ground circuit and the (Q78) Right Pinch Sensor Signal circuit in the Right Liftgate Pinch/Temp Sensor (component side) connector.

    NOTE: Graphic shows the harness side - component side is the mate connector.

    Is the resistance between 11300 and 13700 ohms? 

    Yes 

    1. Go to  4).

    No 

    1. Replace the Right Liftgate Pinch/Temp Sensor in accordance with the service information.
    2. Perform BODY VERIFICATION TEST .
  4. 4) (Q78) RIGHT PINCH SENSOR SIGNAL CIRCUIT OPEN 
    Fig 2: Measuring Resistance Of Right Pinch Sensor Signal Circuit
    GC0044196Courtesy of CHRYSLER LLC

    Disconnect the Power Liftgate Module C2 harness connector.

    Measure the resistance of the Right Pinch Sensor Signal circuit between the Power Liftgate Module C2 connector and the Right Lifgate Pinch/Temp Sensor connector.

    Is the resistance below 2.0 ohms? 

    Yes 

    1. Go to  5).

    No 

    1. Repair the (Q78) Right Pinch/Temp Sensor Signal circuit for an open.
    2. Perform BODY VERIFICATION TEST .
  5. 5) (Q78) RIGHT PINCH SENSOR SIGNAL CIRCUIT SHORT TO GROUND 
    Fig 3: Measuring Resistance Between Ground And Right Pinch Sensor Signal Circuit
    GC0044192Courtesy of CHRYSLER LLC

    Measure the resistance between ground and the (Q78) Right Liftgate Pinch Temp Sensor Signal circuit.

    Is the resistance below 10000.0 ohms? 

    No 

    1. Go to  6).

    Yes 

    1. Repair the (Q78) Right Liftgate Pinch/Temp Sensor Signal circuit for a short to ground.
    2. Perform BODY VERIFICATION TEST .
  6. 6) (Q901) LOGIC GROUND OPEN 
    Fig 4: Measuring Resistance Of Logic Ground Circuit
    GC0057985Courtesy of CHRYSLER LLC

    Measure the resistance of the (Q901) Logic Ground circuit between the Right Liftgate Pinch/Temp Sensor connector and the Power Liftgate C2 harness connector.

    Is the resistance below 2.0 ohms? 

    Yes 

    1. Replace the Power Liftgate Module in accordance with the service information.
    2. Perform BODY VERIFICATION TEST .

    No 

    1. Repair the (Q901) Logic Ground circuit for an open.
    2. Perform BODY VERIFICATION TEST .