LEMON Manuals: Even more car manuals for everyone
Home >> Jeep >> 2007 >> Commander Base, 4.7 P, AWD >> Repair and Diagnosis (Single Page) >> Accessories & Equipment >> Anti-Theft Systems >> Power Liftgate System - Electrical Diagnostics >> Power Liftgate - Electrical Diagnostics >> DTC Troubleshooting >> B1942-Power Liftgate Position Sensor 2 Circuit Performance >> Diagnostic Test

Diagnostic Test

  1. 1) DTC PRESENT 

    With the scan tool, record DTC's.

    Erase DTC's

    Turn the ignition off, wait 10 seconds, then turn the ignition on.

    If possible, operate the liftgate several times.

    With the scan tool, read DTCs.

    Does the scan tool display B1942-POWER LIFTGATE POSITION SENSOR 2 CIRCUIT PERFORMANCE? 

    Yes 

    1. Go to  2).

    No 

    1. Using the wiring diagram/schematic as a guide, inspect the wiring and connectors for an intermittent condition.
    2. Perform BODY VERIFICATION TEST .
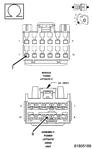
  2. 2) (Q901) LOGIC GROUND OPEN 
    Fig 1: Measuring Resistance Between Ground And Logic Ground Circuit
    GC0048913Courtesy of CHRYSLER LLC

    Turn the ignition off.

    Disconnect the Power Liftgate Drive Unit connector.

    Measure the resistance between the (Z800) Ground and the (Q901) Logic Ground circuit in the Power Liftgate Drive Unit connector.

    Is the resistance below 9.5 ohms? 

    Yes 

    1. Go to  3).

    No 

      NOTE: The (Q901) Logic Ground circuit is grounded through the Power Liftgate Module and the (Z800) Ground circuit.
    1. Repair the (Q901) Logic Ground circuit for an open.
    2. Perform BODY VERIFICATION TEST .
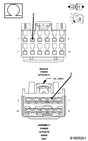
  3. 3) (Q205) POSITION SENSOR SIGNAL 2 CIRCUIT SHORT TO GROUND 
    Fig 2: Measuring Resistance Between Ground And Position Sensor Signal 2 Circuit
    GC0044187Courtesy of CHRYSLER LLC

    Disconnect the Power Liftgate Module C1 harness connector.

    Measure the resistance between ground and the (Q205) Position Sensor Signal 2 circuit

    Is the resistance below 10000.0 ohms? 

    Yes 

    1. Repair the (Q205) Position Sensor Signal 2 circuit for a short to ground.

    No 

    1. Go to  4).
  4. 4) (Q205) POSITION SENSOR SIGNAL 2 CIRCUIT SHORT TO VOLTAGE 
    Fig 3: Measuring Voltage Between Ground And Position Sensor Signal 2 Circuit
    GC0044188Courtesy of CHRYSLER LLC

    Turn the ignition on.

    Measure the voltage between ground and the (Q205) Position Sensor Signal 2 circuit

    Is there any voltage present? 

    Yes 

    1. Repair the (204) Position Sensor Signal 2 circuit for a short to voltage.
    2. Perform BODY VERIFICATION TEST .

    No 

    1. Go to  5).
  5. 5) (Q205) POSITION SENSOR SIGNAL 2 CIRCUIT OPEN 
    Fig 4: Measuring Resistance Of Position Sensor Signal 2 Circuit
    GC0048941Courtesy of CHRYSLER LLC

    Turn the ignition off.

    Measure the resistance of the (Q205) Position Sensor Signal 2 circuit between the Power Liftgate Module C1 harness connector and the Power Liftgate Drive Unit harness connector.

    Is the resistance below 5.0 ohms? 

    No 

    1. Repair the (Q205) Position Sensor Signal 2 circuit for an open.
    2. Perform BODY VERIFICATION TEST .

    Yes 

    1. Go to  6).
  6. 6) (Q203) POSITION SENSOR SUPPLY CIRCUIT OPEN 
    Fig 5: Measuring Resistance Of Position Sensor Supply Circuit
    GC0048942Courtesy of CHRYSLER LLC

    Measure the resistance of the (Q203) Position Sensor Supply circuit between the Power Liftgate Module C1 harness connector and the Power Liftgate Drive Unit harness connector.

    Is the resistance below 5.0 ohms? 

    Yes 

    1. Go to  7).

    No 

    1. Repair the (Q203) Position Sensor Supply circuit for an open.
    2. Perform BODY VERIFICATION TEST .
  7. 7) (Q203) POSITION SENSOR SUPPLY CIRCUIT SHORT TO GROUND 
    Fig 6: Measuring Resistance Between Ground And Position Sensor Supply Circuit
    GC0044158Courtesy of CHRYSLER LLC

    Measure the resistance between ground and the (Q203) Position Sensor Supply circuit.

    Is the resistance below 10000.0 ohms? 

    No 

    1. Go to  8).

    Yes 

    1. Repair the (Q203) Position Sensor Supply circuit for a short to ground.
    2. Perform BODY VERIFICATION TEST .
  8. 8) (Q203) POSITION SENSOR SUPPLY CIRCUIT SHORT TO VOLTAGE 
    Fig 7: Measuring Voltage Between Logic Ground Circuit And Position Sensor Supply Circuit
    GC0048914Courtesy of CHRYSLER LLC

    Turn the ignition on.

    Measure the voltage between the (Q901) Logic Ground circuit and the (Q203) Position Sensor Supply circuit in the Power Liftgate Drive Unit connector.

    Is the voltage above 5.5 volts? 

    Yes 

    1. Repair the (Q203) Position Sensor Supply circuit for a short to voltage. If the power liftgate is inoperative after repairing the (Q203) Position Sensor Supply circuit, replace the Power Liftgate Drive Unit in accordance with the service information.
    2. Perform BODY VERIFICATION TEST .

    No 

    1. Go to  9).
  9. 9) (Q205) POSITION SENSOR SIGNAL 2 CIRCUIT SHORTED TO (Q204) POSITION SENSOR SIGNAL 1 CIRCUIT 
    Fig 8: Measuring Resistance Between Position Sensor Signal 1 Circuit And Position Sensor Signal 2 Circuit
    GC0044154Courtesy of CHRYSLER LLC

    Measure the resistance between the (Q205) Position Sensor Signal 2 circuit and the (Q204) Position Sensor Signal 1 circuit.

    Is the resistance below 10000.0 ohms? 

    Yes 

    1. Repair the (Q205) Position Sensor Signal 2 circuit for a short to the (Q204) Position Sensor Signal 1 circuit.
    2. Perform BODY VERIFICATION TEST .

    No 

    1. Go to  10).
  10. 10) POWER LIFTGATE MODULE 
    Fig 9: Checking Power Liftgate Module Harness Connector
    GC0065079Courtesy of CHRYSLER LLC

    Reconnect the Power Liftgate Module C1 harness connector.

    Reconnect the Power Liftgate Module C2 harness connector.

    Turn the ignition on.

    Measure the voltage of the (Q204) Position Sensor Signal 1 circuit and the (Q203) Position Sensor Supply circuit ground in the Power Liftgate Drive Unit harness connector.

    Is the voltage approximately 5.0 volts for both measurements? 

    Yes 

    1. Replace the Power Liftgate Drive Unit in accordance with the service information.
    2. Perform BODY VERIFICATION TEST .

    No 

    1. Replace the Power Liftgate Module in accordance with service information.
    2. Perform BODY VERIFICATION TEST .