LEMON Manuals: Even more car manuals for everyone
Home >> Jeep >> 2007 >> Commander Base, 4.7 P, AWD >> Repair and Diagnosis (Single Page) >> Accessories & Equipment >> Anti-Theft Systems >> Power Liftgate System - Electrical Diagnostics >> Power Liftgate - Electrical Diagnostics >> DTC Troubleshooting >> B188F-Power Liftgate Control Circuit 1 Open >> Diagnostic Test

Diagnostic Test

  1. 1) DTC PRESENT 

    With the scan tool, record DTCs

    Erase DTCs.

    Turn the ignition off, wait 10 seconds, then turn the ignition on.

    If possible, operate the liftgate several times.

    With the scan tool, read DTCs.

    Does the scan tool display B188F-POWER LIFTGATE CONTROL CIRCUIT 1 OPEN? 

    Yes 

    1. Go to  2).

    No 

    1. Using the wiring diagram/schematic as a guide, inspect the wiring and connectors for an intermittent condition.
    2. Perform BODY VERIFICATION TEST .
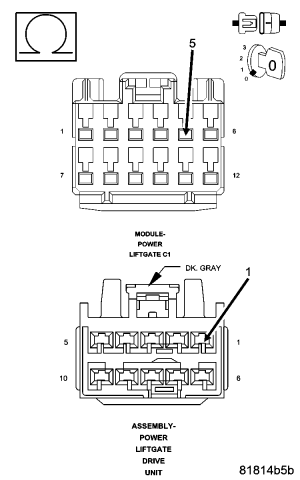
  2. 2) POWER LIFTGATE MODULE 
    Fig 1: Measuring Resistance Between Liftgate Open Driver Circuit And Liftgate Close Driver Circuit
    GC0044175Courtesy of CHRYSLER LLC

    Turn the ignition off.

    Disconnect the Power Liftgate Module C1 harness connector.

    Measure the resistance between the (Q88) Liftgate Open Driver circuit and the (Q89) Liftgate Close Driver circuit.

    Is the resistance approximately 4.3 ohms? 

    No 

    1. Go to  3).

    Yes 

    1. Replace the Power Liftgate Module in accordance with the service information.
    2. Perform BODY VERIFICATION TEST .
  3. 3) (Q88) LIFTGATE OPEN DRIVER CIRCUIT OPEN 
    Fig 2: Measuring Resistance Of Liftgate Open Driver Circuit
    GC0048930Courtesy of CHRYSLER LLC

    Disconnect the Power Liftgate Drive Unit harness connector.

    Measure the resistance of the (Q88) Liftgate Open Driver circuit between the Power Liftgate Module C1 harness connector and the Power Liftgate Drive Unit connector.

    Is the resistance below 5.0 ohms? 

    No 

    1. Repair the (Q88) Liftgate Open Driver circuit for an open.
    2. Perform BODY VERIFICATION TEST .

    Yes 

    1. Go to  4).
  4. 4) (Q89) LIFTGATE CLOSE DRIVER CIRCUIT OPEN 
    Fig 3: Measuring Resistance Of Liftgate Close Driver Circuit
    GC0048931Courtesy of CHRYSLER LLC

    Measure the resistance of the (Q89) Liftgate Close Driver circuit between the Power Liftgate Module C1 harness connector and the Power Liftgate Drive Unit harness connector.

    Is the resistance below 5.0 ohms? 

    No 

    1. Repair the (Q89) Liftgate Close Driver circuit for an open.
    2. Perform BODY VERIFICATION TEST .

    Yes 

    1. Replace the Power Liftgate Drive Unit in accordance with the service information.
    2. Perform BODY VERIFICATION TEST .