LEMON Manuals: Even more car manuals for everyone
Home >> Jeep >> 2006 >> Commander Base, 3.7 K, AWD >> Repair and Diagnosis >> External Pages >> Different car >> Section 187 (Vehicle Theft Security System (Service Information)) >> SENSOR, Intrusion Module >> Description >> Transmitter

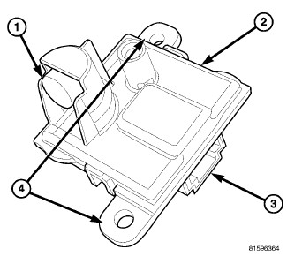
SENSOR, Intrusion Module: Description: Transmitter

WARNING: This page is about a different car, the 2009 Jeep Grand Cherokee. However, it is still accessible from the selected car via links, so may be relevant.
Fig 1: Intrusion Sensor Transmitter
GC0080257Courtesy of CHRYSLER LLC

An intrusion sensor transmitter (2) is part of the premium version of the Vehicle Theft Alarm (VTA) in the Vehicle Theft Security System (VTSS). The premium version of the VTA is only available in vehicles built for certain markets, where the additional features offered by this system are required. This unit is designed to work in conjunction with the intrusion sensor receiver to provide interior motion detection inputs to the intrusion module, which serves as the interface between the Front Control Module (FCM), the ElectroMechanical Instrument Cluster (EMIC) (also known as the Cab Compartment Node/CCN) and the alarm siren.

The transmitter is located in the passenger compartment, where it is concealed above the headliner. A molded plastic mounting bracket with two locating pins engages the holes in two locating tabs (4) integral to the transmitter housing and the housing is secured in place by two latch features integral to the bracket. Only a small dedicated molded plastic transducer trim bezel that is secured by a snap fit to the tubular ultrasonic transducer housing, which extends vertically downward from the base of the transmitter housing is visible below the right rear corner of the headliner. The trim bezel has a small round opening that faces the front of the vehicle through which the transducer is aimed.

Concealed within the molded plastic transmitter housing is the circuitry of the transmitter which includes an ultrasonic transmit transducer (1). The transmitter is connected through an integral connector receptacle (3) to the vehicle electrical system by a take out and connector of the overhead wire harness that is integral to the headliner.

The intrusion sensor transmitter cannot be adjusted or repaired and, if ineffective or damaged, it must be replaced. The transmitter mounting bracket is serviced as a unit with the headliner. The transducer trim bezel is available for separate service replacement.