LEMON Manuals: Even more car manuals for everyone
Home >> Jeep >> 2006 >> Commander Base, 3.7 K, AWD >> Repair and Diagnosis >> External Pages >> Different car >> Section 18 (Electronic Control Modules - Electrical Diagnostics) >> Electronic Control Modules - Electrical Diagnostics >> DTC Troubleshooting >> *No Response From ESM (Shift Lever Assembly) - Nag1/Diesel >> Diagnostic Test

Diagnostic Test

WARNING: This page is about a different car, the 2006 Jeep Grand Cherokee. However, it is still accessible from the selected car via links, so may be relevant.
  1. 1) TEST FOR INTERMITTENT CONDITION 

    Turn the ignition on.

    NOTE: Ensure the IOD fuse is installed and battery voltage is between 10.0 and 16.0 volts.

    With the scan tool, select ECU view.

    NOTE: A red X will be next to the module that is not communicating, indicating that the module is not active on the Bus network. A green check indicates that the module is active on the Bus network.
    NOTE: Check the FCM for any active CAN C hardware and any ignition related DTCs, perform DTCs before proceeding.

    Does the scan tool display a red X next to the module? 

    Yes 

    1. Go To step  2).

    No 

    1. The no response condition is not present at this time. Using the wiring diagram/schematic as a guide, inspect the wiring for chafed, pierced, pinched, and partially broken wires and the wiring harness connectors for broken, bent, pushed out, and corroded terminals.
  2. 2) (Z907) GROUND CIRCUIT OPEN 
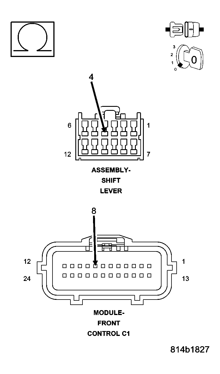
    Fig 1: Checking Ground Circuit
    GC0027514Courtesy of DAIMLERCHRYSLER CORP.

    Turn the ignition off.

    Disconnect the Shift Lever Assembly harness connector.

    Using a 12-volt test light connected to 12-volts, check the (Z907) ground circuit.

    Does the test light illuminate brightly? 

    Yes 

    1. Go To step  3).

    No 

    1. Repair the (Z907) ground circuit for an open.
    2. Perform NAG1 TRANSMISSION VERIFICATION TEST .
  3. 3) (F1) FUSED IGNITION SWITCH OUTPUT CIRCUIT OPEN OR SHORTED 
    Fig 2: Checking Fused Ignition Switch Output Circuit
    GC0027515Courtesy of DAIMLERCHRYSLER CORP.

    Turn the ignition on.

    Using a 12-volt test light connected to ground, check the (F1) Fused Ignition Switch Output circuit.

    Does the test light illuminate brightly? 

    Yes 

    1. Go To step  4).

    No 

    1. Repair the (F1) Fused Ignition Switch Output circuit for an open or short.
    2. Perform NAG1 TRANSMISSION VERIFICATION TEST .
  4. 4) (D65) CAN C BUS (+) CIRCUIT OPEN 
    Fig 3: Checking CAN C Bus (+) Circuit
    GC0027516Courtesy of DAIMLERCHRYSLER CORP.

    Turn the ignition off.

    Disconnect the FCM C1 harness connector.

    Measure the resistance of the (D65) CAN C Bus (+) circuit between the FCM connector and the Shift Lever Assembly connector.

    Is resistance below 5.0 ohms? 

    Yes 

    1. Go To step  5).

    No 

    1. Repair the (D65) CAN C Bus (+) circuit for an open.
    2. Perform NAG1 TRANSMISSION VERIFICATION TEST .
  5. 5) (D64) CAN C BUS (-) CIRCUIT OPEN 
    Fig 4: Checking CAN C Bus (-) Circuit
    GC0027517Courtesy of DAIMLERCHRYSLER CORP.

    Measure the resistance of the (D64) CAN C Bus (-) circuit between the FCM connector and the Shift Lever Assembly connector.

    Is resistance below 5.0 ohms? 

    Yes 

    1. Replace the Shift Lever Assembly in accordance with the service information.
    2. Perform NAG1 TRANSMISSION VERIFICATION TEST .

    No 

    1. Repair the (D64) CAN C Bus (-) circuit for an open.
    2. Perform NAG1 TRANSMISSION VERIFICATION TEST .