LEMON Manuals: Even more car manuals for everyone
Home >> Jeep >> 2003 >> Wrangler X, Automatic >> Repair and Diagnosis >> Engine Performance >> System >> Engine Controls - System & Component Testing >> Connector Identification

Connector Identification

NOTE: See Fig 1 thru Fig 6 for connector identification.
Fig 1: Identifying Fuel Pump Module Harness Connector
G00197453Courtesy of CHRYSLER CORP.
Fig 2: Identifying PCM C1 Harness Connector
G00197455Courtesy of CHRYSLER CORP.
Fig 3: Identifying Power Distribution Center Fuses & Fuse Circuits
G00197454Courtesy of CHRYSLER CORP.
Fig 4: Identifying Power Distribution Center Relay Cavities & Circuits
G00085590Courtesy of DAIMLERCHRYSLER CORPORATION
Fig 5: Identifying Relay Terminals - Type 1 Relay
G00079694Courtesy of DAIMLERCHRYSLER CORPORATION
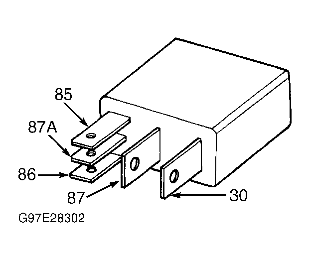
Fig 6: Identifying Relay Terminals - Type 2 Relay
G97E28302Courtesy of DAIMLERCHRYSLER CORPORATION