LEMON Manuals: Even more car manuals for everyone
Home >> Jeep >> 2001 >> Cherokee Classic, 4WD, Part Time >> Repair and Diagnosis >> Engine Performance >> System >> Engine Controls - Self-Diagnostics >> Diagnostic Tests >> DTC P1388: Auto Shutdown Relay Control Circuit >> Testing

DTC P1388: Auto Shutdown Relay Control Circuit: Testing

  1. Turn ignition on. Using scan tool, read DTCs. If GOOD TRIP counter is displayed for DTC P1388 and displayed count is "0", go to next step. If GOOD TRIP counter for DTC P1388 is not displayed or displayed count is not "0", go to step  6 .
  2. Turn ignition off. Remove ASD relay. ASD relay is located in Power Distribution Center (PDC). PDC is located in engine compartment, next to battery. See Figure . Disconnect PCM connectors. PCM is located in engine compartment on left front fender, near radiator support. Measure resistance of Dark Blue/Yellow wire between terminal D6 at ASD relay socket in PDC and terminal No. 3 at PCM C3 harness connector. See Figure and Figure . If resistance is less than 5 ohms, go to next step. If resistance is 5 ohms or more, repair open in Dark Blue/Yellow wire.
  3. Turn ignition on. Measure voltage between ground and terminal D4 (Dark Blue/White wire) at ASD relay socket in PDC. See Figure . If voltage is more than 10 volts, go to next step. If voltage is 10 volts or less, check for repair open in power circuit (Dark Blue/White wire) between ASD relay and junction block. Also check fuse No. 11 (20-amp) in junction block. Junction block is located behind passenger-side kick panel. Repair wiring or replace fuse as necessary.
  4. Turn ignition off. Ensure PCM is disconnected. Measure resistance between ground and terminal No. 3 (Dark Blue/Yellow wire) at PCM C3 harness connector. See Figure . If resistance is 5 ohms or more, go to next step. If resistance is less than 5 ohms, repair short to ground in Dark Blue/Yellow wire between ASD relay and PCM.
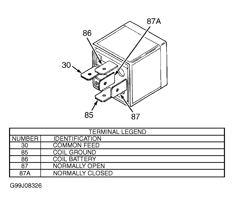
  5. Measure resistance between terminals No. 85 and 86 at ASD relay. See Fig 1 . If resistance is not 50-80 ohms, replace ASD relay. If resistance is 50-80 ohms, replace PCM.
  6. Turn ignition off. Visually inspect related connectors and wiring harness for damage. Repair connectors and wiring harness as necessary. If connectors and wiring harness are okay, reconnect all connectors. Start engine. Wiggle wiring harness from ASD relay to PCM while monitoring scan tool display. PCM is located in engine compartment on left front fender, near radiator support. If GOOD TRIP counter display count changes to "0", repair connector or wiring harness where wiggling caused display to change. If GOOD TRIP counter display count does not change to "0", no problem is indicated at this time. Check for any related technical service bulletins that may apply.
Fig 1: Identifying Auto Shutdown Relay & Radiator Fan Relay Terminals
G99J08326Courtesy of DAIMLERCHRYSLER CORPORATION