LEMON Manuals: Even more car manuals for everyone
Home >> Jeep >> 1996 >> Cherokee Classic, Part Time, Automatic >> Repair and Diagnosis >> Engine Performance >> System >> Engine Control System & Engine Component Tests - 2.5L Engine >> Modules, Motors & Relays >> Relays >> Relay & Starter Motor Relay

Relay & Starter Motor Relay

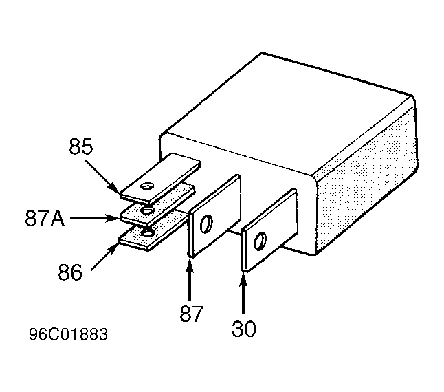
  1. Remove relay from power distribution center in engine compartment. With relay in de-energized position, continuity should exist between relay terminals No. 87A and 30. See Fig 1 . No continuity should exist between terminals No. 87 and 30.
  2. Connect a jumper wire between positive battery terminal and relay terminal No. 86. Connect another jumper wire between battery negative terminal and relay terminal No. 85. Continuity should exist between relay terminal No. 30 and 87. No continuity should exist between relay terminals No. 87A and 30. If continuity is not as specified, replace relay.
Fig 1: Identifying Relay Terminals (Cherokee)
G96C01883Courtesy of CHRYSLER CORP.