LEMON Manuals: Even more car manuals for everyone
Home >> Jeep >> 1996 >> Cherokee Classic, Part Time, Automatic >> Repair and Diagnosis >> Accessories & Equipment >> Cruise Control Systems >> Self-Diagnostics >> Test TC-15B - Speed Control Solenoid Circuits Or Speed Control Power Relay Circuits

Test TC-15B - Speed Control Solenoid Circuits Or Speed Control Power Relay Circuits

NOTE: Perform TEST TC-15A  before proceeding. For appropriate wiring diagram, see WIRING DIAGRAMS  .
NOTE: DO NOT  depress brake pedal during following test.
  1. Using scan tool in ohmmeter mode, check resistance of speed control servo 4-pin connector terminal 4, ground circuit (Black wire). If resistance is 5 ohms or more, repair open ground circuit and perform TEST SC-VER  . If resistance is less than 5 ohms, go to next step.
  2. Turn ignition off. Reconnect speed control servo 4-pin connector. Disconnect Powertrain Control Module (PCM) connectors. Inspect connectors and terminals for damage. Repair connectors and terminals as necessary and perform TEST SC-VER  . If connectors and terminals are okay, go to next step.
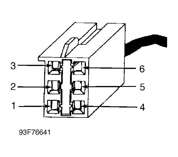
  3. Using an external ohmmeter, check resistance between PCM Gray connector terminal C11, 12-volt supply circuit (Yellow/Red wire) and speed control servo connector terminal No. 2, vent solenoid control circuit (Light Green/Red wire). See Figure -Figure . If resistance is 35-55 ohms, replace PCM and perform TEST SC-VER  . If resistance is not 35-55 ohms, go to next step.
  4. Check resistance between PCM Gray connector terminal C11, 12-volt supply circuit (Yellow/Red wire) and speed control servo connector terminal No. 1, vacuum solenoid control circuit (Tan/Red wire). See Figure -Figure . If resistance is 35-55 ohms, replace PCM and perform TEST SC-VER  . If resistance is not 35-55 ohms, go to next step.
  5. Check resistance of speed control vacuum solenoid control circuit (Tan/Red wire) between PCM Gray connector terminal C4 and speed control servo 4-pin connector terminal No. 1. See Figure -Figure . If resistance is 5 ohms or more, repair open speed control vacuum solenoid control circuit and perform TEST SC-VER  . If resistance is less than 5 ohms, go to next step.
  6. Check resistance of speed control vent solenoid control circuit (Light Green/Red wire) between PCM Gray connector terminal C5 and speed control servo 4-pin connector terminal No. 2. See Figure -Figure . If resistance is less than 5 ohms, replace speed control servo and perform TEST SC-VER  . If resistance is 5 ohms or more, repair open speed control vent solenoid control circuit and perform TEST SC-VER  .