LEMON Manuals: Even more car manuals for everyone
Home >> Jeep >> 1995 >> Wrangler S, Standard >> Repair and Diagnosis >> Engine Performance >> System >> Engine Controls - Tests W/Codes - Body Control Computer >> Connector Identification >> Body Control System Connectors

Body Control System Connectors

NOTE: For terminal identification of body control system connectors, see Fig 1-21. Connector terminal numbers are molded into connectors. If connector terminal identification differs from what is shown in figure, use wire colors to ensure correct circuit is being tested. For wiring diagrams, see WIRING DIAGRAMS  section at the end of this article.
CONNECTOR IDENTIFICATION DIRECTORY

Connector Illustration
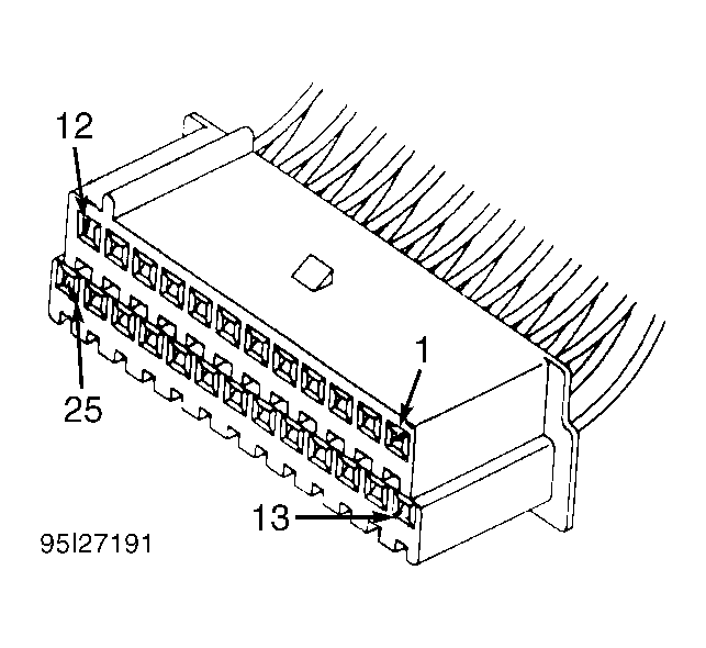
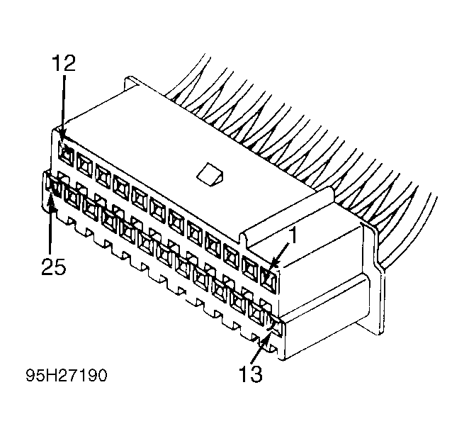
Body Control Module
Blue See Fig 1
Natural See Fig 2
CCD BUS Data Link See Fig 3
Compass/Mini-Trip Module See Fig 4
Front & Side Door Jamb Switch See Fig 5
Fuel Pump/Sending Unit See Fig 6
Instrument Cluster See Fig 7
Ignition Key In Ignition Switch See Fig 8
Left Pod Switch Assembly See Fig 9
Left Pod Switch Connectors
Black See Fig 10
Blue & Gray See Fig 11
Liftgate Switch See Fig 12
Multifunction Switch See Fig 13
Powertrain Control Module (PCM) See Fig 14
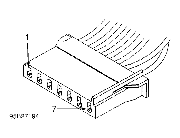
Radio Connectors
Black See Fig 15
Gray See Fig 16
Relay Block See Fig 17
Remote Keyless Entry (RKE) Module See Fig 18
Speaker Connectors
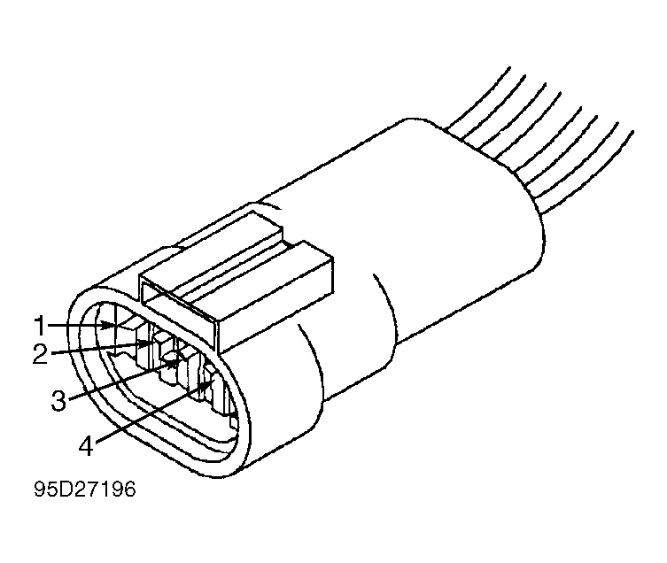
Door See Fig 19
Rear See Fig 20
Fig 1: Identifying Blue Body Control Module Connector Terminals
G95H27190Courtesy of CHRYSLER CORP.
Fig 2: Identifying Natural Body Control Module Connector Terminals
G95I27191Courtesy of CHRYSLER CORP.
Fig 3: Identifying CCD BUS Data Link Connector Terminals
G95D12784Courtesy of CHRYSLER CORP.
Fig 4: Identifying Compass/Mini-Trip Module Connector Terminals
G94B65897Courtesy of CHRYSLER CORP.
Fig 5: Identifying Front & Side Door Jamb Switch Connector Terminals
G93I76495Courtesy of CHRYSLER CORP.
Fig 6: Identifying Fuel Pump/Sending Unit Connector Terminals
G94C65898Courtesy of CHRYSLER CORP.
Fig 7: Identifying Instrument Cluster Connector Terminals
G92D22726Courtesy of CHRYSLER CORP.
Fig 8: Identifying Key-In-Ignition Switch Connector Terminals
G95J27192Courtesy of CHRYSLER CORP.
Fig 9: Identifying Left Pod Switch Assembly Connector Terminals
G92F22728Courtesy of CHRYSLER CORP.
Fig 10: Identifying Left Pod Switch Connector Terminals (Black Connector)
G92J22730Courtesy of CHRYSLER CORP.
Fig 11: Identifying Left Pod Switch Connector Terminals (Blue & Gray Connectors)
G92G22729Courtesy of CHRYSLER CORP.
Fig 12: Identifying Liftgate Switch Connector Terminals
G92A22731Courtesy of CHRYSLER CORP.
Fig 13: Identifying Multifunction Switch Connector Terminals
G94G65900Courtesy of CHRYSLER CORP.
Fig 14: Powertrain Control Module Connector Terminal Identification
G92I05780Courtesy of CHRYSLER CORP.
Fig 15: Identifying Radio Black Connector Terminals
G95B27194Courtesy of CHRYSLER CORP.
Fig 16: Identifying Radio Gray Connector Terminals
G95C27195Courtesy of CHRYSLER CORP.
Fig 17: Identifying Relay Block Connector Terminals
G95A27193Courtesy of CHRYSLER CORP.
Fig 18: Identifying Remote Keyless Entry (RKE) Module Connector Terminals
G94I65902Courtesy of CHRYSLER CORP.
Fig 19: Identifying Speaker Door Connector Terminals
G95D27196Courtesy of CHRYSLER CORP.
Fig 20: Identifying Speaker Rear Connector Terminals
G95E27197Courtesy of CHRYSLER CORP.