LEMON Manuals: Even more car manuals for everyone
Home >> Jeep >> 1992 >> Cherokee Limited >> Repair and Diagnosis >> Engine Performance >> System >> Engine Controls - Tests W/Codes - Body Control Computer >> Diagnostic Procedure >> Body Control System Connectors

Body Control System Connectors

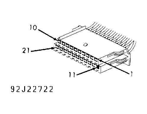
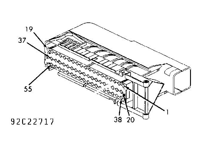
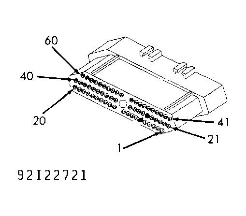
NOTE: For terminal identification of body control system connectors, see Fig 1 -Fig 6 .
Fig 1: Anti-Lock Brake System Controller Connector Terminal ID
G92C22717Courtesy of CHRYSLER MOTORS.
Fig 2: Automatic Temperature Controller Connector Terminal ID
G92D22718Courtesy of CHRYSLER MOTORS.
Fig 3: BUS Diagnostic Connector Terminal ID
G92E22719Courtesy of CHRYSLER MOTORS.
Fig 4: Compass/Mini-Trip Connector Terminal ID
G92H22720Courtesy of CHRYSLER MOTORS.
Fig 5: Single Board Engine Controller (SBEC) Connector Terminal ID
G92I22721Courtesy of CHRYSLER MOTORS.
Fig 6: Vehicle Theft Alarm Module Connector Terminal ID
G92J22722Courtesy of CHRYSLER MOTORS.