LEMON Manuals: Even more car manuals for everyone
Home >> Jeep >> 1991 >> Wrangler Base, 2.5 P >> Repair and Diagnosis >> Engine Performance >> System >> Engine Controls - Tests W/Codes >> Code Charts >> Dr-23A: Repairing Radiator Fan Relay Circuit

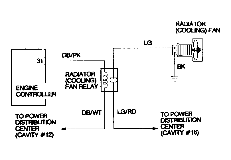
Dr-23A: Repairing Radiator Fan Relay Circuit

Fig 1: Test DR-23A Schematic, Radiator Fan Relay Circuit
G91E13957
Fig 2: Test DR-23A (1 of 2) Radiator Fan Relay Circuit
G91A13904
Fig 3: Test DR-23A (2 of 2) Radiator Fan Relay Circuit
G91B13905