LEMON Manuals: Even more car manuals for everyone
Home >> Jaguar >> 2002 >> XJR Base >> Repair and Diagnosis >> External Pages >> Different car >> Section 111 (Module Configuration) >> Removal And Installation >> MULTIFUNCTION Electronic Module >> Removal

MULTIFUNCTION Electronic Module: Removal

WARNING: This page is about a different car, the 2002 Jaguar XKR and 2002 Jaguar XK8. However, it is still accessible from the selected car via links, so may be relevant.
  1. Disconnect the battery ground cable.
  2. Remove the passenger side register duct.
    Fig 1: Removing Passenger Side Register Duct
    G03158166Courtesy of JAGUAR CARS, INC.
  3. Remove the glove compartment shelf.
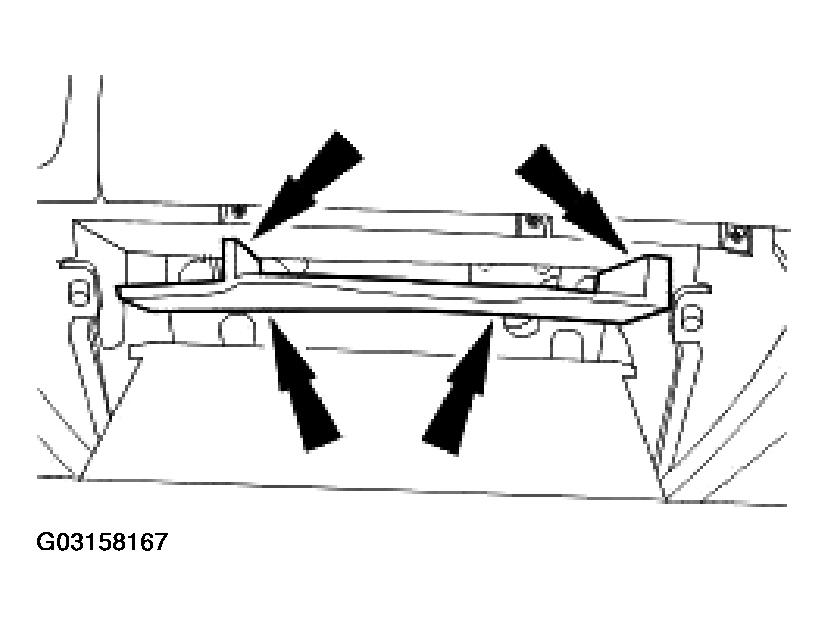
    Fig 2: Removing Glove Compartment Shelf
    G03158167Courtesy of JAGUAR CARS, INC.
  4. Disconnect the multifunction electronic module electrical connector.
    Fig 3: Disconnecting Multifunction Electronic Module Electrical Connector
    G03158168Courtesy of JAGUAR CARS, INC.
  5. NOTE: Glove compartment shown removed for clarity.
    Fig 4: Removing Multifunction Electronic Module
    G03158169Courtesy of JAGUAR CARS, INC.
  6. Remove the multifunction electronic module.
    • Remove the three nuts which secure the module to the instrument panel. (1)
    • Remove the multifunction electronic module. (2)