LEMON Manuals: Even more car manuals for everyone
Home >> Isuzu >> 2004 >> Axiom Base, 4WD >> Repair and Diagnosis >> Transmission >> Automatic Trans >> Transmission Control System >> General Description >> Control System Diagram

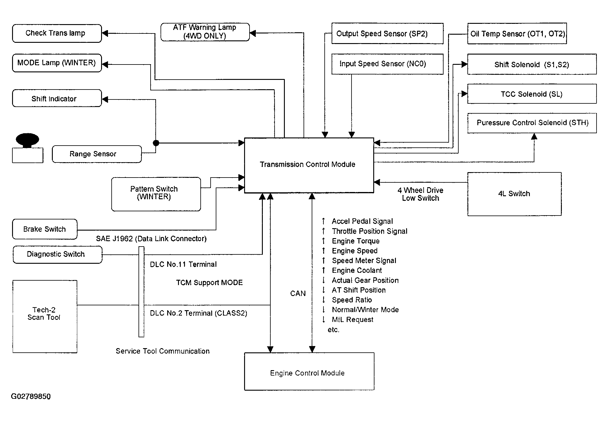
Control System Diagram

Fig 1: Control System Diagram
G02789850Courtesy of ISUZU MOTOR CO.