LEMON Manuals: Even more car manuals for everyone
Home >> Isuzu >> 2004 >> Axiom Base, 4WD >> Repair and Diagnosis >> Transmission >> Automatic Trans >> Transmission Control System >> Diagnosis >> OBD II Diagnostic Management System >> Transmission Control Module (TCM) Location

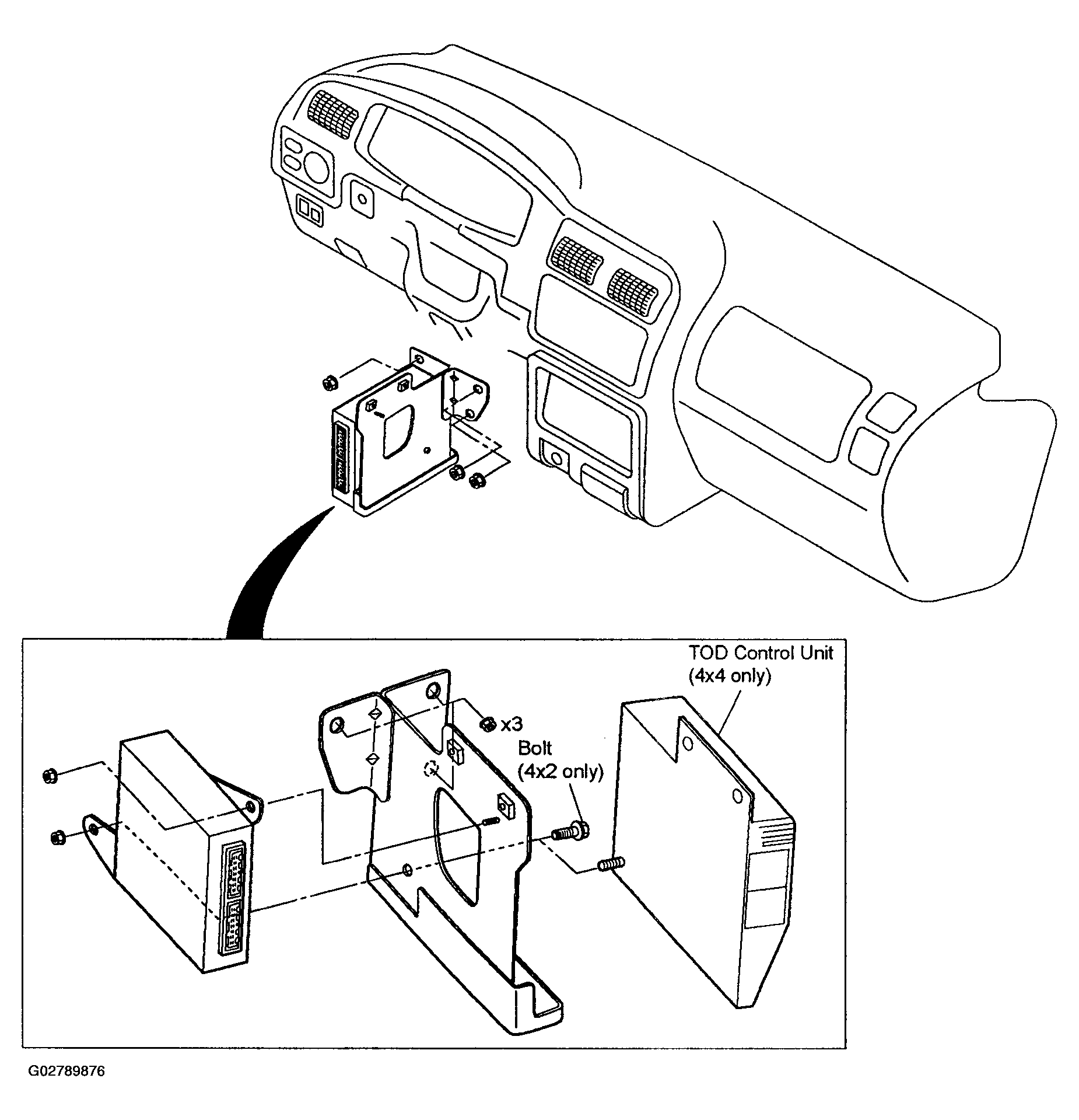
Transmission Control Module (TCM) Location

Fig 1: Locating Transmission Control Module
G02789876Courtesy of ISUZU MOTOR CO.