LEMON Manuals: Even more car manuals for everyone
Home >> Isuzu >> 2004 >> Axiom Base, 4WD >> Repair and Diagnosis >> Transmission >> Automatic Trans >> Transmission Control System >> DTC P1767: (FLASHING CODE 67) CAN Bus Communication Error >> Notes

DTC P1767: (FLASHING CODE 67) CAN Bus Communication Error: Notes

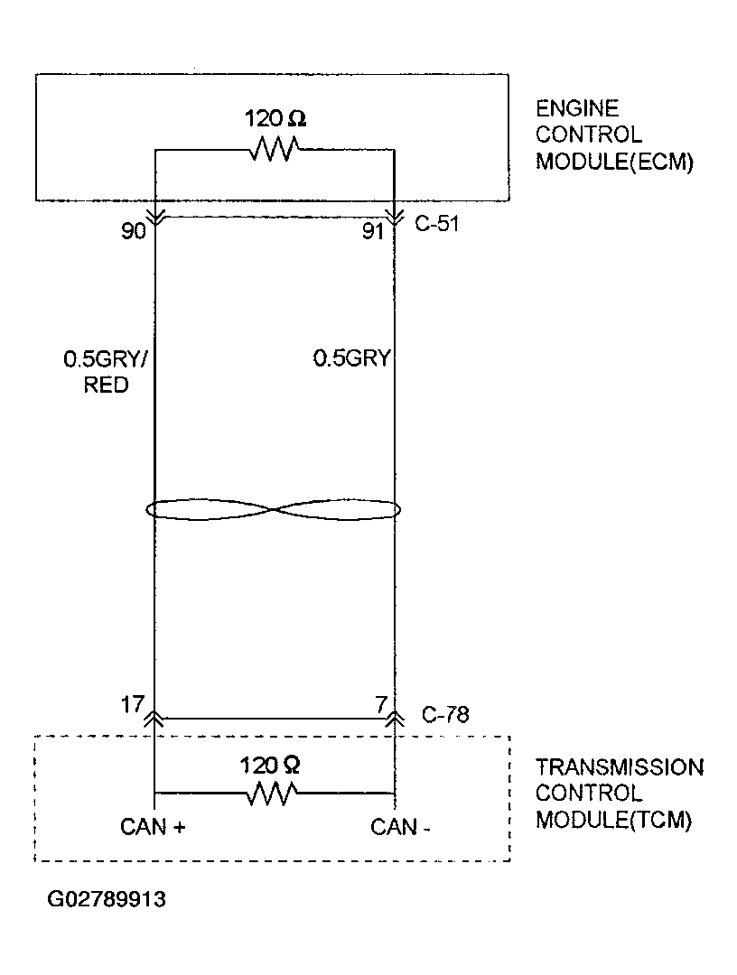
Fig 1: DTC P1767: (Flashing Code 67) CAN Bus Communication Error) Wiring Diagram
G02789913Courtesy of ISUZU MOTOR CO.