LEMON Manuals: Even more car manuals for everyone
Home >> Isuzu >> 2004 >> Axiom Base, 4WD >> Repair and Diagnosis >> Engine Performance >> System >> Engine Control System - Introduction >> On-Board Diagnostic (OBD-II) >> A/C Clutch Control Circuit Diagnosis >> Notes

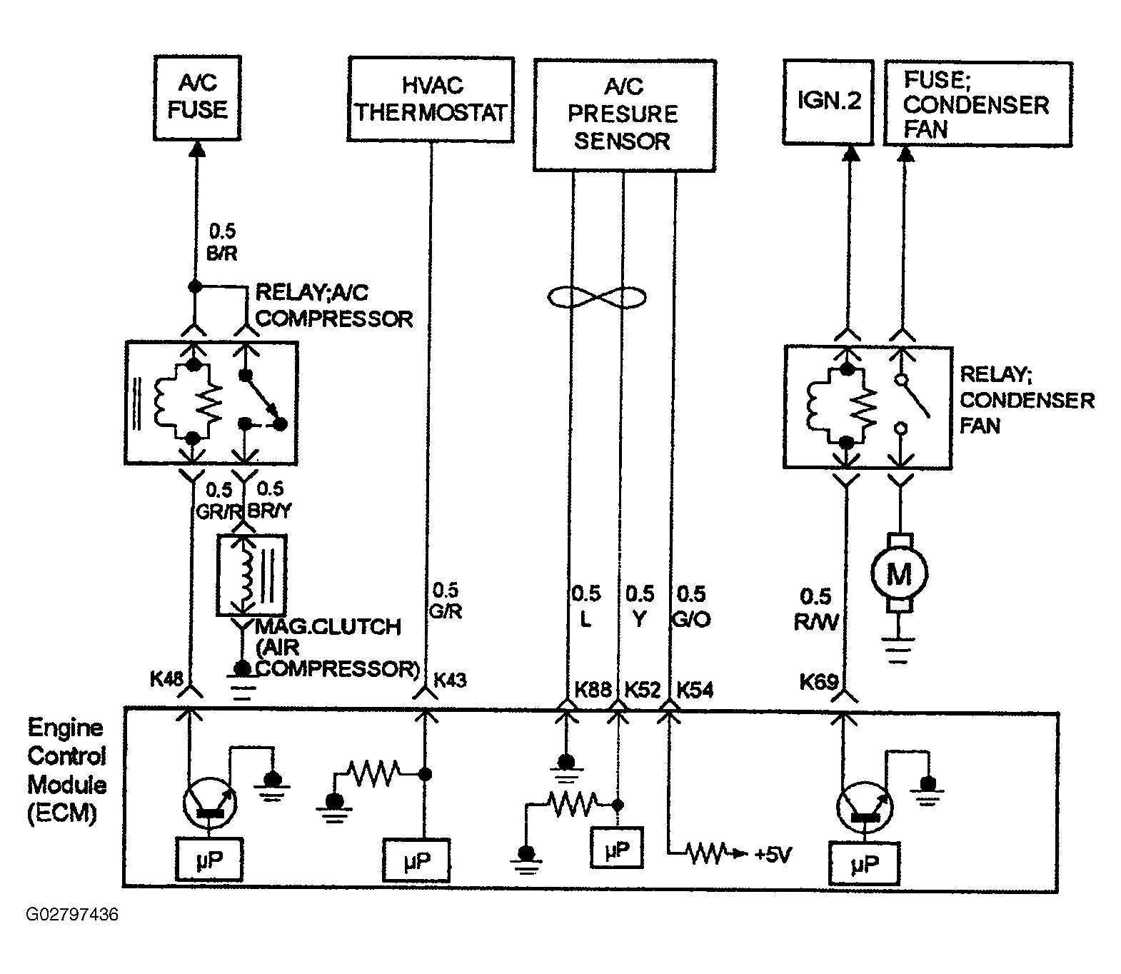
A/C Clutch Control Circuit Diagnosis: Notes

Fig 1: Identifying A/C Clutch Control Circuit Diagnosis Wiring Diagram
G02797436Courtesy of ISUZU MOTOR CO.