LEMON Manuals: Even more car manuals for everyone
Home >> Isuzu >> 2004 >> Axiom Base, 4WD >> Repair and Diagnosis >> Engine Performance >> System >> Engine Control System - Diagnostic Information & Procedures >> General Description >> General Description (Fuel Metering) >> Fuel Pump Controller

Fuel Pump Controller

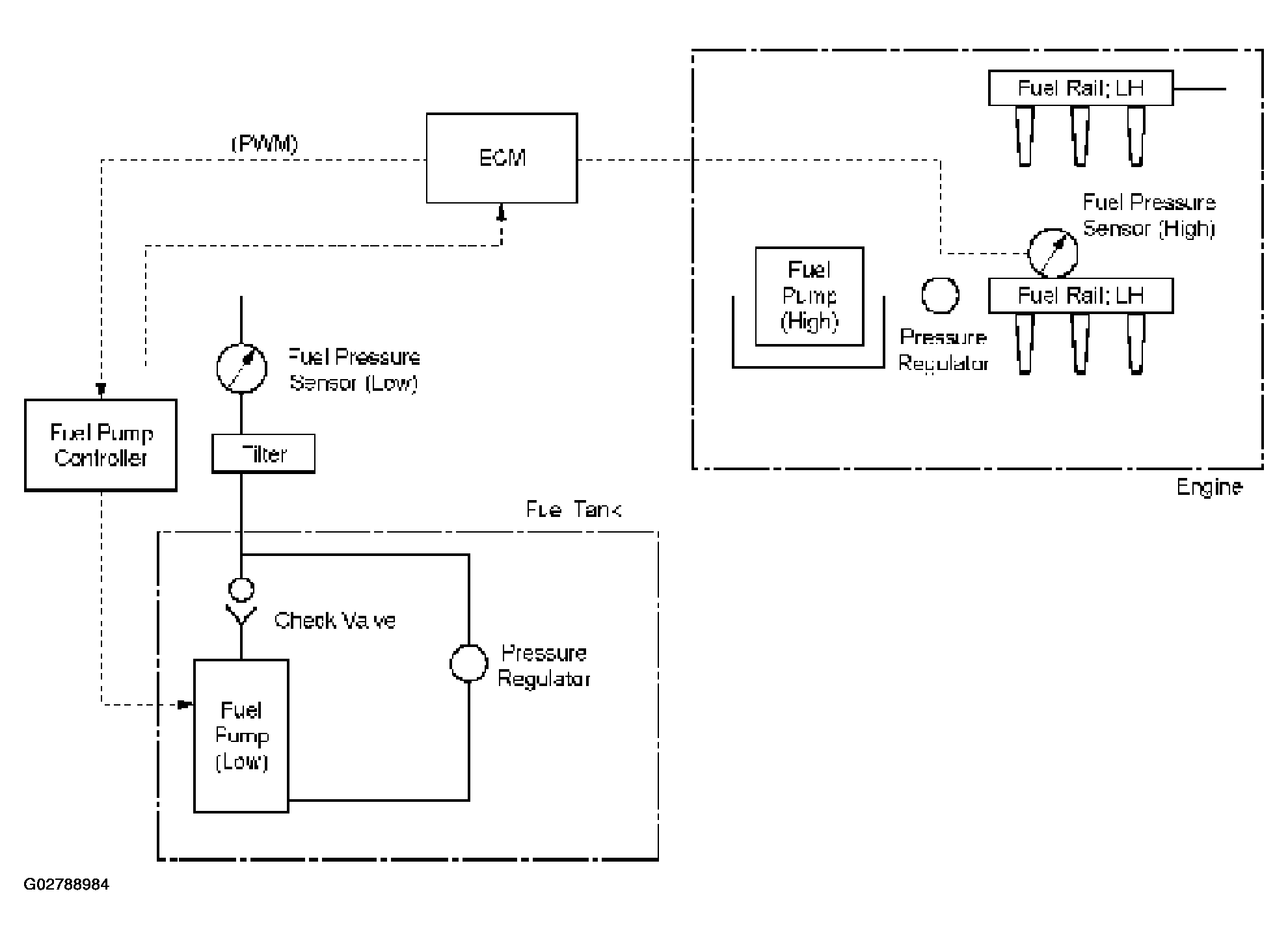
To reduce evaporative emissions, the fuel return pipe and adopt the fuel pump controller is deleted system.

The fuel pump controller receives a PWM signal from the engine control module (ECM). Current flow to the low-pressure fuel pump varies with signal strength. Pump delivery pressure and rate are regulated.

The fuel pump controller is installed to the left rear side of the vehicle frame in front of the spare tire.

Fig 1: Identifying Fuel Pump Controller
G02788983Courtesy of ISUZU MOTOR CO.
Fig 2: Identifying Flow Chart Of Fuel Pump Controller
G02788984Courtesy of ISUZU MOTOR CO.