LEMON Manuals: Even more car manuals for everyone
Home >> Isuzu >> 2003 >> Axiom Base, 4WD >> Repair and Diagnosis >> Transmission >> Transmission Control Systems >> Driveline Control System 4B1 >> Shift On The Fly System >> Outline Of Shift On The Fly System >> System Diagrams

System Diagrams

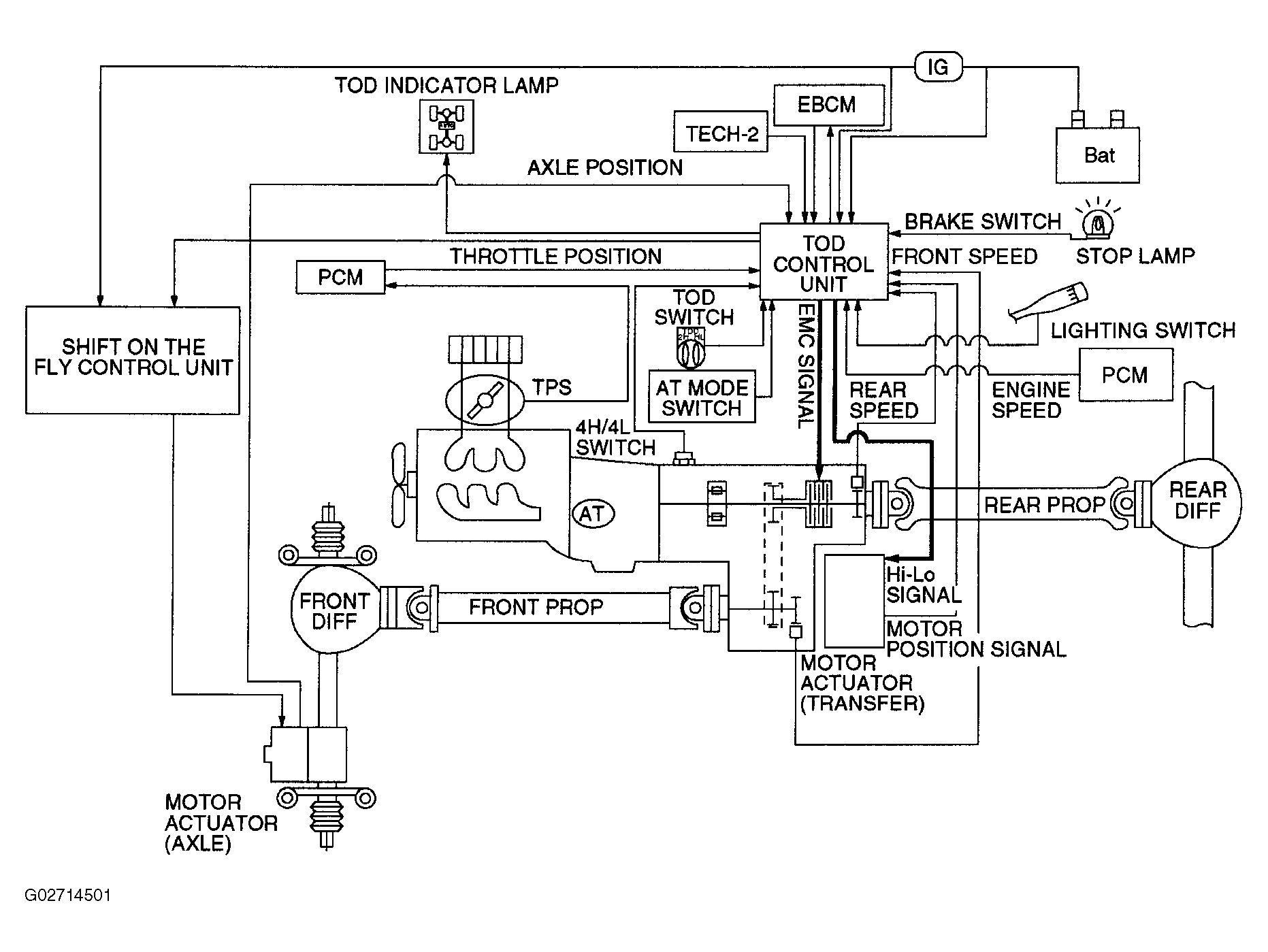
Fig 1: System Diagram - TOD Control Unit Of Shift On Fly System
G02714501Courtesy of ISUZU MOTOR CO.