LEMON Manuals: Even more car manuals for everyone
Home >> Isuzu >> 2003 >> Axiom Base, 4WD >> Repair and Diagnosis >> Transmission >> Transmission Control Systems >> Driveline Control System 4B1 >> Shift On The Fly System >> Outline Of Shift On The Fly System >> Normal Operation

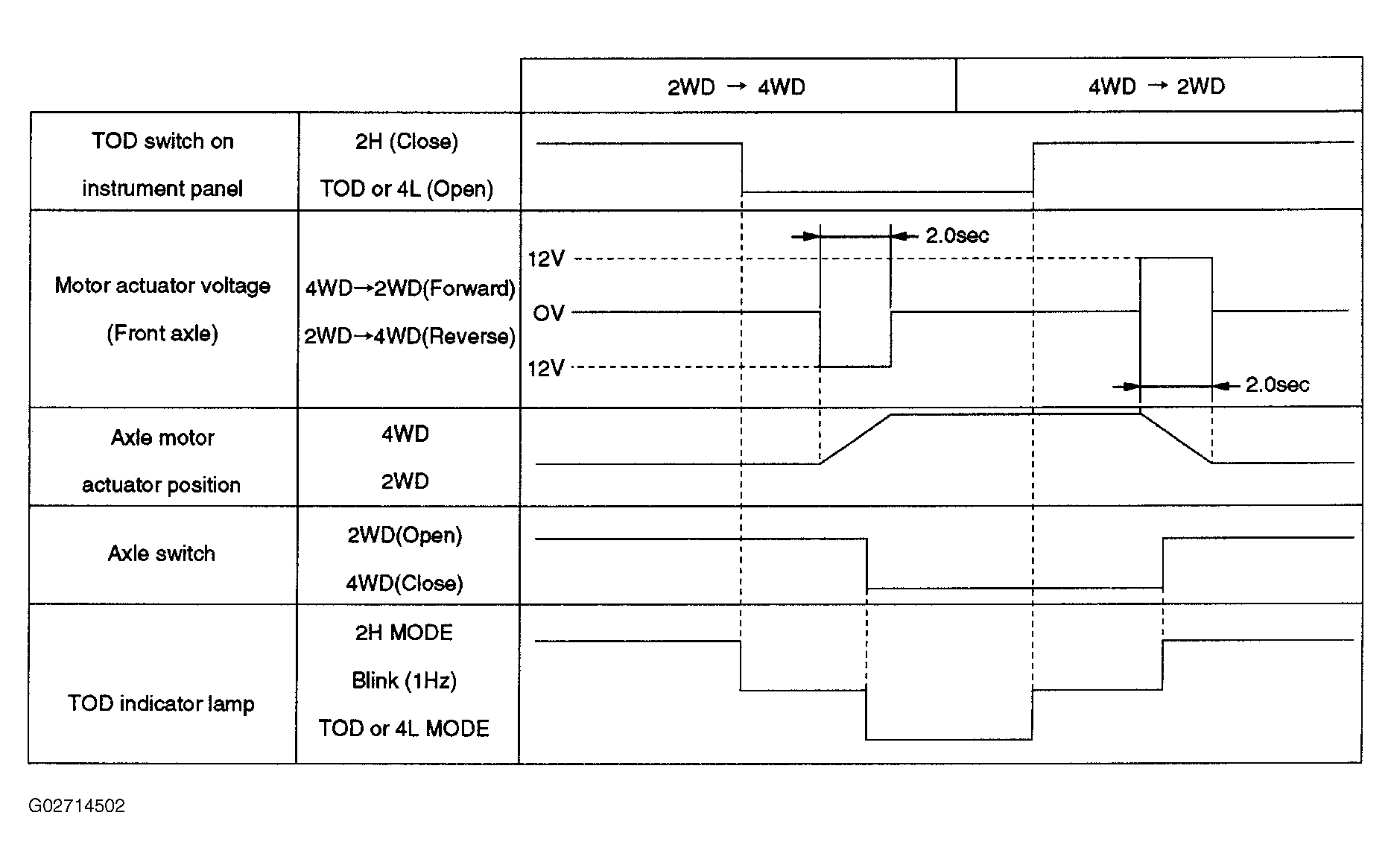
Normal Operation

The axle disconnect controller is driven by the signal from TOD control unit and the axle motor actuator connects (or disconnects when the 4WD switch is deactivated) the front wheels to the front axles.

Time Chart of Shifting Under Normal Condition 

Fig 1: TOD Switch Shifting Timing Chart (Under Normal Condition)
G02714502Courtesy of ISUZU MOTOR CO.

4WD out signal to other Electronic Brake Control Module:  TOD Control Unit of shift on the fly sends 4WD out signal to other Electronic Brake Control Module as below.

4WD OUT SIGNAL FOR OTHER ELECTRONIC BRAKE CONTROL MODULE

4WD Out Signal (Period) Vehicle Condition Transfer Position Switch Front Axle Switch
120 ms 2WD 2WD (Open) 2WD (Open)
240 ms 4WD 4WD (Close) 4WD (Close)