LEMON Manuals: Even more car manuals for everyone
Home >> Isuzu >> 2002 >> Trooper S, 4WD, Part Time >> Repair and Diagnosis >> Steering >> Steering Column >> Power-Assisted Steering System >> Supplemental Restraint System Steering Wheel & Column >> Removal

Supplemental Restraint System Steering Wheel & Column: Removal

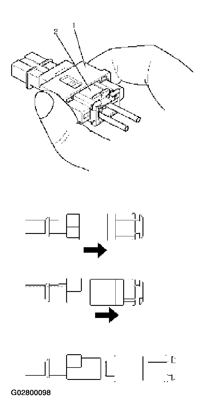
To remove the connector, hold the cover insulator (1) and pull it. The cover insulator slides and lock will be released.

Do not hold the socket insulator (2).

Fig 1: Removing Connector
G02800098Courtesy of ISUZU MOTOR CO.