LEMON Manuals: Even more car manuals for everyone
Home >> Isuzu >> 2002 >> Trooper S, 4WD, Part Time >> Repair and Diagnosis >> Steering >> Steering Column >> Power-Assisted Steering System >> Front End Alignment Inspection and Adjustment >> Toe-in Adjustment

Toe-in Adjustment

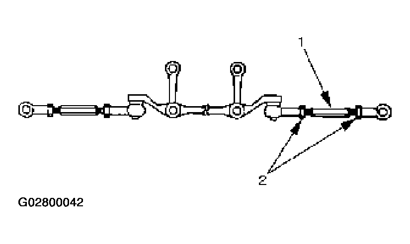
  1. To adjust the toe-in angle, loosen the lock nuts (2) on the outer track rods (1) and turn the outer track rods. Turn both rods the same amount, to keep the steering wheel centered.

    Toe-in:  0 +/- 2 mm (0 +/- 0.08 in)

    Fig 1: Adjusting Toe-in
    G02800042Courtesy of ISUZU MOTOR CO.
  2. Tighten the lock nut to the specified torque.

    Torque:  118 N.m (87 lb ft)