LEMON Manuals: Even more car manuals for everyone
Home >> Isuzu >> 2002 >> Trooper S, 4WD, Part Time >> Repair and Diagnosis >> Steering >> Steering Column >> Power-Assisted Steering System >> Front End Alignment Inspection and Adjustment >> Caster Adjustment

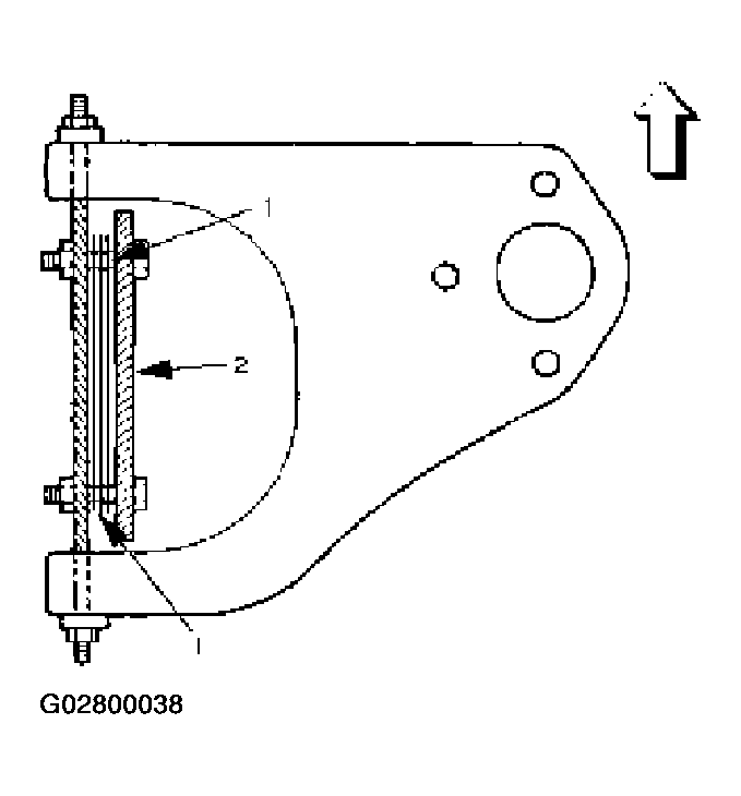
Caster Adjustment

The caster angle can be adjusted by means of the caster shims (1) installed between the chassis frame (2) and fulcrum pins.

Caster angle:  2 °10' +/- 45'

CAUTION: Left and right side must be equal within 30'.
Fig 1: Adjusting Caster Angle (1 Of 2)
G02800037Courtesy of ISUZU MOTOR CO.
Fig 2: Adjusting Caster Angle (2 Of 2)
G02800038Courtesy of ISUZU MOTOR CO.
NOTE: Difference of the caster shim front/rear thickness should be 3.6 mm (0.142 in) or less. Overall thickness of caster shim and camber shim should be 10.8 mm (0.425 in) or less.

Tighten the fulcrum pin bolt to the specified torque.

Torque:  152 N.m (112 lb ft)