LEMON Manuals: Even more car manuals for everyone
Home >> Isuzu >> 2002 >> Rodeo LSE, 2.2 D >> Repair and Diagnosis >> Steering >> Steering Column >> Power-Assisted Steering System >> Front End Alignment Inspection and Adjustment >> Caster Adjustment

Caster Adjustment

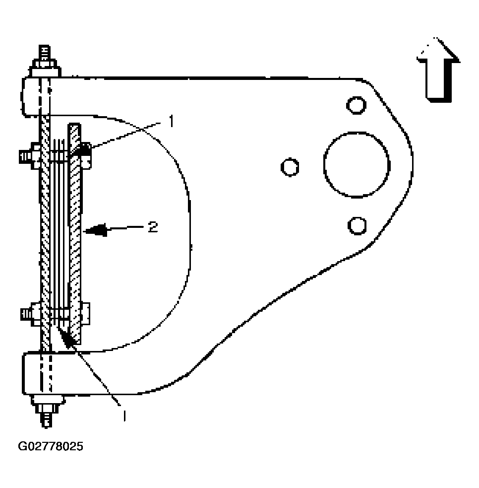
The caster angle can be adjusted by means of the caster shims (1) installed between the chassis frame (2) and fulcrum pins.

Caster angle:  2 °30' +/-1 °

CAUTION: Left and right side must be equal within 30'.
Fig 1: Adjusting Caster
G02778024
Fig 2: Identifying Caster Shim And Caster Frame
G02778025
NOTE: Difference of the caster shim front/rear thickness should be 3.6 mm (0.142 in) or less. Overall thickness of caster shim and camber shim should be 10.8 mm (0.425 in) or less.

Tighten the fulcrum pin bolt to the specified torque.

Torque:  152 N.m 112 (lb ft)