LEMON Manuals: Even more car manuals for everyone
Home >> Isuzu >> 2002 >> Rodeo LS, 2.2 D >> Repair and Diagnosis >> Steering >> Steering Column >> Power-Assisted Steering System >> Supplemental Restraint System Steering Wheel & Column >> Installation

Supplemental Restraint System Steering Wheel & Column: Installation

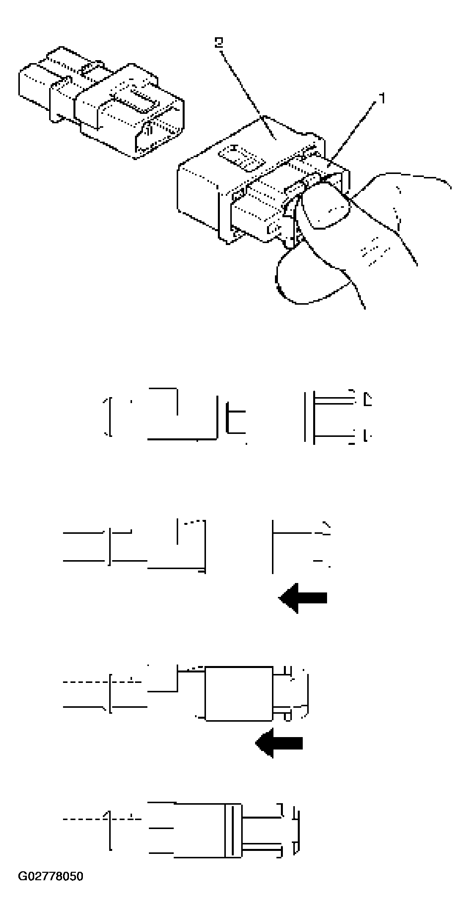
To install the connector, hold the socket insulator (1) and insert it. The cover insulator slides and connector will be locked.

Do not hold the cover insulator (2).

Fig 1: Installing Socket Insulator
G02778050