LEMON Manuals: Even more car manuals for everyone
Home >> Isuzu >> 2000 >> VehiCROSS >> Repair and Diagnosis (Single Page) >> Electrical >> Charging Systems >> Generators & Regulators >> Bench Testing >> Rectifier (Diode) Assembly

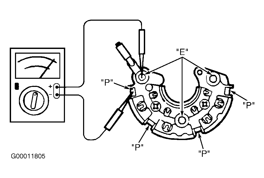
Rectifier (Diode) Assembly

Using an ohmmeter, check continuity of diodes in both directions. See Fig 1-Fig 3 . Continuity should be present in one direction only. If there is continuity in both directions, diode is shorted. If there is no continuity in either direction, diode is open. If any diode is defective, replace entire rectifier assembly. See OVERHAUL .

Fig 1: Testing Rectifier Assembly (Amigo, Passport & Rodeo 2.2L)
G00011803Courtesy of ISUZU MOTOR CO.
Fig 2: Testing Rectifier Assembly (Amigo, Passport & Rodeo 3.2L)
G00011804Courtesy of ISUZU MOTOR CO.
Fig 3: Testing Rectifier Assembly (Trooper & VehiCROSS)
G00011805Courtesy of ISUZU MOTOR CO.