LEMON Manuals: Even more car manuals for everyone
Home >> Infiniti >> 2024 >> QX55 Essential >> Repair and Diagnosis >> Steering >> Steering Control Systems >> Steering Control System (Direct Adaptive Steering) >> Removal And Installation >> Steering Angle Main Control Module >> Removal and Installation

Removal and Installation

CAUTION:
  • Perform additional service when replacing control module. Refer to Description .
  • When off-center is bigger than 120°, refer to Diagnosis Procedure  to correct off-center before performing the work.

REMOVAL 

  1. Remove passenger side fender protector. Refer to Removal and Installation .
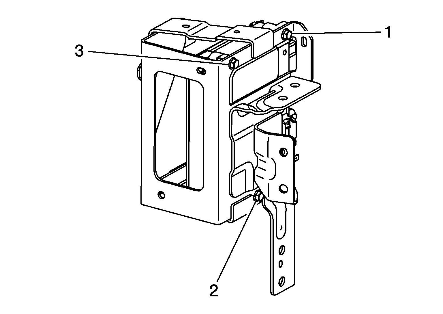
  2. Disconnect steering angle main control module connectors. Refer to Exploded View .
  3. Remove the bolts of steering angle main control module. Refer to Exploded View .
  4. Remove the steering angle main control module.
    CAUTION:

    When replacing control module, replace the following control modules as a set:

    • Steering force control module
    • Steering angle main control module
    • Steering angle sub control module

INSTALLATION 

CAUTION:
  • Perform additional service when replacing control module. Refer to Description .
  • When off-center is bigger than 120°, refer to Diagnosis Procedure  to correct off-center before performing the work.

Note the following, and install in the reverse order of removal.

(Bolts) : 6.4 N.m (0.65 kg-m, 57 in-lb)