LEMON Manuals: Even more car manuals for everyone
Home >> Infiniti >> 2024 >> QX55 Essential >> Repair and Diagnosis >> Engine Performance >> Engine Control Systems >> Engine Control System (2 Of 2) >> Removal And Installation >> Fuel Pump Control Module (FPCM) >> Exploded View

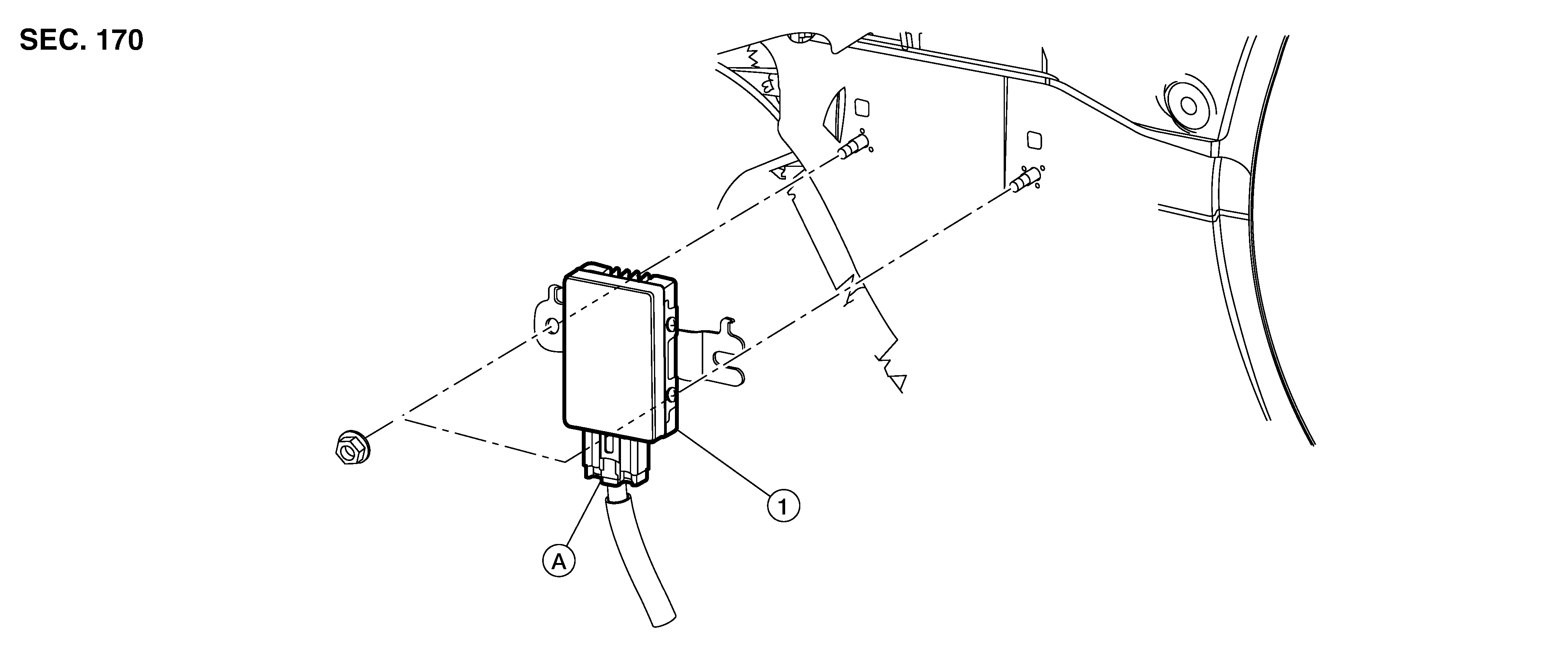
Exploded View

GNSDB138409Courtesy of NISSAN NORTH AMERICA, INC.
1. Fuel pump control module A. Fuel pump control module harness