LEMON Manuals: Even more car manuals for everyone
Home >> Infiniti >> 2023 >> QX55 Essential >> Repair and Diagnosis >> Engine Performance >> Engine Control Systems >> Engine Control System (3 Of 3) >> Removal And Installation >> Fuel Pump Control Module (FPCM) >> Exploded View

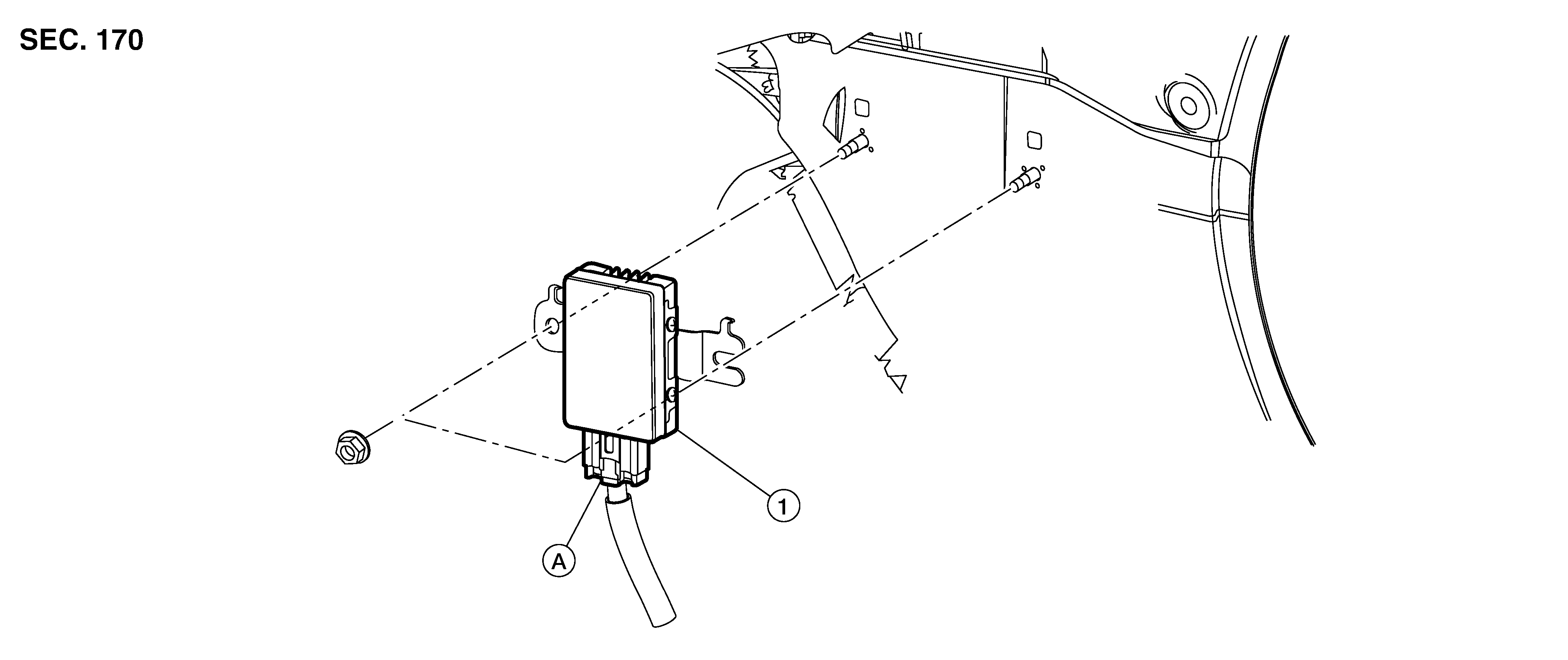
Exploded View

GNSDB39052Courtesy of NISSAN NORTH AMERICA, INC.

1.

Fuel pump control module

A.

Fuel pump control module harness