LEMON Manuals: Even more car manuals for everyone
Home >> Infiniti >> 2019 >> QX30 Essential, AWD >> Repair and Diagnosis >> Steering >> Steering Control Systems >> Steering Control System >> System Description >> System >> Circuit Diagram

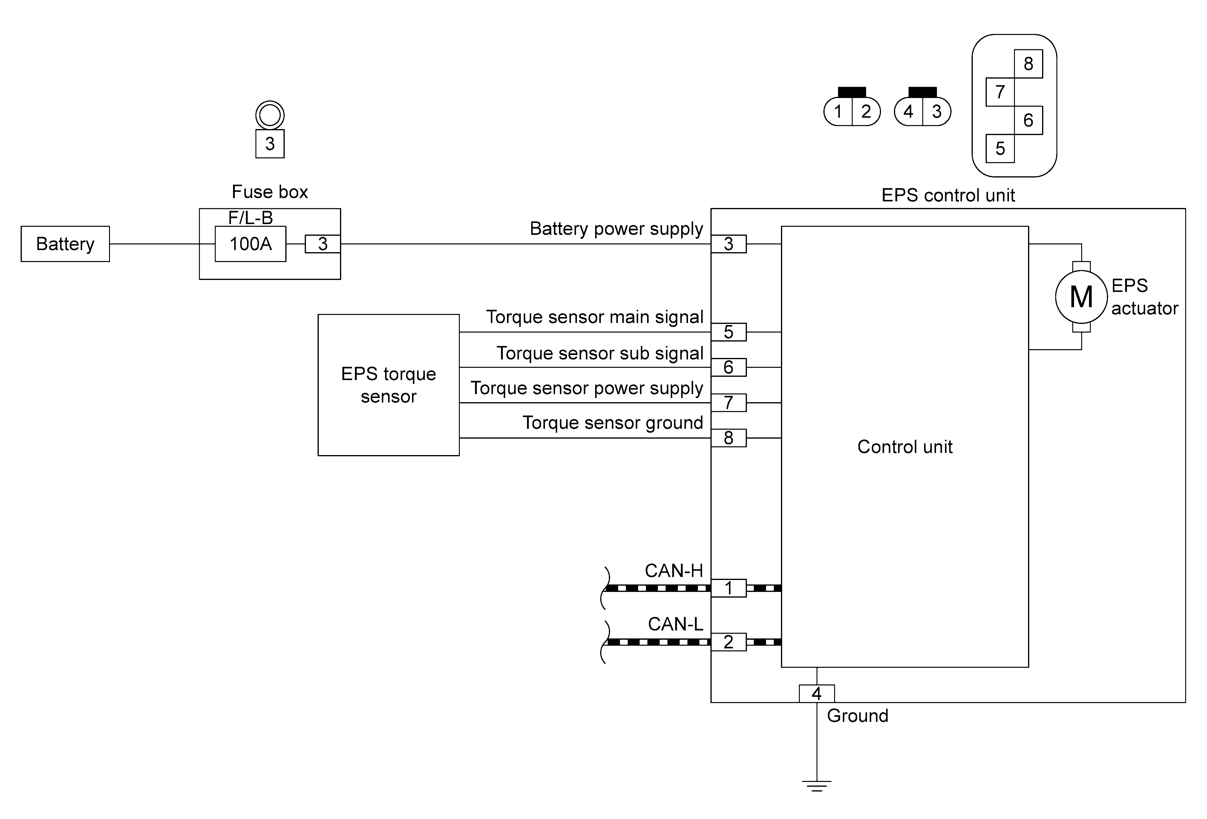
Circuit Diagram

GNSJSGIA2089GB-089Courtesy of NISSAN NORTH AMERICA, INC.