LEMON Manuals: Even more car manuals for everyone
Home >> Infiniti >> 2018 >> QX80 AWD >> Repair and Diagnosis >> External Pages >> Different car >> Section 11 (Security Control System) >> System Description >> System >> INFINITI Vehicle Immobilizer System-NATS >> System Diagram

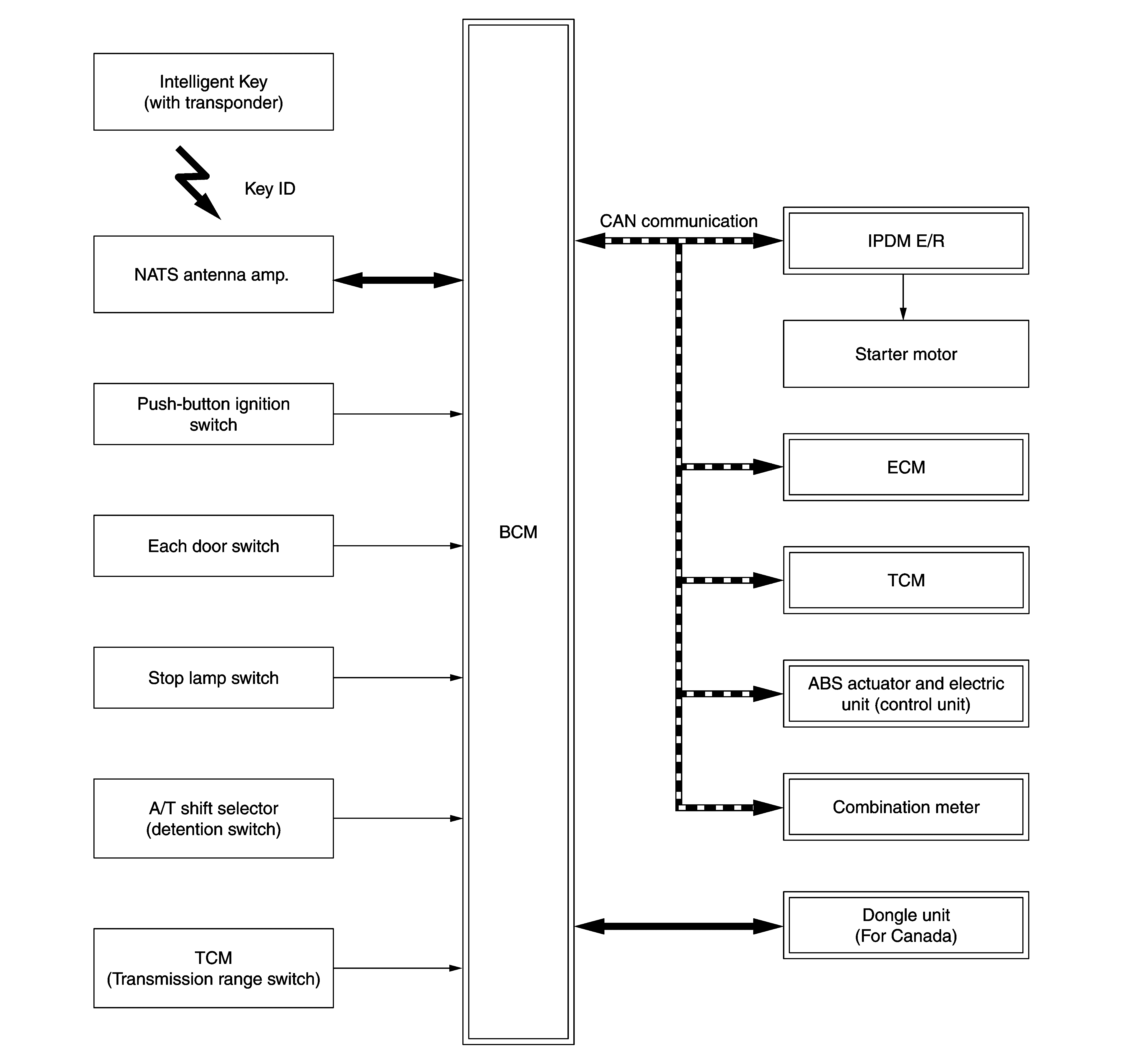
System Diagram

WARNING: This page is about a different car, the 2019 Nissan Armada and 2018 Nissan Armada. However, it is still accessible from the selected car via links, so may be relevant.
G08877925Courtesy of NISSAN NORTH AMERICA, INC.