LEMON Manuals: Even more car manuals for everyone
Home >> Infiniti >> 2018 >> QX60 AWD >> Repair and Diagnosis >> Engine Performance >> System >> Engine Control System (Introduction And Basic Inspection) >> Basic Inspection >> Fuel Pressure Check >> Work Procedure >> Low Fuel Pressure Check

Low Fuel Pressure Check

CAUTION:
  • Before disconnecting fuel line, release fuel pressure from fuel line to eliminate danger.
  • The fuel hose connection method used when taking fuel pressure check must not be used for other purposes.
  • Be careful not to scratch or put debris around connection area when servicing, so that the quick connector maintains sealability with O-rings inside.
  • Do not perform fuel pressure check with electrical systems operating (i.e. lights, rear defogger, A/C, etc.) Fuel pressure gauge may indicate false readings due to varying engine load and changes in manifold vacuum.
NOTE: Prepare pans or saucers under the disconnected fuel line because the fuel may spill out. The fuel pressure cannot be completely released because this model does not have fuel return system.
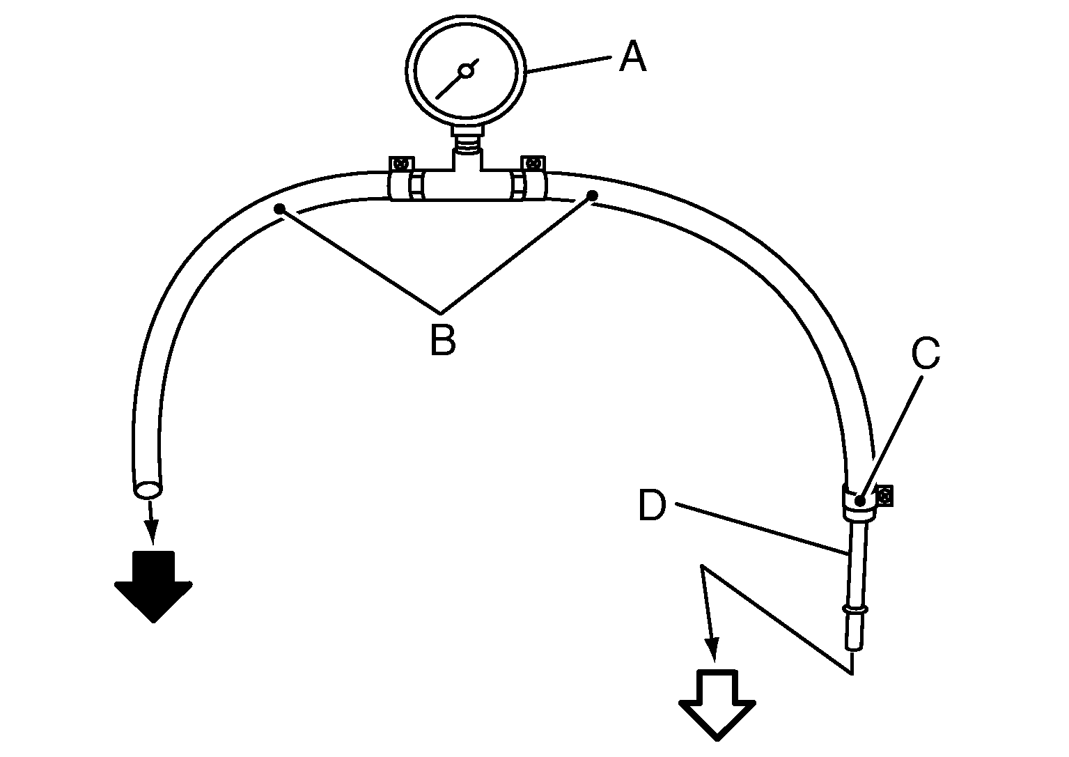
  1. FUEL PRESSURE CHECK 
    1. Release fuel pressure to zero.
    2. Prepare fuel hose for fuel pressure check (B) and fuel tube adapter [SST: KV10120000] (D), then connect fuel pressure gauge (A).
      G04811964Courtesy of NISSAN NORTH AMERICA, INC.

      SYMBOL

      : To quick connector

      SYMBOL

      : To fuel tube (engine side)

      C

      : Clamp

      CAUTION:
      • Use suitable fuel hose for fuel pressure check (genuine NISSAN fuel hose without quick connector).
      • To avoid unnecessary force or tension to hose, use moderately long fuel hose for fuel pressure check.
      • Do not use the fuel hose for checking fuel pressure with damage or cracks on it.
      • Use Pressure Gauge to check fuel pressure.
    3. Remove fuel hose.
      CAUTION: Do not twist or kink fuel hose because it is plastic hose.
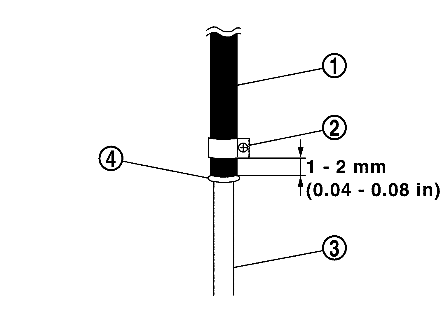
    4. Connect fuel hose for fuel pressure check SYMBOL to fuel tube (engine side) SYMBOL with clamp SYMBOL as shown in the figure, below.
      G06932992Courtesy of NISSAN NORTH AMERICA, INC.
      CAUTION:
      • Wipe off oil or dirt from hose insertion part using cloth moistened with gasoline.
      • Apply proper amount of gasoline between top of the high pressure fuel pump SYMBOL and spool SYMBOL .
      • Insert fuel hose for fuel pressure check until it touches the spool on high pressure fuel pump.
      • Use NISSAN genuine hose clamp (part number: 16439 N4710 or 16439 40U00).
      • When reconnecting fuel line, always use new clamps.
      • Use a torque driver to tighten clamps.

        Tightening torque

        : 1.3 N.m (0.13 kg-m, 12 in-lb)

      • Install hose clamp to the position within 1 - 2 mm (0.04 - 0.08 in).
      • Make sure that clamp screw does not contact adjacent parts.
      • After connecting fuel hose for fuel pressure check, pull the hose with a force of approximately 98 N (10 kg, 22 lb) to confirm high pressure fuel pump does not come off.
    5. Connect fuel tube adapter (B) to quick connector SYMBOL .
      GNSALBIA3189Z-189Courtesy of NISSAN NORTH AMERICA, INC.

      A

      : Fuel pressure gauge

    6. Turn ignition switch ON and check for fuel leakage.
    7. Start engine and check for fuel leakage.
    8. Read the indication of fuel pressure gauge.
      CAUTION:
      • Do not perform fuel pressure check with system operating. Fuel pressure gauge may indicate false readings.
      • During fuel pressure check, confirm for fuel leakage from fuel connection every 3 minutes.

      At idling

      : Approximately 500 kPa (5.0 bar, 5.1 kg/cm 2 , 73 psi?

    Is the inspection result normal?

    YES

    INSPECTION END

    NO

    GO TO 2.

  2. CHECK FUEL HOSES 

    Check the following.

    • Fuel hoses for clogging
    • Fuel filter for clogging
    • Low pressure fuel pump
    • Fuel pressure regulator for clogging

    Is the inspection result normal?

    YES

    Replace fuel pressure regulator.

    NO

    Repair or replace error-detected parts.