LEMON Manuals: Even more car manuals for everyone
Home >> Infiniti >> 2018 >> QX60 AWD >> Repair and Diagnosis >> Body & Frame >> Windows >> Power Window Control System >> System Description >> System >> System Diagram

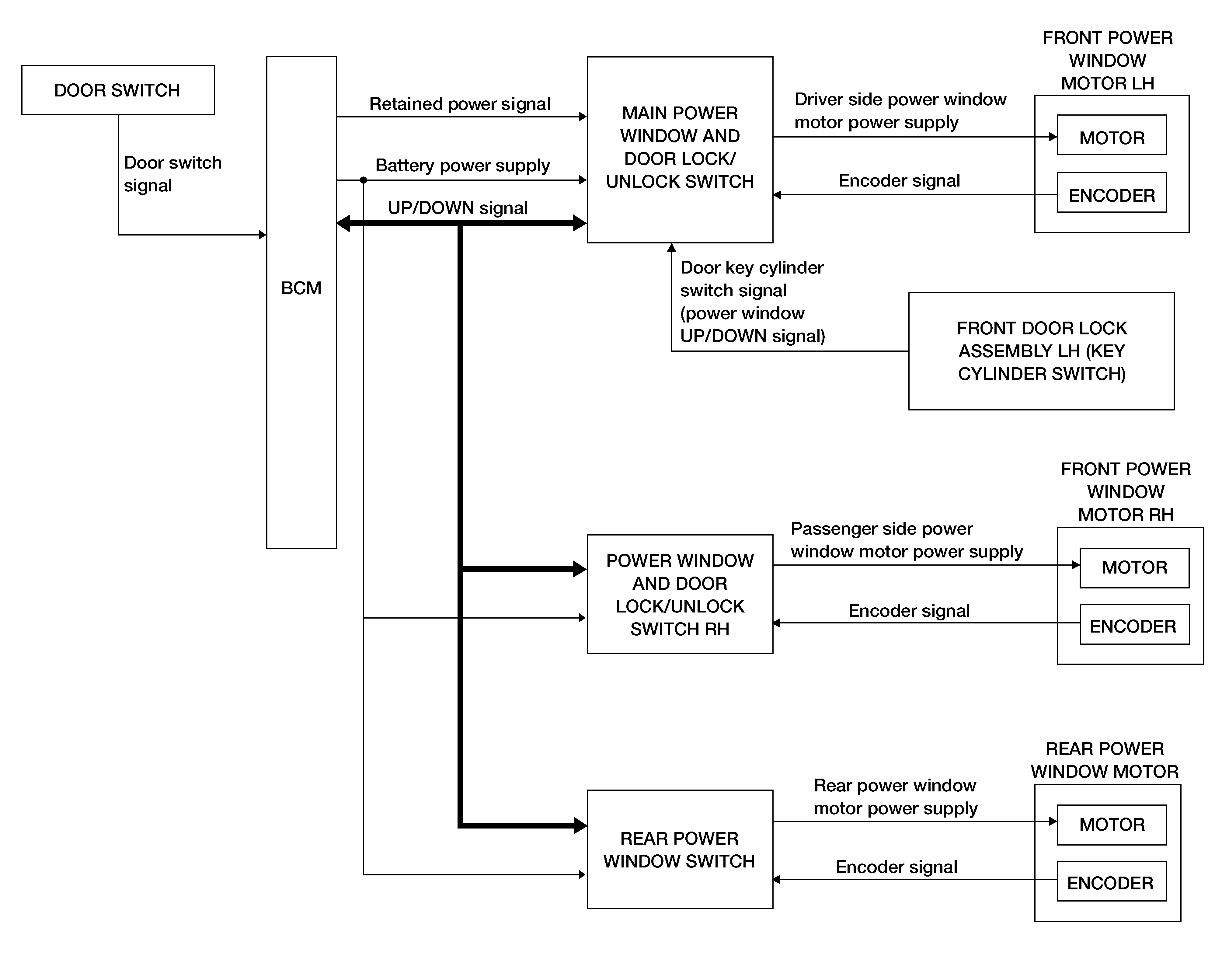
System Diagram

GNSAWKIA3969GB-969Courtesy of NISSAN NORTH AMERICA, INC.