LEMON Manuals: Even more car manuals for everyone
Home >> Infiniti >> 2018 >> Q60 Pure, AWD >> Repair and Diagnosis >> Steering >> Steering Control Systems >> Steering Control System - Direct Adaptive Steering (Introduction And Basic Inspection) >> Direct Adaptive Steering >> Basic Inspection >> DAST Calibration (Mode2) >> Description

DAST Calibration (Mode2): Description

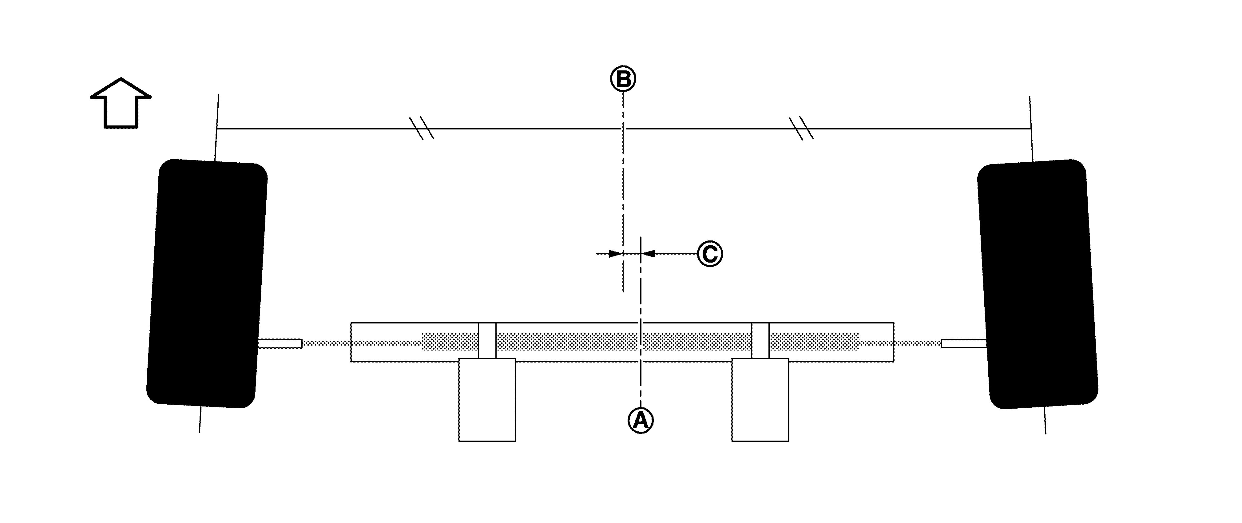
"DAST CALIBRATION (MODE2)" is a function to calculate an off-center of the steering rack after adjust toe-in without using the alignment tester.

Off-center SYMBOL is calculated by the difference between a neutral position of the vehicle's alignment SYMBOL and the neutral position of the steering rack SYMBOL . Refer to Work Procedure .

CAUTION: When adjusting toe-in without using the alignment tester, always perform "DAST CALIBRATION (MODE2)".
GNSJSGIA1330Z-330Courtesy of NISSAN NORTH AMERICA, INC.

SYMBOL : Vehicle front