LEMON Manuals: Even more car manuals for everyone
Home >> Infiniti >> 2018 >> Q60 Pure, AWD >> Repair and Diagnosis >> Steering >> Steering Control Systems >> Steering Control System - Direct Adaptive Steering (Introduction And Basic Inspection) >> Direct Adaptive Steering >> Basic Inspection >> DAST Calibration (Mode1) >> Description

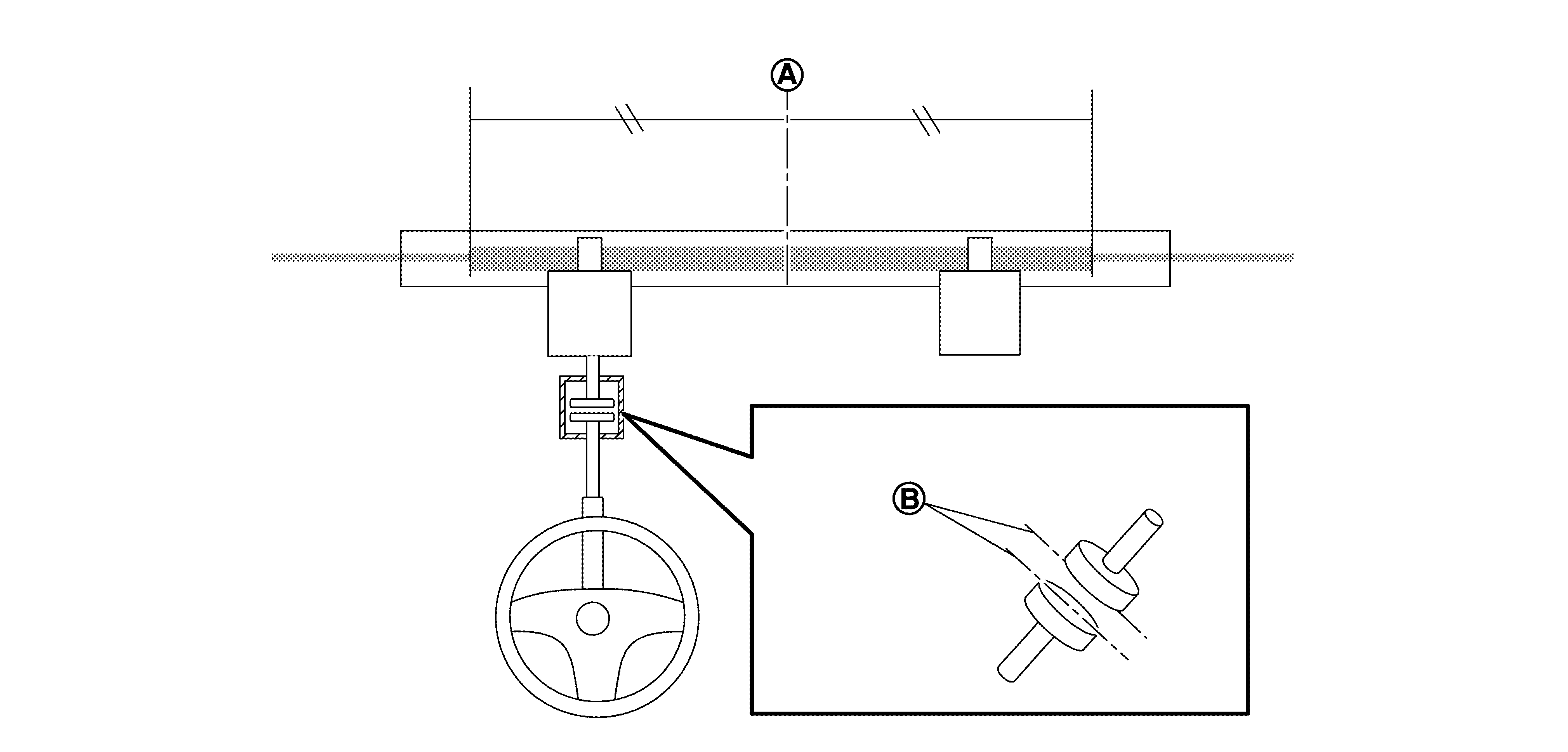
DAST Calibration (Mode1): Description

"DAST CALIBRATION (MODE1)" is a function to learn the neutral position of steering rack SYMBOL and the clutch phase position SYMBOL by moving the steering rack automatically. Refer to Work Procedure .

GNSJSGIA1328Z-328Courtesy of NISSAN NORTH AMERICA, INC.