LEMON Manuals: Even more car manuals for everyone
Home >> Infiniti >> 2017 >> QX80 Base, AWD >> Repair and Diagnosis >> Steering >> Steering Column >> Steering System >> System Description >> System >> System Description (Heated Steering Wheel) >> System Diagram

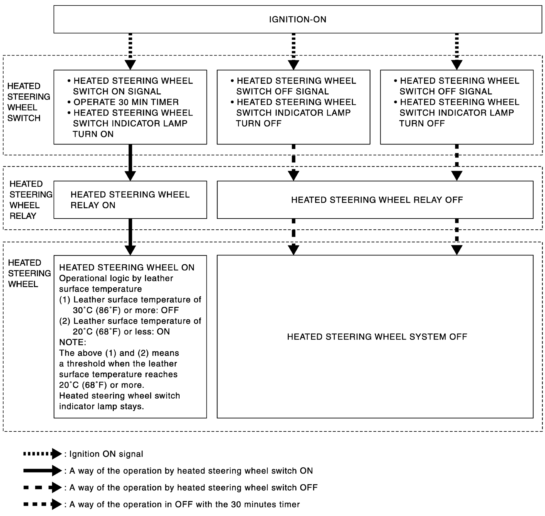
System Diagram

G07025246Courtesy of NISSAN NORTH AMERICA, INC.