LEMON Manuals: Even more car manuals for everyone
Home >> Infiniti >> 2017 >> QX80 Base, AWD >> Repair and Diagnosis >> Steering >> Steering Column >> Steering System >> Removal And Installation >> Steering Gear And Linkage >> Disassembly And Assembly >> Assembly

Disassembly And Assembly: Assembly

  1. Apply recommended fluid to O-ring, and then install O-ring to gear housing assembly.
    CAUTION:

    Never reuse O-ring.

  2. Install gear-sub assembly to gear housing assembly.
    CAUTION:

    In order to protect oil seal from any damage, insert gear-sub assembly straightly.

  3. Install inner socket to gear housing assembly with the following procedure.
    1. Apply thread locking sealant into the thread of inner socket.

      Use Genuine High Strength Thread Locking Sealant or equivalent.  Refer to RECOMMENDED CHEMICAL PRODUCTS AND SEALANTS .

  4. Screw inner socket into rack part and tighten at the specified torque.
  5. Decide on the neutral position of the rack stroke (L).
    G04144858Courtesy of NISSAN NORTH AMERICA, INC.
    Rack stroke neutral position (L) : Refer to RACK STROKE .
  6. Install rear cover cap to gear sub-assembly.
    CAUTION:

    Make sure that the position of rear cover cap is aligned with the marking position of gear housing assembly.

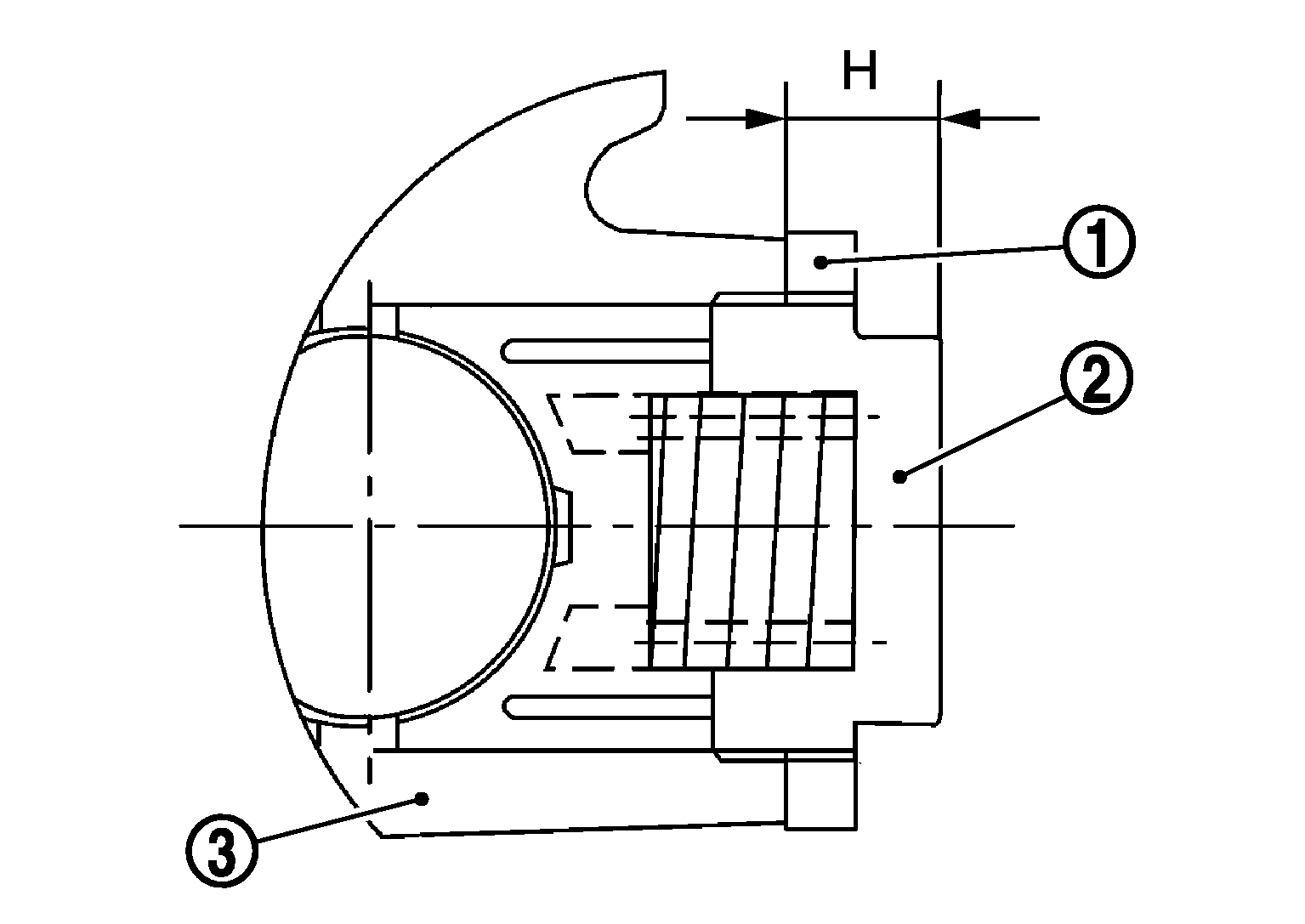
  7. Install adjusting screw with the following procedure.
    1. Set rack to the neutral position without fluid in the gear.
    2. Apply recommended sealant into the thread of adjusting screw (2) (2 turns thread), and then screw in the adjusting screw until it reaches height (H) from gear housing assembly (3) measured before disassembling.
      G07025282Courtesy of NISSAN NORTH AMERICA, INC.

      Use Genuine Liquid Gasket, Three Bond 1111B or equivalent. 

    3. Tighten the adjusting screw lock nut (1) to the specified torque.
  8. Move rack assembly 10 strokes throughout the full stroke so that the parts can fit with each other.
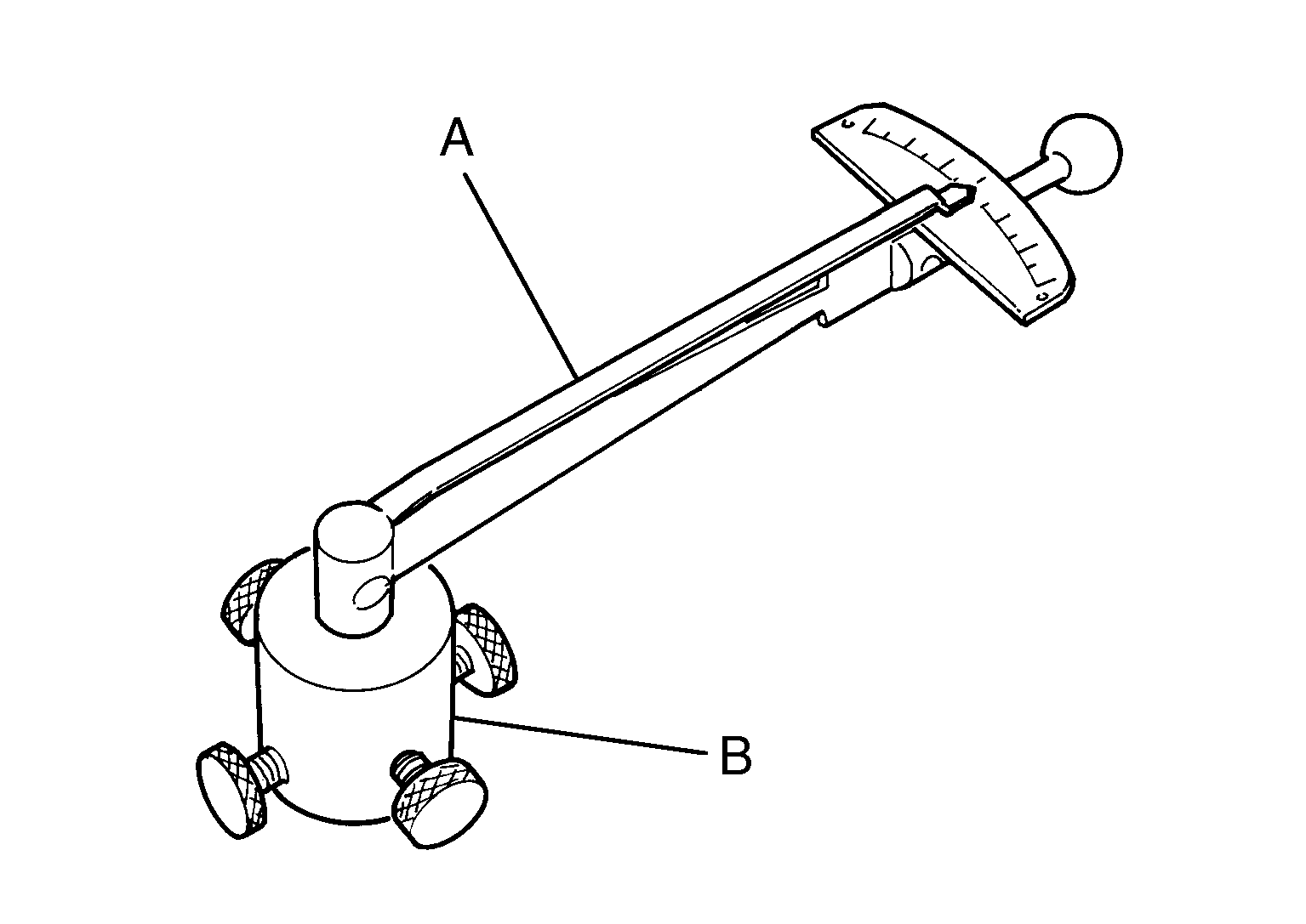
  9. Check pinion rotating torque within the range of +-180° from neutral position of the rack assembly using special service Tools. Stop the gear at the point of maximum torque.
    G04129042Courtesy of NISSAN NORTH AMERICA, INC.
    A: Preload gauge [SST: ST3127S000 (J-25765-A)]
    B: Preload adapter [SST: KV48103400 (-)]
    1. Loosen adjusting screw lock nut, then retighten adjusting screw to 9.8 N•m (1.0 kg - m, 87 in - lb).
    2. Loosen adjusting screw by 27° to 40°.
    3. Prevent adjusting screw from turning, and tighten lock nut to 40 - 58 N•m (4.1 - 5.9 kg - m, 30 - 42 ft - lb).
    4. Measure pinion rotating torque using special service Tools to make sure that the measured value is within the standard. Readjust if the value is outside the standard. Replace steering gear assembly, if the value is outside the standard after readjusting.
      G07019595Courtesy of NISSAN NORTH AMERICA, INC.
      Pinion rotating torque
        Around neutral position (within+-100°) average "A" : 0.70 - 2.0 N•m (0.08 - 0.20 kg-m, 7 - 17 in-lb)
        Maximum variation "B" : 2.30 N•m (0.23 kg - m, 20 in - lb)
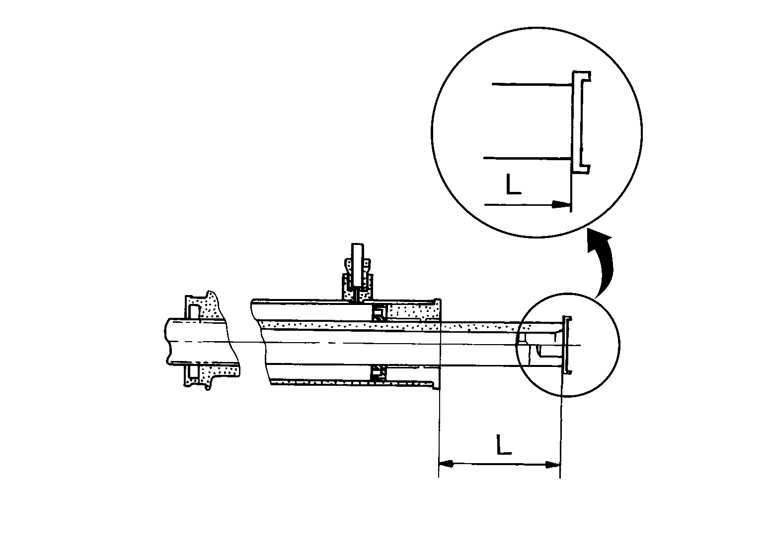
  10. Check vertical movement with the following procedure.
    1. Turn pinion fully to left.
    2. Install dial indicator at 5 mm (0.20 in) (L) from the edge of gear housing assembly (1), and tooth point.
      G05224425Courtesy of NISSAN NORTH AMERICA, INC.
    3. Measure vertical movement of rack assembly when pinion is turned clockwise with torque of 19.6 N•m (2.0 kg - m, 14 ft - lb).
      Vertical movement : 0.265 mm (0.0104 in)
      • If measured value is outside of the specification, readjust screw angle with adjusting screw.
        CAUTION:

        If measured value is still outside of specification, replace steering gear assembly.

  11. Install large end of boot to gear housing assembly.
    G04122122Courtesy of NISSAN NORTH AMERICA, INC.
    CAUTION:

    Never reuse boot.

  12. Install small end of boot to inner socket boot mounting groove.
  13. Install boot clamp to boot small end.
  14. Install boot clamp to the large side using the boot band crimping tool (A) [SST: KV40107300 (-)].
    G05224311Courtesy of NISSAN NORTH AMERICA, INC.
    CAUTION:

    Never reuse boot clamp.

  15. Install cylinder tubes to gear housing assembly.
  16. Adjust inner socket to standard length (L), and then tighten lock nut (1) to the specified torque. Check length again after tightening lock nut.
    G07052996Courtesy of NISSAN NORTH AMERICA, INC.
    Inner socket length (L) : Refer to INNER SOCKET LENGTH .
    CAUTION:

    Adjust toe-in after this procedure. The length achieved after toe-in adjustment is not necessary the above value.