LEMON Manuals: Even more car manuals for everyone
Home >> Infiniti >> 2017 >> QX80 Base, AWD >> Repair and Diagnosis >> Steering >> Steering Column >> Steering System >> Removal And Installation >> Power Steering Oil Pump >> Disassembly And Assembly >> Assembly

Disassembly And Assembly: Assembly

CAUTION:
  • Fix oil pump with a vise if necessary.
  • Use copper plates when fixing with a vise.
  1. Apply recommended grease to oil seal lips (1). Apply recommended fluid to around oil seal. Install oil seal to body assembly, using a drift.
    G04129057Courtesy of NISSAN NORTH AMERICA, INC.
    CAUTION:

    Never reuse oil seal.

  2. Apply recommended fluid to drive shaft, and press drive shaft into body assembly, then install snap ring.
    CAUTION:

    Never reuse snap ring.

  3. Apply recommended fluid to O-ring, and then install O-ring into body assembly.
    CAUTION:

    Never reuse O-ring.

  4. Install side plate to body assembly.
    G04076800Courtesy of NISSAN NORTH AMERICA, INC.
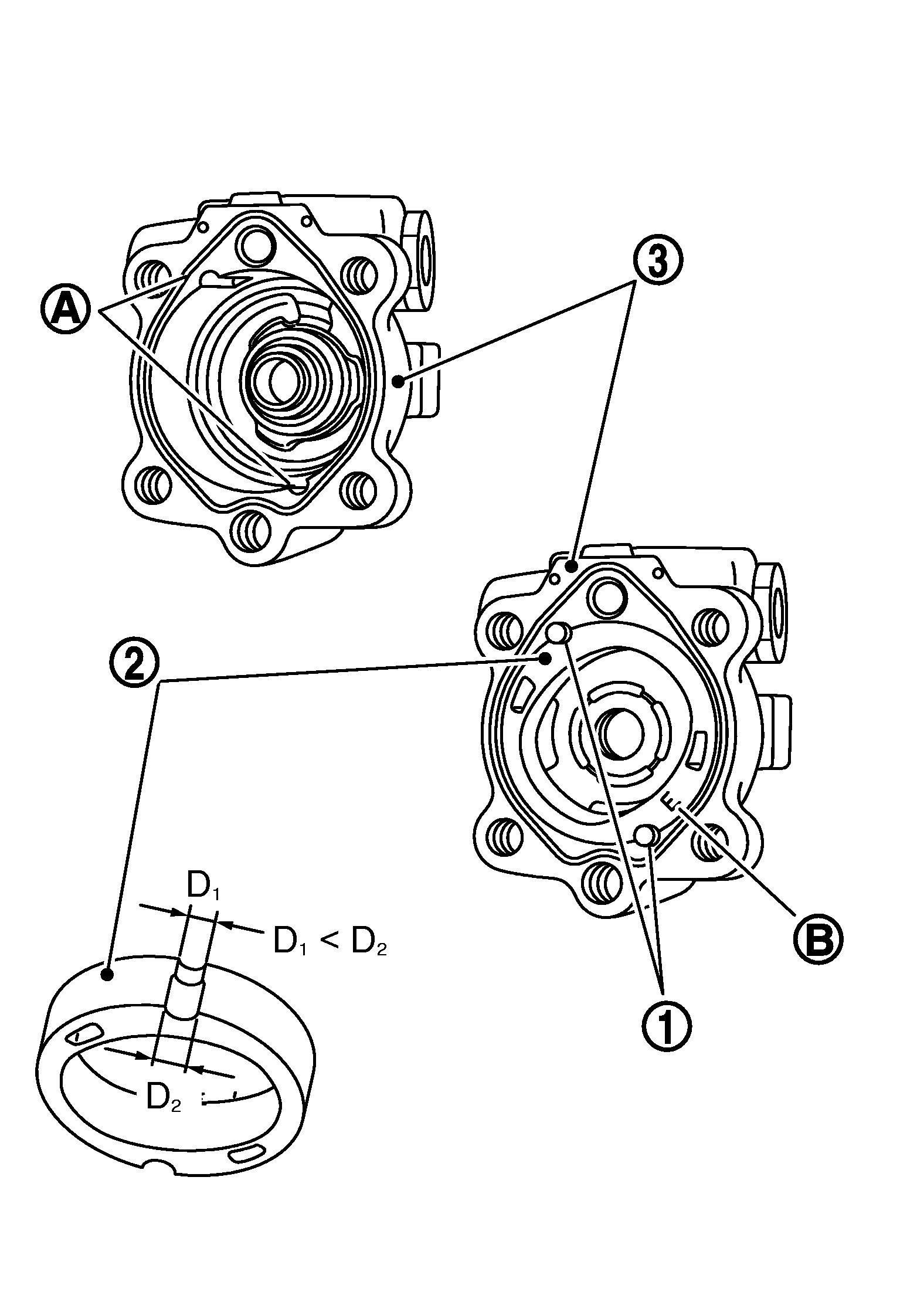
  5. Install dowel pin (1) into dowel pin hole (A), and then install cam ring (2) pointing it's D1 side toward the body assembly (3) side as shown in the figure.
    G05224495Courtesy of NISSAN NORTH AMERICA, INC.
    • When installing cam ring, turn carved face with a letter E (B) of it to rear cover.
      CAUTION:

      Do not confuse the assembling direction of cam ring. If cam ring is installed facing the incorrect direction, it may cause oil pump operation malfunction.

  6. Install rotor to body assembly.
    G05224480Courtesy of NISSAN NORTH AMERICA, INC.
    CAUTION:

    When installing rotor, turn mark face on rotor to body assembly.

  7. Install vane to rotor so that arc of vane faces cam ring side.
    G04076792Courtesy of NISSAN NORTH AMERICA, INC.
  8. Check if drive shaft assembly turns smoothly.
  9. Install gasket to body assembly.
    CAUTION:

    Never reuse gasket.

  10. Install rear cover to body assembly, and then tighten mounting bolts to the specified torque.
  11. Install pulley and washer to drive shaft, and then tighten lock nut at the specified torque.
  12. Apply recommended fluid to O-ring. Install flow control valve spring, flow control valve and O-ring to body assembly, and then tighten connector bolt to the specified torque.
    CAUTION:

    Never reuse O-ring.

  13. Apply recommended fluid to O-ring, and then install O-ring to body assembly.
    CAUTION:

    Never reuse O-ring.

  14. Install suction pipe and bracket to body assembly.
  15. Perform inspection after assembly. Refer to INSPECTION .