LEMON Manuals: Even more car manuals for everyone
Home >> Infiniti >> 2017 >> QX80 Base, AWD >> Repair and Diagnosis >> External Pages >> Different car >> Section 20 (Power Control System (Power Distribution System) (DTC/Circuit Diagnosis)) >> DTC/Circuit Diagnosis >> DTC B2616: Ignition Relay Circuit >> Component Inspection >> Diagnostic Test

Diagnostic Test

WARNING: This page is about a different car, the 2016 Infiniti QX50. However, it is still accessible from the selected car via links, so may be relevant.

  1. CHECK IGNITION RELAY

    1. Turn ignition switch OFF.
    2. Remove ignition relay.
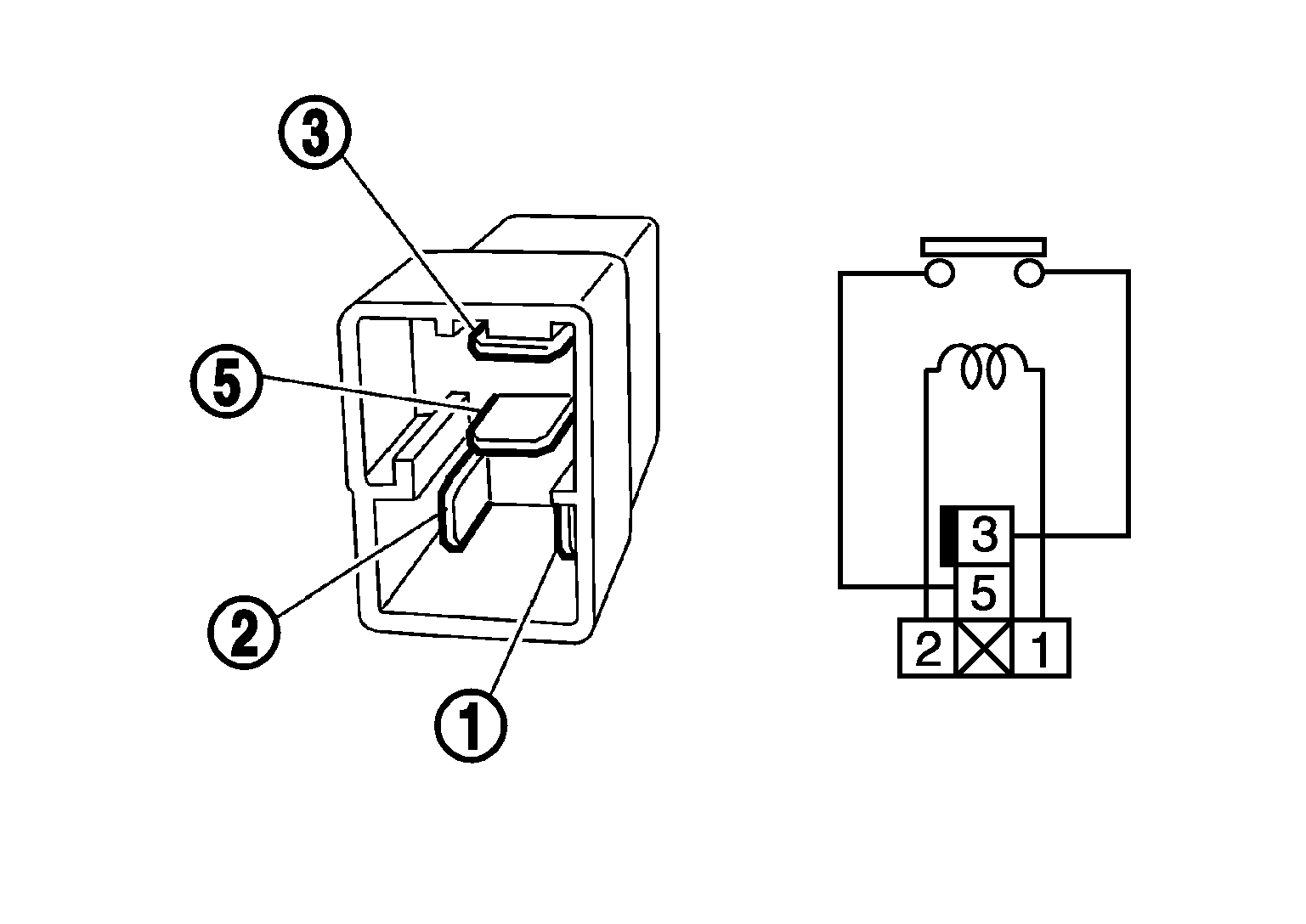
    3. Check the continuity between ignition relay terminals.
      G04127581Courtesy of NISSAN NORTH AMERICA, INC.
      Terminals Condition Continuity
      3 and 5 12 V direct current supply between terminals 1 and 2 Existed
      No current supply Not existed

    Is the inspection result normal?

    YES 

    INSPECTION END

    NO 

    Replace Ignition relay.