LEMON Manuals: Even more car manuals for everyone
Home >> Infiniti >> 2017 >> QX70 AWD >> Repair and Diagnosis >> Steering >> Steering Column >> Steering System >> Removal And Installation >> Steering Gear And Linkage >> Disassembly And Assembly >> Assembly

Disassembly And Assembly: Assembly

  1. Heat rack Teflon ring to approximately 40°C (104°F) with a dryer. Assemble it to mounting groove of rack assembly.
    CAUTION:

    Never reuse rack Teflon ring.

    G04076763Courtesy of NISSAN NORTH AMERICA, INC.
  2. Install the Teflon ring correcting tool [SST: KV48104400 (-)] from tooth side of rack to fit rack Teflon ring on rack. Compress the ring with tool.
    G04076764Courtesy of NISSAN NORTH AMERICA, INC.
  3. Apply recommended grease to rack oil seal, and then install rack oil seal in the following procedure. Then assemble rack assembly to gear housing assembly.
    G04076765Courtesy of NISSAN NORTH AMERICA, INC.
    CAUTION:
    • Install rack oil seal in a direction so that the lip of inner oil seal and the lip of outer oil seal face each other.
    • Never damage retainer sliding surface by rack assembly. Replace gear housing assembly if damaged.
    • Never damage gear housing assembly inner wall by rack assembly. Gear housing assembly must be replaced if damaged because it may cause fluid leakage.
    • Never reuse rack oil seal.
    1. Wrap an OHP sheet [approximately 70 mm (2.76 in) * 100 mm (3.94 in)]. Around rack assembly teeth to avoid damaging rack oil seal (inner). Install rack oil seal over sheet. Then, pull OHP sheet along with rack oil seal until they pass rack assembly teeth, and remove OHP sheet.
      G04076766Courtesy of NISSAN NORTH AMERICA, INC.
    2. Insert rack oil seal (inner) into rack assembly piston (rack Teflon ring).
      G05984475Courtesy of NISSAN NORTH AMERICA, INC.
    3. Push retainer to adjusting screw side by hand, and move the rack assembly inside the gear housing assembly so that the rack oil seal (inner) can be pressed against the gear housing assembly.
    4. Wrap an OHP sheet [approximately 70 mm (2.76 in) * 100 mm (3.94 in)]. Around the edge to avoid damaging rack oil seal (outer). Install rack oil seal over sheet. Then, pull oil seal along with OHP sheet until they pass rack edge, and remove OHP sheet.
      G04076768Courtesy of NISSAN NORTH AMERICA, INC.
    5. Install end cover assembly to rack edge, and move rack oil seal (outer) until it contacts with gear housing assembly.
  4. Tighten end cover assembly to specified torque using a 36 mm (1.42 in) open head (commercial service tool).
    G04076757Courtesy of NISSAN NORTH AMERICA, INC.
    CAUTION:

    Never damage rack assembly. Replace it if damaged because it may cause fluid leakage.

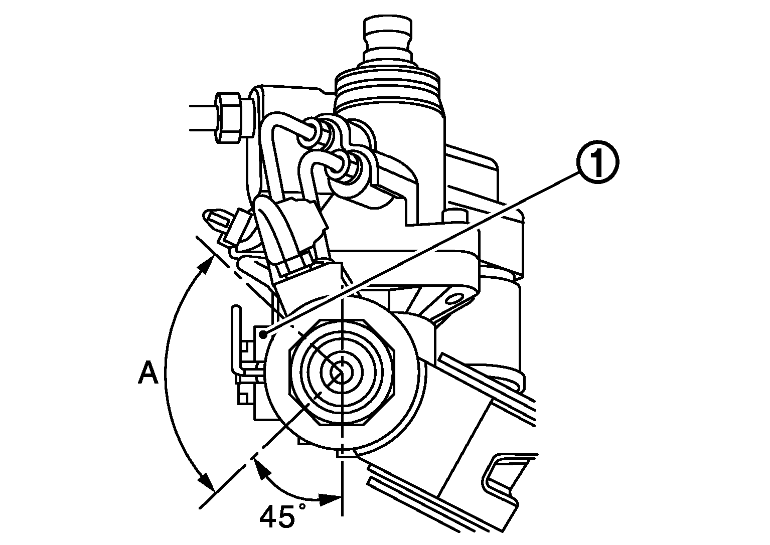
  5. Crimp gear housing assembly at one point using a punch as shown in the figure below, so as to prevent end cover assembly from getting loose after tightening end cover assembly.
    G04129038Courtesy of NISSAN NORTH AMERICA, INC.
  6. Apply recommended fluid to O-ring, and then install O-ring to gear housing assembly.
  7. Install gear-sub assembly to gear housing assembly.
    CAUTION:

    In order to protect oil seal from any damage, insert gear-sub assembly straightly.

  8. Install inner socket to gear housing assembly with the following procedure.
    1. Apply recommended sealant into the thread of inner socket.

      Use Genuine Silicone RTV or equivalent. 

  9. Screw inner socket into rack part and tighten at the specified torque.
  10. Decide on the neutral position of the rack stroke (L).
    G04144858Courtesy of NISSAN NORTH AMERICA, INC.
    Standard
    Rack stroke neutral position (L) : Refer to RACK STROKE .
  11. Install rear cover cap to gear sub-assembly.
    CAUTION:

    Make sure that the projection of rear cover cap is aligned with the marking position of gear housing assembly.

  12. Apply recommended thread sealant to the thread of adjusting screw (2 turns thread), and then screw in the adjusting screw until it reaches height "H" from gear housing assembly measured before disassembling.
    G04144842Courtesy of NISSAN NORTH AMERICA, INC.

    Use Genuine High Performance Thread Sealant or equivalent. 

  13. Move rack assembly 10 strokes throughout the full stroke so that the parts can fit with each other.
  14. Adjust pinion rotating torque with the following procedure.
    1. Measure pinion rotating torque within +-180° of neutral position of the rack assembly using Tools. Stop the gear at the point where highest torque is read.
      G04129042Courtesy of NISSAN NORTH AMERICA, INC.
      A: Preload gauge [SST: ST3127S000 (J-25765-A)]
      B: Preload adapter [SST: KV48103400 (-)]
    2. Loosen adjusting screw and retighten to 5.4 N•m (0.55 kg - m, 48 in - lb), and then loosen by 20 to 40°.
    3. Measure pinion rotating torque using tools to make sure that the measured value is within the standard. Readjust if the value is outside the standard. Replace steering gear assembly, if the value is outside the standard after readjusting, or adjusting screw rotating torque is 5 N•m (0.51 kg-m, 44 in-lb) or less.
      G04144861Courtesy of NISSAN NORTH AMERICA, INC.
      Pinion rotating torque
        Around neutral position (within +- 100°) average "A" : 2.27 - 3.05 N•m (0.24 - 0.31 kg-m, 20 - 26 in-lb)
        Maximum variation "B" : 0.98 N•m (0.10 kg - m, 9.0 in - lb)
    4. Apply recommended sealant to inner socket and turn pinion fully to left with inner socket installed to gear housing assembly.
    5. Install dial gauge at 5 mm (0.20 in) (L) from the edge of gear housing assembly (1), and tooth point.
      G05224425Courtesy of NISSAN NORTH AMERICA, INC.
    6. Measure vertical movement of rack assembly when pinion is turned clockwise with torque of 19.6 N•m (2.0 kg - m, 14 ft - lb). Readjust adjusting screw angle if the measured value is outside the standard.
      Vertical movement : 0.265 mm (0.0104 in)
      • If reading is outside of the specification, readjust screw angle with adjusting screw.
        CAUTION:
        • If reading is still outside of specification, or if the rotating torque of adjusting screw is less than 5 N•m (0.51 kg-m, 44 in-lb), replace steering gear assembly.
        • Never turn adjusting screw more than twice.
        • Replace steering gear assembly when adjusting screw is removed or turned more than twice.
  15. Install large end of boot to gear housing assembly.
    G04122122Courtesy of NISSAN NORTH AMERICA, INC.
  16. Install small end of boot to inner socket boot mounting groove.
  17. Install boot clamp to boot small end.
  18. Install boot clamp to the large side of boot with the following procedure.
    CAUTION:

    Never reuse boot clamp.

    1. Tighten large side of boot with boot clamp (stainless wire).
      G04076776Courtesy of NISSAN NORTH AMERICA, INC.
      Wire length (L) : 370 mm (14.57 in)
    2. Wrap clamp around boot groove for two turns. Insert a flat-bladed screwdriver in loops on both ends of wire. Twist 4 to 4.5 turns while pulling them with force of approximately 98 N (10 kg, 22 lb).
    3. Twist boot clamp as shown. Pay attention to relationship between winding and twisting directions.
      G04076777Courtesy of NISSAN NORTH AMERICA, INC.
    4. Twisted area (A) of clamp is in the adjusting screw side (1) as shown in the figure, below (to prevent contact with other parts).
      G06572569Courtesy of NISSAN NORTH AMERICA, INC.
      A : 90°
    5. Bent cut end of the wire toward rack axial as shown in the figure below, after twisting the wire 4 to 4.5 turns so that cut end does not contact with boot.
      G04129048Courtesy of NISSAN NORTH AMERICA, INC.
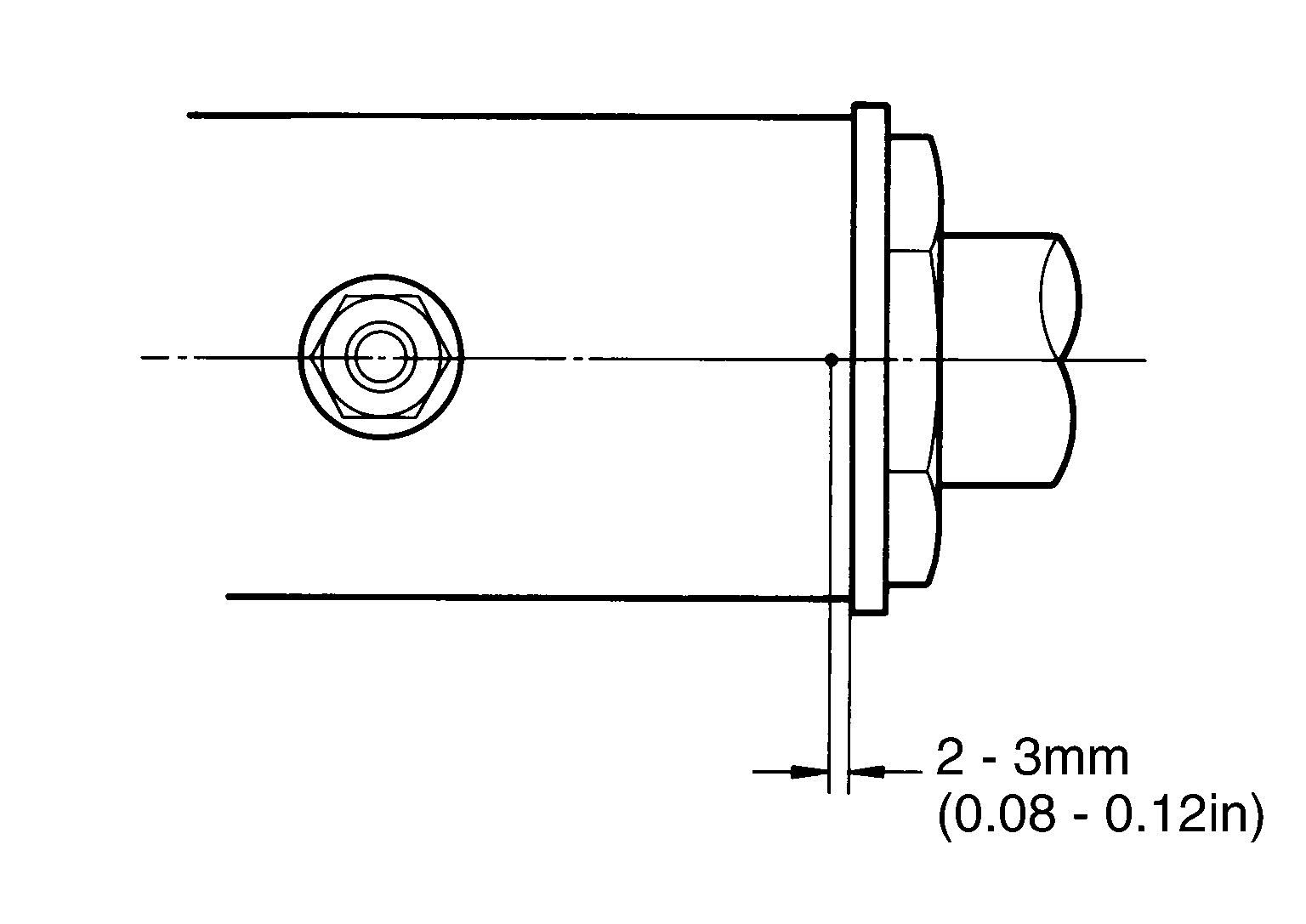
      CAUTION:

      Keep gap from cylinder tube 5 mm (0.20 in) or more.

  19. Install cylinder tubes to gear housing assembly.
  20. Install low pressure piping.
  21. Adjust inner socket to standard length (L), and then tighten lock nut (1) to the specified torque. Check length again after tightening lock nut.
    G07052996Courtesy of NISSAN NORTH AMERICA, INC.
    Standard
    Inner socket length (L) : Refer to INNER SOCKET LENGTH .
    CAUTION:

    Adjust toe-in after this procedure. The length achieved after toe-in adjustment is not necessary the above value.