LEMON Manuals: Even more car manuals for everyone
Home >> Infiniti >> 2017 >> Q60 Base, RWD >> Repair and Diagnosis >> Steering >> Steering Control Systems >> Steering Control System (Direct Adaptive Steering) (Basic Inspection And DTCS) >> Basic Inspection >> DAST Calibration (Mode 1) >> Description

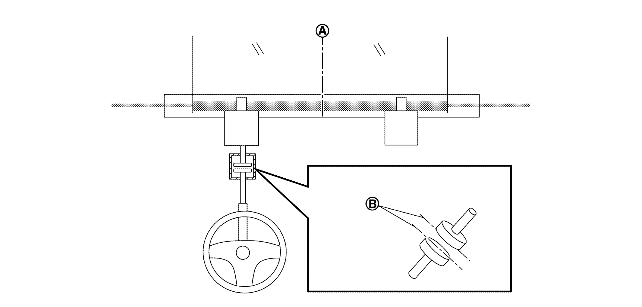
DAST Calibration (Mode 1): Description

"DAST CALIBRATION (MODE1) " is a function to learn the neutral position of steering rack MARU-A-W and the clutch phase position MARU-B-W by moving the steering rack automatically. Refer to WORK PROCEDURE .

G09159423Courtesy of NISSAN NORTH AMERICA, INC.