LEMON Manuals: Even more car manuals for everyone
Home >> Infiniti >> 2017 >> Q60 Base, AWD >> Repair and Diagnosis >> Steering >> Steering Column >> Steering System (Direct Adaptive Steering) >> Periodic Maintenance >> Toe-In Adjustment >> Except Alignment Tester >> Inspection And Adjustment

Inspection And Adjustment

WARNING:

Never move the vehicle during "DAST CALIBRATION (MODE1) " because the steering gear is held in neutral position until ignition switch is turned OFF

CAUTION:
  • Be careful for the moving parts, steering wheel and front wheels are steered automatically when start "DAST CALIBRATION (MODE1) " and "DAST CALIBRATION (MODE2) ".
  • Do not rotate road wheels during the "DAST CALIBRATION (MODE1) " and "DAST CALIBRATION (MODE2) " because the system is detected the vehicle running.

  1. PREPARATION

    1. Set the front wheel on the turn table.
      NOTE:

      Do not lift up the vehicle during "DAST CALIBRATION (MODE1) ".

    2. Connect the battery charger to protect the 12V battery.
      NOTE:

      Much electricity is used in "DAST CALIBRATION (MODE1) ".

    3. Place the tilt to the highest level.

    GO TO STEP 2  .

  2. DAST CALIBRATION (MODE1) [CLUTCH PHASE CALCULATION]

    G-20With CONSULT 

    1. Connect CONSULT to the vehicle.
    2. Turn ignition switch ON.
      CAUTION:

      Never start the engine.

    3. On the CONSULT screen, select "EPS/DAST 3">>"WORK SUPPORT">>"DAST CALIBRATION (MODE1) ". Refer to DESCRIPTION .
      CAUTION:

      Be careful for the moving parts, steering wheel and front wheels are steered automatically when start "DAST CALIBRATION (MODE1) ".

    4. Turn ignition switch OFF.
      CAUTION:

      Be sure to perform this step.

    GO TO STEP 3  .

  3. ECU CONFIGURATION

    G-20With CONSULT 

    1. Turn ignition switch ON.
      CAUTION:

      Never start the engine.

    2. Perform configuration for steering force control module. Refer to WORK PROCEDURE .
      NOTE:

      The replacement of control module included in configuration is not required.

    3. Perform configuration for steering angle main control module. Refer to WORK PROCEDURE .
      NOTE:

      The replacement of control module included in configuration is not required.

    4. Perform configuration for steering angle sub control module. Refer to WORK PROCEDURE .
      NOTE:

      The replacement of control module included in configuration is not required.

    5. Check that EPS warning lamp is turned ON.
      NOTE:

      Direct adaptive steering transfers to EPS mode.

    6. Turn ignition switch OFF.
    7. Disconnect the battery charger from the 12V battery.
    8. Lift down the vehicle and disconnect CONSULT from the vehicle.

    GO TO STEP 4  .

  4. TOE-IN ADJUSTMENT

    1. Adjust toe-in according to the specified value.
      Toe-in : Refer to WHEEL ALIGNMENT (2WD) or WHEEL ALIGNMENT (AWD).
      CAUTION:
      • Loosen the lock nut of steering outer socket and adjust inner socket length.
      • Always evenly adjust both toe-in alternately and adjust the difference between the left and right to the standard.
      • Always fix the steering inner socket when tightening the steering outer socket.
    2. Drive the vehicle straightly and then stop the vehicle.
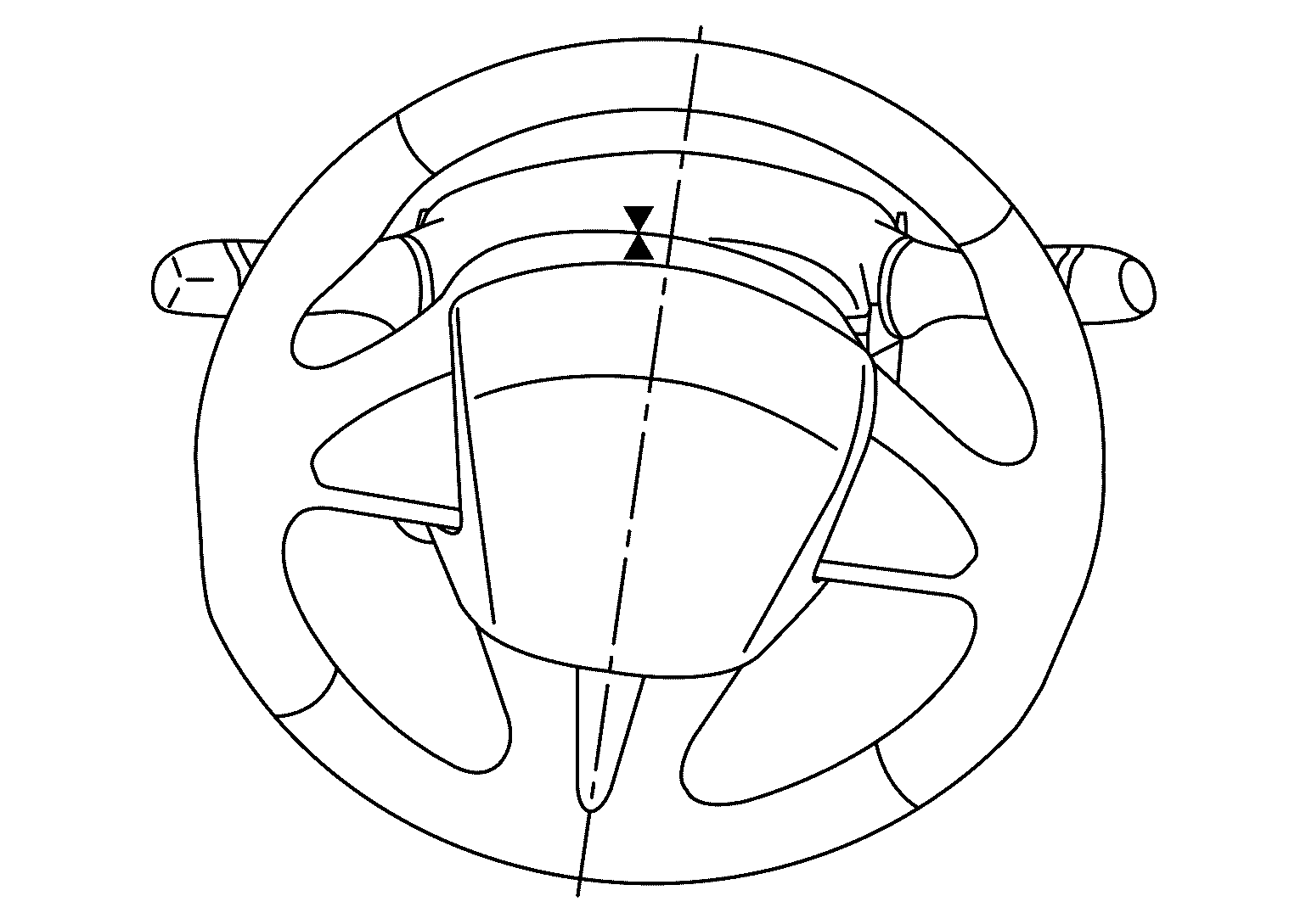
    3. Place the matching mark (DTRIF ) on the steering wheel and steering column cover at the condition that the vehicle goes straight.
      GNSJSGIA1585ZZ-585Courtesy of NISSAN NORTH AMERICA, INC.

    GO TO STEP 5  .

  5. PREPARATION OF OFF-CENTER CALCULATION

    1. Lift up the vehicle.
    2. Align matching marks (DTRIF ) (steering wheel and steering column cover) to turn the steering wheel to the position marked in Step 4.
      GNSJSGIA1585ZZ-585Courtesy of NISSAN NORTH AMERICA, INC.
    3. Place the matching mark (DTRIF ) on the steering lower shaft and steering gear.
      GNSDB113116Courtesy of NISSAN NORTH AMERICA, INC.
    4. Connect the battery charger to protect the 12V battery.
      NOTE:

      Much electricity is used in "DAST CALIBRATION (MODE1/MODE2) ".

    5. Lift down the vehicle and then set the front wheel on the turn table.
      NOTE:

      Do not lift up the vehicle during "DAST CALIBRATION (MODE1/MODE2) ".

    GO TO STEP 6  .

  6. DAST CALIBRATION (MODE1) [STEERING RACK NEUTRAL POSITION LEARNING]

    G-20With CONSULT 

    1. Turn ignition switch ON.
      CAUTION:

      Never start the engine.

    2. On the CONSULT screen, select "EPS/DAST 3">>"WORK SUPPORT">>"DAST CALIBRATION (MODE1) ". Refer to DESCRIPTION .
      CAUTION:

      Be careful for the moving parts, steering wheel and front wheels are steered automatically when start "DAST CALIBRATION (MODE1) ".

    GO TO STEP 7  .

  7. ADJUSTMENT OF STEERING ANGLE SENSOR NEUTRAL POSITION

    G-20With CONSULT 

    1. On the CONSULT screen, select "ABS">>"WORK SUPPORT">>"ST ANGLE SENSOR ADJUSTMENT".
    2. Touch START.
      CAUTION:

      Never touch steering wheel while adjusting steering angle sensor.

    3. After approx. 10 seconds, select "END".
    4. Turn ignition switch OFF, and then turn it ON again.
      CAUTION:
      • Never start the engine.
      • Be sure to perform this step.

    GO TO STEP 8  .

  8. PERFORM SELF-DIAGNOSIS

    G-20With CONSULT 

    1. Turn ignition switch OFF and wait at least 10 seconds.
    2. Start the engine.
      CAUTION:

      Never drive the vehicle.

    3. Perform self-diagnosis for "EPS/DAST 3", "DAST 1" and "DAST 2".

    Is any DTC detected?

    YES 

    Perform trouble diagnosis for the detected DTC. Refer to DTC INDEX (EPS/DAST 3), DTC INDEX (DAST 1), DTC INDEX (DAST 2).

    NO 

    GO TO STEP 9  .

  9. LEARNING VALUE CONFIRMATION

    G-20With CONSULT 

    1. Turn the ignition switch OFF to ON.
      CAUTION:

      Never start the engine.

    2. On the CONSULT screen, select "EPS/DAST 3">>"DATA MONITOR">>"ANGLE 1", and then and then check the value.
      Monitor item Standard value
      ANGLE 1 - 4.4 ≤ ANGLE 1 ≤ 4.4

    Is the confirmation result normal?

    YES 

    GO TO STEP 10  .

    NO 

    Slightly lower the tilt position, and then re-perform "DAST CALIBRATION (MODE1) ". GO TO STEP 6  .

  10. DAST CALIBRATION (MODE2) [OFF-CENTER CALCULATION]

    CAUTION:

    Never start the engine.

    G-20With CONSULT 

    1. On the CONSULT screen, select "EPS/DAST 3">>"WORK SUPPORT">>"DAST CALIBRATION (MODE2) ".
    2. Check the following condition, and then touch the "START".
      • Ignition switch is ON. (Engine is not started.)
      • Battery charger is connected to 12V battery.
      • The front wheel is set on the turn table.
        NOTE:

        Do not lift up the vehicle during "DAST CALIBRATION (MODE 2) ".

    3. Touch "START" to start the automatic steer.
      CAUTION:

      Be careful for the moving parts, steering wheel and front wheels are steered automatically when touch "START".

      NOTE:

      After finishing the automatic steering (After steering right and left 1.5 round trip, it returns to neutral position), steering clutch is released.

    4. Position the steering wheel with the visually neutral position and then touch "START".
      GNSJSGIA1587ZZ-587Courtesy of NISSAN NORTH AMERICA, INC.
      CAUTION:

      Since the force feedback of steering becomes smaller after the completion of auto steering, take good care for turning the steering. Also, do not turn the steering beyond 120 degrees.

    5. Align matching marks (DTRIF ) (steering lower shaft and steering gear) to turn the steering wheel to the position marked in Step 5, and then touch "START".
      GNSDB113116Courtesy of NISSAN NORTH AMERICA, INC.
    6. Record the displayed value of "off-center", and then touch "END".

    GO TO STEP 11  .

  11. STEERING RACK OFF-CENTER ADJUSTMENT

    1. Adjust the off-center according to the off-center value calculated by "DAST CALIBRATION (MODE2) ".
      • Positive value: Turn the inner socket to the ARROW direction (Road wheel is moving to the left).
      • Negative value: Turn the inner socket to the ARROWF direction (Road wheel is moving to the right).
        GNSJSGIA1363ZZ-363Courtesy of NISSAN NORTH AMERICA, INC.
        CAUTION:
        • Loosen the lock nut of steering outer socket and adjust inner socket length.
        • Always evenly adjust both toe-in alternately and adjust the difference between the left and right to the standard.
        • Always fix the steering inner socket when tightening the steering outer socket.
    2. Turn ignition switch OFF.
      CAUTION:

      Be sure to perform this step.

    GO TO STEP 12  .

  12. CHECK INNER SOCKET LENGTH

    1. Check that inner socket length is in the specified value. Refer to DISASSEMBLY AND ASSEMBLY .

    Is the inspection result normal?

    YES 

    GO TO STEP 13  .

    NO 

    GO TO STEP 1  .

  13. STEERING ANGLE INSPECTION

    1. Lift down the vehicle.
    2. Start the engine.
    3. Fully steer right and left. And check that the knock sound does not exist from the steering rack.
      CAUTION:

      Never confuse the knock sound with the clutch sound that is heard from nearby of steering column.

    Is the inspection result normal?

    YES 

    GO TO STEP 14  .

    NO 

    GO TO STEP 16  .

  14. TOE-IN INSPECTION

    1. Check toe-in within the specified value.
      Toe-in : Refer to WHEEL ALIGNMENT (2WD) or WHEEL ALIGNMENT (AWD).

    Is the inspection result normal?

    YES 

    GO TO STEP 15  .

    NO 

    GO TO STEP 1  .

  15. PERFORM SELF-DIAGNOSIS

    G-20With CONSULT 

    1. Turn ignition switch OFF and wait at least 10 seconds.
    2. Start the engine.
      CAUTION:

      Never drive the vehicle.

    3. Perform self-diagnosis for "EPS/DAST 3", "DAST 1" and "DAST 2".

    Is any DTC detected?

    YES 

    Perform trouble diagnosis for the detected DTC. Refer to DTC INDEX (EPS/DAST 3), DTC INDEX (DAST 1), DTC INDEX (DAST 2).

    NO 

    WORK END

  16. CHECK SUSPENSION AND STEERING PARTS INSTALLATION CONDITION

    1. Check suspension and steering parts installation condition.

    Is the inspection result normal?

    YES 

    GO TO STEP 5 

    NO 

    Install suspension and steering parts properly. Then perform the toe-in adjustment again. GO TO STEP 1  .