LEMON Manuals: Even more car manuals for everyone
Home >> Infiniti >> 2015 >> Q50 Base, AWD >> Repair and Diagnosis >> Steering >> Steering Control Systems >> Steering Control System (Vehicle Speed Sensitive P/S) (Exc Hybrid) >> System Description >> System >> Electronically Controlled Power Steering System >> Circuit Diagram

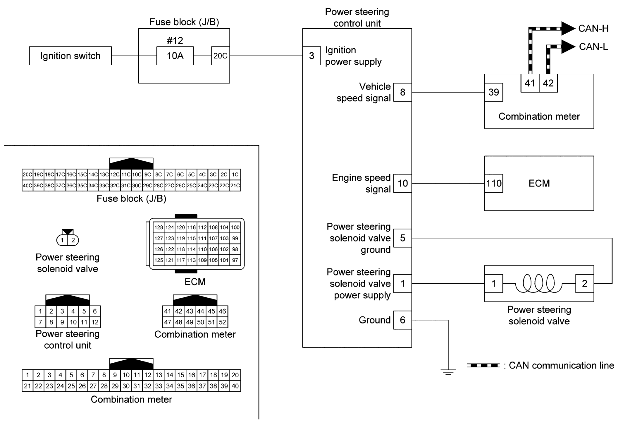
Circuit Diagram

Fig 1: Power Steering Control Unit Circuit Diagram
GNSJSGIA1663GB-663Courtesy of NISSAN NORTH AMERICA, INC.