LEMON Manuals: Even more car manuals for everyone
Home >> Infiniti >> 2015 >> Q40 AWD >> Repair and Diagnosis >> Body & Frame >> Windows >> Power Window Control System >> System Description >> Power Window System >> System Diagram

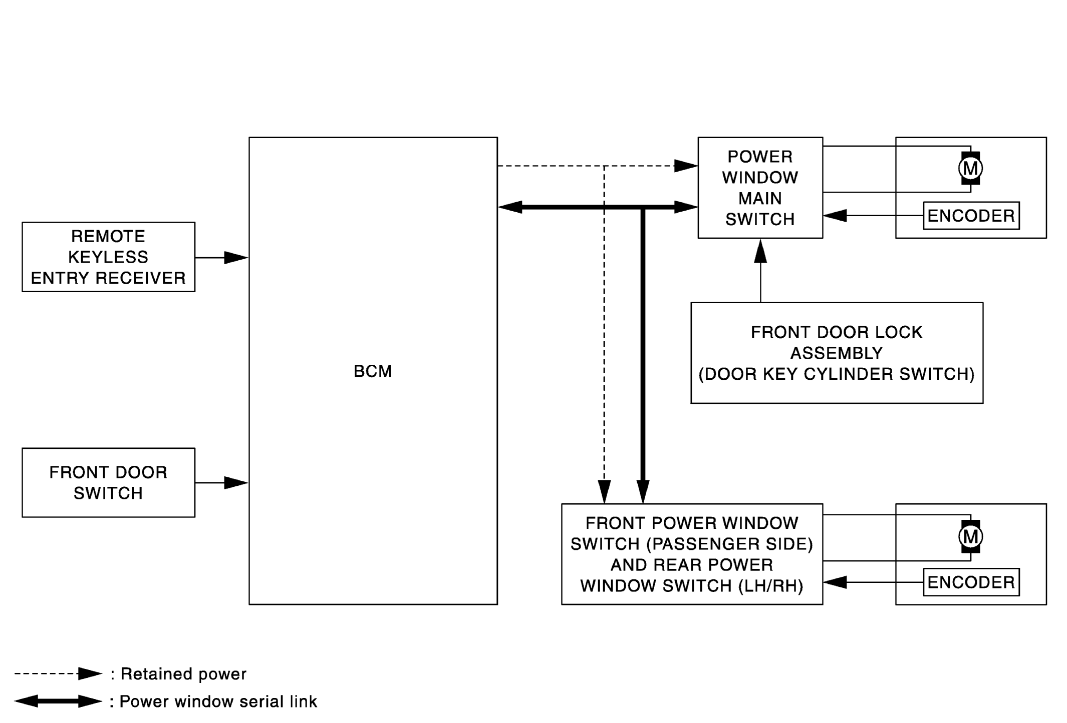
System Diagram

Fig 1: Power Window System Diagram
G06324241Courtesy of NISSAN NORTH AMERICA, INC.